Текст книги "Я вам не Сталин… Я хуже! Часть вторая: Генеральный апгрейд (СИ)"
Автор книги: Сергей Зеленин
Жанры:
Альтернативная история
,сообщить о нарушении
Текущая страница: 34 (всего у книги 73 страниц)
– Чем у нас вообще занималось НКВД? Советские граждане всякие кошмары про вас рассказывают, зарубежная пресса – хрен знает что пишет, волоса встают дыбом… А что я вижу на деле?
Набрав в лёгкие воздуху побольше, выкрикиваю:
– Овцы! Терпилы! Пассивные гомосексуалисты!!!
Тот было что-то, а мне уже вожжи «под мантию» попали:
– МОЛЧАТЬ!!!
– Почему эти граждане до сих пор не расстреляны? Почему они даже на свободе, а не в подвалах Лубянки – где бы им кирзовыми сапогами вправляли мозги на место?!
Тот, краснея бычарой и оттого напоминая уже не африканского горилла – а небезызвестного критского Минотавра, оправдывается:
– Товарищ Сталин! Лишь недавно по вашему указанию создана научно-техническая экспертиза при «ГПЭО СНК СССР». А до этого в таких вопросах, НКВД полагалось на мнение компетентных товарищей, а те…
Раздувая ноздри, я:
– Списочек этих «компетентных товарищей» мне! Чтоб этим троим – не было скучно возле расстрельной стенки стоять!
Услышав, Раушенбах хватается за соломинку:
– Товарищ Сталин!
Рявкаю:
– Я тебе не товарищ, гнида!
Дрязгов, бледнее чем Луна над кладбищем:
– Мы не утверждаем темы и не выделяем на них средства из бюджета. Это делают вышестоящие инстанции.
Испепеляя глазами, понимающе:
– Вы сочиняете темы, «вышестоящие инстанции» – пилят бюджет и все при деле, все довольны. Конкретно, кто всё это одобряет?
Переведя взгляд на Горемыкина:
– НИИ-3 входит в состав Наркомата боеприпасов. Значит Вы, товариччч?
Тот, приложив ладонь к сердцу:
– Вы же знаете, товарищ Сталин: я совсем недавно на этой должности и отвечать за деяния своих предшественников не могу.
Кобулов твёрдо:
– Мы разберёмся, товарищ Сталин, я обещаю.
Уже успокаиваясь, усаживаюсь на место:
– А что там «разбираться»? Увидел подпись и «под микитки» гражданина. Впрочем, это дело не ваше – а товарища Влодзимирского и его «Главного управления безопасности» НКГБ. А Вы лишь должны дать должный сигнал.
Успокоившись окончательно, задумываюсь:
Виновные в том, что на эту кислотно-керосиновую хрень потрачены немалые народные денюжки будут наказаны и наказаны предельно сурово.
Но решит ли это проблему с летающими над головами «всевидящими очами Фюрера»?
Нет!
***
Так, так, так…
Начнём с самого начала: нужна управляемая ракета класса «земля-воздух» или ракетный перехватчик.
А лучше и то и, другое и много!
С ракетным перехватчиком не обломится как я понял, остаётся управляемая ракета класса «земля-воздух».
В принципе, ничего страшного: та же планирующая авиабомба с телеуправлением – токмо летящая не вниз, а вверх. Точность, априори будет не ахти: поэтому нужна мощная боевая – дающая далеко разлетающиеся тяжёлые осколки и готовые поражающие элементы в виде стержней, кубов или шариков.
Так чем можно закинуть управляемую боеголовку весом килограммов в двести пятьдесят, на высоту в 12-15 километров?
Только ракетой, мать её етти!
Не катапультой же, в самом деле…
Вопрос только: какой ракетой?
С двухкомпонентным (топливо плюс окислитель) ракетным двигателем не пойдёт: опасно, геморрно и долго готовить к старту.
Смотрю на Костикова:
«Может она быть твёрдотопливной? Нет! Современные мне ракеты (даже от «Градов») имели в качестве топлива не нитроглицериновый порох, а… А что-то совсем иное, об чём и понятия не имею».
Остаётся воздушный реактивный двигатель.
Среди них тоже – видов до хренища и самый перспективой – турбореактивный, на котором в основном летает современная мне авиация.
И, вот снова бесящий меня вопрос: почему на всякую херню выделяются средства из бюджета, а на что-то стоящее – нет?
Ладно, Влодзимирский со товарищи разберутся…
В СССР, воздушным турбо-реактивным двигателем пять лет до войны начал заниматься молодой инженер Архип Михайлович Люлька. В Ленинграде, на Кировском заводе под его руководством успешно велись работы и, к осени 41-го был почти готов и проходил испытания стендовый экземпляр двигателя «РД-1».
После начала Блокады КБ эвакуировали на Урал. Часть чертежей и документации на РД-1 Люльке удалось забрать с собой, но большую часть документации и задел по деталям образцов «РД-1» закопан прямо на территории Кировского завода.
После того как в 42-м году Советскому Верховному Главнокомандованию стало известно об испытаниях в Германии первых реактивных истребителей, по личному указу Сталина Люлька летит в осажденный Ленинград, чтобы найти чертежи и агрегаты своего опытного двигателя. Затем по «Дороге жизни», его и «клад» его вывозят, чтобы возобновить работу над первым советским турбореактивным двигателем.
Однако, до окончания Великой Отечественной войны, советский турбореактивный двигатель не поспел.
В «текущей реальности» всё будет несколько иначе.
На следующий неделе в Кремле состоится совещание по двигателестроению, где создание авиационного турбореактивного двигателя мной будет объявлено приоритетным в советском моторостроении. А в распоряжение Архипа Михайловича Люльки – будет предоставлен завод и лучшие инженеры-двигателисты СССР.
Но я – реалист до мозга костей и понимаю, что серийного турбореактивного двигателя – можно ждать лишь года через два-три и, это ещё слишком оптимистично. Да и слишком дорог он будет для столь одноразового изделия, как ракета класса «воздух-воздух».
Остаётся что?
Имеющий предельно простое устройство прямоточный воздушный реактивный двигатель (ПВРД), конструктивно состоящий из камеры сгорания, с топливными форсунками и свечой зажигания. Однако, основным его недостатком является то, что он способен работать только на аппарате – уже имеющим скорость. И чем эта скорость выше – тем эффективнее работает ПВРД.
Например, до войны в СССР «прямоточку» ставили на биплан «И-15» и получили прирост скорости в 21 километр в час. Уже во время войны – на «Як-7», ускорив того уже на целых 53 «км».
Смешно, да?
Чтоб получить околозвук, ПВРД нужно установить на платформу – способную предварительно разогнаться до 700 километров в час.
А где такой взять?
Но опять же: даже если такой самолёт с поршневым мотором и пропеллером и найдётся в 41-м году – при увеличении скорости, винт будет уже тормозить всю конструкцию в целом…
В общем, нужно какое-то иное решение.
И здесь я вспомнил про ещё одно германское «чудо-оружие»…
***
Конечно же, самая известная и пожалуй – наиболее успешная «Вундервафля» Третьего Рейха, это выпущенные в количестве 22 000 штук крылатые ракеты «Fieseler Fi-103». Или как на наших необъятных просторах больше привыкли – «Фау-1».
Про них все знают – кто имеет глаза, уши и немного свободного места на «жестяке» под черепной коробкой… Но мало кто в курсе, что из этой «вундерваффли» – впавшие в отчаяние «сумрачные германские гении», пытались запилить следующую: бюджетный самолет-истребитель «Райхенберг-IV».
Но эта затея лопнула, как лопнул бы обычный презерватив – который пытаются раздуть до размера воздушного шара братьев Монгольфье.
И практически никто из моих современников, не знает продолжение этой истории.
После войны, перебравшаяся в Латинскую Америку группа германских инженеров предложила Аргентинскому правительству свои услуги и вскоре на полигоне где-то на бескрайних аргентинских пампасов (где, среди бизонов бегают тюлени), начались испытания тактической ракеты «PA-Х4» и зенитной ракеты малой дальности «AP-X4»…
По сути это была вся та же «старая добрая» «Фау-1», только с разгонными сбрасываемыми ускорителями вместо громоздких катапульт.
Если кто-то мне скажет: «Да, что там эти латинос! Дикари-с», – тот будет не прав и, причём от слова «абсолютно».
С «Фау-1» в своё время возились и Соединенные Штаты, запились из трофея крылатую ракету «Republic-Ford JB-2», и экспериментальную бомбу с телевизионным наведением «JB-4».
Но самых впечатляющих успехов добились…
Кто бы вы думали?
…Правильно: наши соотечественники!
Первый образец «Фау-1» был добыт в Польше и доставлен в Москву ещё до начала массированных обстрелов этими крылатыми ракетами Лондона. Тотчас на авиазаводе «№51» было создано конструкторское бюро под руководством Владимира Челомея и буквально в течении нескольких лет, на вооружение Советской армии, авиации и флота поступили крылатые авиационные ракеты «10Х», «14Х» и «16Х», наземные «10ХН» и морского (точнее – подводного) базирования «Ласточка».
Конечно же, как и их немецко-фашистская прародительница, эти «самолёты-снаряды» – были далеко не айс.
Дальность даже двухмоторных «10ХН» была всего 240 вёрст, а в ходе испытаний 1952-го года – по квадрату со сторонами в двадцать километров, из пятнадцати ракет попали всего одиннадцать…
Но они дали мощный толчок в нужном направлении и следующее изделие группы Челомея – крылатая ракета «П-5», представляет собой совершенно новый и качественный скачок в развитии отечественных крылатых ракет.
Вот я сижу в кабинете Директора «НИИ-3» и думаю-размышляю:
А почему бы не дать этот «мощный толчок в нужном направлении», раньше на три года?
Ведь Маркс его знает, как события повернутся в связи с моим вмешательством в ход «реальной истории»… Возможно, Вторая мировая война с Германией – плавно перерастёт в Третью с американцами. Да не в Холодную – а в самую настоящую «горячую».
Поэтому «чудо-оружие» надо пилить уже прямо сейчас и, пилить не покладая рук, а не когда меня – как Гитлера «в реале», жареный петух меж ягодиц клюнет.
Конечно же, возможность обстреливать «Логово фашистского зверя» крылатыми ракетами с ничтожной точностью, меня интересовала в последнюю очередь. У меня были на уме другие приоритеты. Германцы, когда нужда заставила, пытались из крылатой ракеты запилить истребитель-перехватчик.
Я же сделаю всё с точностью наоборот: сперва – реактивный перехватчик, затем на его базе зенитную «теле-ракету», а уже потом – крылатую противокорабельную ракету с телеуправлением.
***
Однако стоящие передо мной инженеры – двигателисты и им надо ставить более узкую задачу. Планер перехватчика разработает другое узкоспециализированное КБ – авиационное и, я даже уже примерно догадываюсь – какое именно.
Чем славен «Fieseler Fi-103», или если по-русски – «Фау-1»?
Своим двигателем «Argus As-014» – являющимся ещё одним типом воздушного реактивного двигателя: «пульсирующий воздушно-реактивным двигателем» ( ПуВРД).
Коротко об истории…
Россия, как всегда, родина слонов: история ПуВРД якобы начинается с патента некого Телешова – в 1864-м году нарисовавшего прожект реактивного самолета аж на сотню пассажиров. Следующий изобретатель – Кароводин, в 1906-м году воплотил идею в металл, создав нечто «железное» с турбинной и нагнетанием от цилиндрового компрессора.
Всё может быть, но далее пошли уже не наши: Марконнет в 1908-м году, Касанова – в 1917-м… И, наконец Каденаси в 1933-м получил патент на усовершенствованный ПуВРД – который за счет инерции выхлопа, получал разряжение в цилиндре – как раз тот эффект что используется в ПуВРД, позволяя ему работать даже без встречного потока воздуха.
Воплотить же идею в жизнь удалось лишь Паулю Шмидту, который ещё в середине тридцатых предложил Министерству авиации Рейха «беспилотный бомбардировщик с импульсным реактивным двигателем», но проект не был утверждён, видимо из-за несерьёзности конструкции.
Не, ну действительно:
«…Двигатель был изготовлен из листа мягкой стали, свернутого в трубу. В передней части двигателя имелись пружинная заслонка-клапанная решетка (шторки), топливный впускной клапан и воспламенитель. Он мог работать на любом сорте нефтяного топлива и, после достижения минимальной рабочей температуры – вопреки популярной легенде мог работать на стартовой рампе.
Зажигание инициировалось свечой зажигания автомобильного типа, расположенной позади системы затвора, электричество к свече подавалось от портативного пускового устройства. Электрическая система зажигания была необходима только для запуска двигателя – на нём не было катушек или магнитопроводов для питания свечи зажигания после запуска.
Три воздушных сопла в передней части импульсной форсунки были подсоединены к внешнему источнику воздуха высокого давления, который использовался для запуска двигателя. Для запуска двигателя использовался ацетилен, и очень часто на конце выхлопной трубы удерживалась деревянная панель или что-то подобное, чтобы предотвратить рассеивание и утечку топлива до завершения зажигания.
Как только температура поднималась до минимального рабочего уровня, внешний воздушный шланг снимался и, подачу импульсной струи поддерживала только сама резонансная конструкция выхлопной трубы. Каждый цикл или импульс двигателя начинался с открытых заслонок; топливо впрыскивалось за ними и воспламенялось, и возникающее в результате расширение газов заставляло заслонки закрываться. Когда давление в двигателе после сгорания упало, заслонки снова открылись, и цикл повторился, примерно 45-55 раз в секунду (около 45 Гц) – что дало «V-1» прозвище «жужжащая бомба» из-за издаваемого им звука».
Какой германец, скажите, поведётся на подобный примитив?!
Им бы что-нибудь позабористее – типа расположенных в шахматном порядке и в три ряда, несущих катков подвески «Тигра».
Итак, конструкция простейшая – проще просто не бывает!
Топливо – любое!
На стенде в «Argus As-014» подавали даже воздушно-пыле-угольную смесь и он на ней прекрасно работал.
Поэтому когда конкретно приспичило, руководство Третьего Рейха схватилось за «Фау-1» – как утопающий за проплывающий мимо кусок говна, видя в этой хреновине массовое «оружие возмездия». Ведь стоимость такой крылатой ракеты составляла менее процента от стоимости двухмоторного бомбардировщики и, это ещё не считая самого дорогого…
Экипажа!
Именно из-за простоты и дешевизны, возможности запилить в гараже и буквально «из говна и палок» – к ПуВРД «до сих пор» приковано внимание многих больных на всю голову «самоделкиных» по всему миру. В «моё время» существует множество распространенных конструкций пульсирующих реактивных двигателей. Кроме классической конструкции – с клапанном, как у «Argus As-014» – весьма сложная в изготовлении бесклапанная «U-образная труба», «китайский двигатель» с конической камерой сгорания – к которой под углом приваривается небольшая входная труба, и «русский двигатель» – по конструкции напоминающий автомобильный глушитель.
Некоторые эти конструкции – прямо-таки шедевры инженерной мысли, особенно по соотношению масса-тяга…
Но за всё надо платить и за простоту в первую очередь!
Недостатков у ПуВРД много, но главный из них – удручающая неэкономичность. Из-за крайне низкой степени сжатия (1,2:1) топливо сгорает неэффективно и коэффициент полезного действия (КПД) не превышает жалких 1-2 процентов. У обыкновенного «моторчика с проперчиком», напомню – более двадцати.
Ну а мне то, выбирать особо нечего!
Да и особая продолжительность полёта не требуется: резко взлетел, шуганул «призрака» и сел.
Другой вопрос: двигатель «Argus As-014» давал «Фау-1» порядка 700-800 километров в час горизонтальной скорости…
Какова будет скороподъёмность перехватчика с таким двигателем? За сколько минут он достигнет 10-13 километров?
И вот здесь я вспомнил один случайно читанный в будущем патентчик69…
Правда, надо сперва кой-кого мотивировать.
***
Внимательно посмотрев на присутствующих:
– Товарищам Кобулову, Меркулову, Щетинкову, Раушенбаху и Дрязгову остаться, остальные пока свободны.
Когда остался наедине с вышеназванными товарищами (не считая генерала Косынкина и двух «прикреплённых», конечно), миролюбиво говорю инженерам:
– Присаживайтесь, в ногах правды нет.
Когда те уселись, положив руки на стол:
– Думаете, я не понимаете, для чего вы так упорно трудитесь над ракетными двигателями, придумывая всякие там «сверхскоростные ракетопланы» для отмазки? Вас, как уже покойного Клеменова, или пребывающих в «местах не столь отдалённых», Королёва и Глушко одолевает идея-фикс – космические полёты. И, она вами так сильно одолевает – что вы даже готовы рискнуть своей свободой и самими жизнями!
Вижу – все трое, не сговариваясь, покраснели.
Показываю на портрет на стене:
– А вы думаете, товарищ Сталин не мечтает полететь в космос? Да он может – ещё больше вас хочет свалить с Матушки Земли и, узнать наконец – есть ли жизнь на Марсе!
Чуть привстав, приближаюсь к трём инженерам и переводя взгляд то на одного, то на другого, то на третьего:
– Но пока мы тут с вами мечтаем, товарищи, в некой державе – распространившейся на всю Западную Европу, инженеры и политики – не мечтают, а создают новые виды оружия. И боюсь, что мы с вами скоро не к марсианам полетим, а в тундру – к оленеводам пешком побежим!
Откинувшись в кресле, спрашиваю:
– Вот Вы, товарищ Раушенбах! Вы умеете доить северного оленя?
Тот встав, честно признался:
– Нет. Товарищ Сталин… Не умею.
Усмехаюсь:
– Судя по виду ваших друзей по кружку мастурбантов на «красную планету», они тоже – умеют держаться только за рейсшину.
Вздыхаю тяжко, как отец распекающий сыновей-балбесов:
– Ну и как вы собираетесь существовать в условиях оккупации? Извиняйте, конечно, но даже свиней пасти – германские бюреры доверят селюкам, но не вам.
Естественно, те были ошарашены, ибо им всю жизнь вдалбливали что «Красная Армия всех сильней» и про то, что она «малой кровью, могучим ударом».
Сейчас благодаря товарищу Мехлису и возглавляемому им Информбюро при СНК СССР», тон пропаганды меняется: «будущий враг умён, жесток и силён как никогда», «в случае войны нам будет противостоять вся Европа», «надо быть готовым ко всему» и так далее…
Но не до всех ещё дошла вся серьёзность положения.
С видом «что он несёт?!», все трое переглянулись и затем самый молчаливый из троих – Щетинков, возмущённо:
– Никакой «оккупации» не будет, товарищ Сталин!
Резко перейдя с миролюбиво-покладистого на жёстко-агрессивный тон, бью кулаком по столу:
– А что ты лично сделал, чтобы не было оккупации? ЧТО?! За десять лет существования вашего «НИИ-3», в стране были сконструированы, приняты на вооружение и запущенны в производство десятки и сотни образцов оружия и техники для Красной Армии… Вы же – только добро в говно переводили.
Схватив Щетинкова за грудки, с ненавистью шиплю ему в лицо:
– Да если бы те средства, что были за десять лет на ваши фантазии потрачены, просто пустили бы на образование – мы имели бы несколько десятков тысяч «лишних» грамотных бойцов и командиров.
Отталкиваю его так что тот чуть не перевернулся вместе со стулом.
– Вы – враги, понимаешь? Вы – гораздо хуже врагов! Ибо, прикидываетесь своими и мало того – якобы радеющими за интересы советского государства.
Поняв, что вспышка сталинского гнева может для него и его товарищей плохо кончиться, Дрязгов отчаянно заверещал:
– Товарищ Сталин! Мы готовы добровольцами пойти в Красную Армию, чтоб кровью искупить свою вину!
Раушенбах отчаянно тряс головой – соглашаясь с этим предложением, Щетинков пребывал в прострации.
Сложив фигу, сперва сам ею полюбовался, затем по очереди поднёс к носу каждого из инженеров:
– Фигушки! Красноармейцы из вас – как из говна штык трёхлинейки. А какие-никакие – но навыки по реактивному двигателестроению, вы имеете. Поэтому искупать вину перед советским народом будете в том формате, в коем наиболее сильны.
Вижу – светлеют ликом и, после осознания понимания – что свидание с северным писТцом может не надолго, но всё же откладывается, Щетинков весьма проникновенно и со слезами на глазах:
– Товарищ Сталин! Да мы наизнанку вывернемся – но выполним ваше задание. Правда, товарищи?
– Правда! Что требуется, товарищ Сталин?
Беру лист бумаги, достаю из кармана карандаш, и:
– Да требуется всего то, ничего – комбинированный прямоточный воздушно-реактивный двигатель. Причём – по уже готовому эскизу, добытому нашей разведкой…

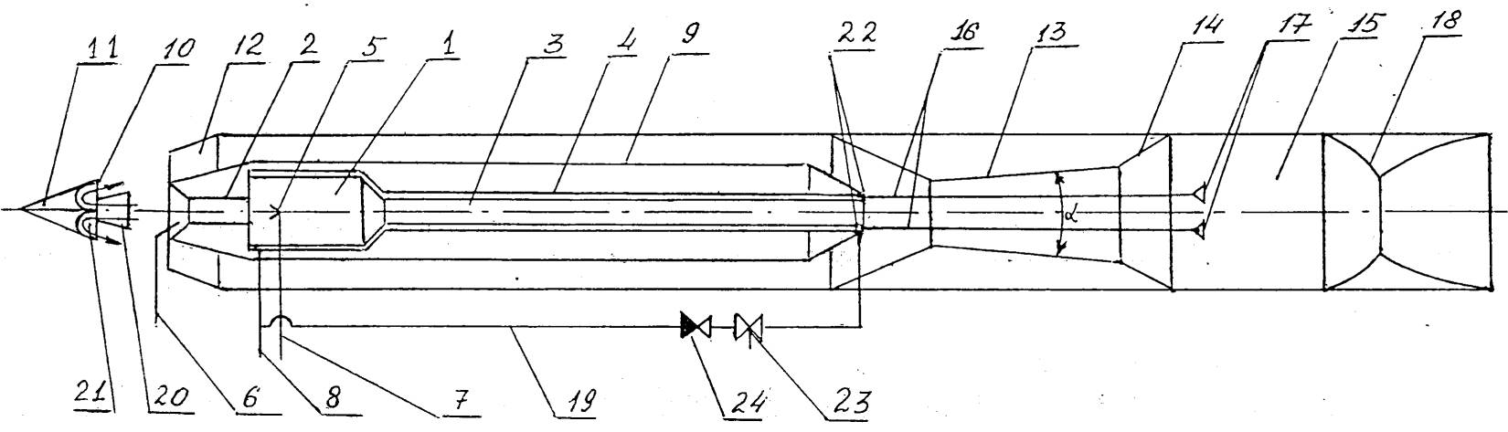
Рисунок 65. Комбинированный прямоточный воздушно-реактивный двигатель. На схеме:
1) Камера пульсирующего горения.
2) Аэродинамический клапан.
3) Резонансная труба.
4) Рубашка охлаждения.
5) Форсунка для подачи топлива в камеру пульсирующего горения.
6) Трубка для подачи пускового воздуха в камеру пульсирующего горения через аэродинамический клапан.
7) Трубка для подачи горючего к форсунке 5.
8) Трубка для подачи горючего в рубашку охлаждения.
9) Обтекатель.
10) Отражатель импульса выхлопных газов из аэродинамического клапана.
11) Носовой обтекатель прямоточного воздушно-реактивного двигателя.
12) Входной диффузор прямоточного воздушно-реактивного двигателя.
13) Эжектор, имеющий угол раскрытия камеры смешения 8oC.
14) Предкамерный диффузор.
15) Камера дожигания.
16) Трубопроводы для подачи горючего из рубашки охлаждения к форсункам камеры дожигания.
17) Форсунки камеры дожигания,
18) Реактивное сопло
19) Система циркуляции горючего.
20) Сопло, воспринимающее выхлопной поток из аэродинамического клапана,
21) Профилированные каналы, обеспечивающие поворот выхлопного потока на угол, позволяющий направить его во входной диффузор прямоточного воздушно-реактивного двигателя.
22) Клапаны.
23) Запорнодренажный вентиль.
24) Обратный клапан.
Рисуя, объясняю:
– Главная фишка в чём? В обычном ПуВРД топливо сгорает не полностью, отчего у этого типа двигателей очень низкий КПД. Здесь же оно дожигается в «камере дожигания», одновременно служащей камерой сгорания прямоточного типа…
Далее читаю как по писанному:
– «…Применение аэродинамических клапанов в отсутствии вращающих элементов в конструкции двигателя позволяет обеспечить ему многоразовое использование, долговечность и надежность.
Применение эжектора с конической камерой смешения по сравнению с цилиндрической позволяет наиболее эффективно использовать энергию пульсирующего потока из резонансной трубы за счет увеличения количества подсасываемого воздуха через эжектор при нулевой скорости набегающего потока, что позволяет подавать в камеру дожигания такое количество топлива, которое необходимо для создания стартовой тяги двигателя.
Кроме того, отражатель импульса газов из аэродинамического клапана создает дополнительный подпор воздуха во входном диффузоре при нулевой скорости набегающего потока, что также увеличивает подачу воздуха в камеру дожигания».
Насколько это возможно подробно объяснив, ставлю задачу:
– Такой двигатель нужен для высотного истребителя-перехватчика, зенитной ракеты и управляемого самолёта-снаряда. Именно в такой последовательности.
Затем, спрашиваю инженеров:
– Сможет ваш «Отдел реактивных двигателей на жидком топливе» довести такое до серийной модели за три месяца?
Вижу мнутся, предлагаю вариант:
– А если руководителем назначу товарища Глушко?
В данный момент бывший сотрудник НИИ-3, а ныне зэка Валентин Петрович Глушко – трудится на каком-то авиазаводе в «шарашке».
Переглянулись и Щетинков обрадованно:
– Считаю, что это значительно ускорит дело. Но всё же, я бы не стал давать опрометчивых обещаний, товарищ Сталин.
«Осторожный стал, сцуко!».
Наконец, достаю самый главный «пряник»:
– Если ваш Отдел справится с заданием ГКТиО в срок, он будет преобразован в НИИ ракетного двигателестроения и сможет вполне легально заняться двухкомпонентными реактивными двигателями для космических ракет.
Залихватски подмигиваю:
– Так что вполне возможно, товарищи, что мы с вами после войны полетим на Марс!
Марс – не Марс, но после войны в конце-концов, потребуются межконтинентальные баллистические ракеты – несущие «кузкину мать» на территорию глобального соперника.
Те, аж заскали-запрыгали:
– УРА!!!
И я понял, что комбинированный прямоточный воздушно-реактивный двигатель для реактивного перехватчика – будет готов в срок, а то и с опережением70.
Рассказал инженерам «бородатый» советский анекдот про Марс (тот, в котором прилетевшие перед американцами русские показывали марсианам «звездюлины») и с чувством выполненного долга поехал в Кунцево.
***
Дома ажиотаж и кипиш, Светка буквально стоит на ушах и, я сразу понял, что кто-то заявился к нам в гости.
Этим «кто-то» оказался сын Реципиента Василий, уже носящий петлицы капитана. Его разгромная статья о недостатках ВВС РККА уже написана, мной и Мехлисом подкорректирована и сейчас верстается в «Красной Звезде». На следующей недели она «выстрелит», после чего я всерьёз возьмусь за авиационную промышленности и боевую авиацию.
Хотелось бы, конечно, вообще – камня на камне от них не оставить: лучше вообще авиацию не иметь, чем иметь такую…
Но к сожалению, я не всесилен и должен учитывать мнение, к примеру – того же Василия Сталина. Так что всего лишь разумная оптимизация и вдумчивый апгрейд.
Зато, его же статья в «Комсомольской правде» о необходимости организации в ВВС РККА легкомоторной авиации, как отдельного рода этого вида войск, уже была опубликована и произвела настоящий фурор среди молодёжи.
Василий возбуждённо за ужином:
– Отец! Ты не представляешь: конкурс в мой полк «Ночных ведьмаков» – больше чем в МГУ! Целыми авиаклубами пишут заявления!
Ну, ещё бы: статью в «Комсомолку», за Василия писал сам Красный граф – Алексей Толстой, ныне возглавляющий группу мастеров пера при Генштабе, помогающую нашим генштабистам сочинять уставы.
Наливая ему и себе по сто грамм «Особой московской», интересуюсь:
– Ну и какими критериями ты решил руководствоваться при выборе своих ночных орлов?
– Ещё не решил. Что ты посоветуешь?
Подняв рюмку:
– Сперва, давай за почин!
Выпили, закусили и, я:
– Первый полк легкомоторной авиации должен быть кузницей кадров. А для этого нужно отбирать в него: во-первых, людей обладающих задатками лидеров. Во-вторых, имеющих бойцовский склад характера… То есть – желанием драться.
Тот, морщась:
– А как таких определить?
– Лидеров можно легко вычислить, организуя командные игры вроде тобой любимого футбола. «Целыми аэроклубами пишут заявления», говоришь? Вот и прекрасно! Организуй игры клуб на клуб, а сам сиди и наблюдай за поведением игроком. Бери «на карандаш» тех, кто хотя бы пытается организовать игру и при этом сам играет агрессивно.
Василий смущённо:
– Среди добровольцев очень высок процент девушек…
Грожу пальцем:
– Эх, Васька, Васька… Доведут тебя когда-нибудь эти девушки до цугундера! Помяни мои слова!
Впрочем, немного подумав:
– Найди какую-нибудь известную в стране лётчицу и пусть она станет родоначальницей женского футбола в СССР. Всего-то делов!
Поговорив ещё какое-то время, от кадрового вопроса плавно перешли к «заклёпкам».
Размышляю вслух:
– Учиться твой полк «Ночных ведьмаков» будет на «У-2», это однозначно. Но в дальнейшем, это должна быть специализированная машина.
Подумав, почесав затылок:
– Я вижу её таким…
Достаю из кармана блокнот и карандаш и рисую нечто двухфюзеляжное, типа германской «Рамы» – ближнего разведчика «Fw-189».
На словах объясняю:
– Двигатели такие, как и на «У-2» – стосильные «М-11». Материалы – точно такие: фанера, перкаль и немного конструкционной стали. Лётные характеристики – тоже те же самые, больше не надо.
Василий, внимательно внемлит…
– Экипаж три человека: спереди – имеющий какой-нибудь самый простенький бомбовый прицел штурман и желательно пулемёт «ШКАС». За ним, с некоторым превышением для лучшей обзорности – пилот. За пилотом, спиной к нему – стрелок-радист со спаренной турельной пулемётной установкой, имеющей большой угол обстрела вниз.
Предводитель «Ночных ведьмаков» понимающе:
– Это – чтобы пролетев над целью, обстрелять её.
– Верно! Таким образом, можно подавить зенитные орудия стреляющие вдогонку…
Указательный палец вверх:
– …Но главным оружием такого ночного бомбардировщика, должны быть бомбы – общим весом под тонну. Никаких бомбоотсеков с бомболюками! Только подвешенные под крыльями или фюзеляжем.
Ну и напоследок:
– Главное, что? Самолёт должен быть прост изготовлении и в управлении как «У-2», то есть доступен лётчику самой низкой квалификации.
На обратной стороне странички написал записку, вырвал и протягивая Василию:
– Завтра же с утра обратись к товарищу Кобулову: пусть выделит для конструирования конструкторское бюро Томашевича из «ЦКБ-29».
Ещё, надо будет озадачить кого (может, Антонова?) по-шурику запилить лёгкий двухмоторный транспортный самолёт с теми двигателями, просторным грузовым отсеком и, аппарелью сзади для быстрой погрузки-выгрузки крупногабиритных грузов массой до тонны.
«ЦКБ-29» – это знаменитая «шарашка», где кроме Томашевича томились в неволе Туполев, Мясищев и Петляков.
Конкретно КБ Дмитрия Людвиговича, в данный момент мырыжилась над истребителем «И-110» с двигателем «М-107», который в серию не пошёл. Меня Томашевич заинтересовал тем, что во время войны сконструировал «Пегас» – лёгкий штурмовик буквально «из говна и палок».
Здесь же задача не в пример проще.
Глава 12. Понедельник начинается в субботу.
« – ...Когда я увидел танки русских, я был удивлен. Как русские дошли от Волги до Берлина на таких примитивных машинах? Когда я увидел их оружие и лошадей, я подумал, что этого не может быть. Технически совершенные немецкие танки и артиллерия очень сильно уступала русской технике. Знаете, почему? У нас все должно быть точным. А снег и грязь точности не помогают. Когда я попал в плен, у меня был „Штурмгевер“, современное оружие, но он отказал после трех выстрелов – попал песок...», – Гюнтер Кюне, солдат вермахта.
"В конце концов, пятеро русских представляли большую опасность, чем тридцать американцев. Мы уже успели это заметить за последние несколько дней боев на западе... Мы привыкли к противнику такому, как русские; мы были поражены контрастом. За всю войну я никогда не видел, чтобы солдаты разбегались так, что только пятки сверкали, хотя даже, по существу, ничего особенного не происходило, – Отто Кариус, «Тигры в грязи».
Быстро приказы ГКТиО пишутся, да не скоро «реальная история» в «текущую реальность» меняется!
Не через «неделю», как приказывал генералу-лейтенанту Федоренко – Начальнику Главного управления Танковых войск Вооружённых Сил СССР, а лишь сегодня – 7-го февраля в субботу, удалось созвать в Кремле объединённое совещание представителей Харьковского и Кировского танковых заводов и, командиров-танкистов – уже имевших опыт эксплуатации выпускаемой ими продукции: новейших танков «Т-34» и «КВ».
Последние, составят костяк так называемой «Танковой бригады нового строя» – экспериментальной части, где членами экипажей будут только командиры. Такое практиковалось «реальной» осенью 41-го года, да и уже во второй половине войны – в отдельных тяжёлых танковых полках прорыва…
Так почему бы мне не запустить «процесс» пораньше?
Суворов, говорил:
«Каждый солдат должен понимать свой маневр».
Что тогда говорить об офицерах?
Поэтому, я сперва выступил перед личным составом «Танковой бригады нового строя» с очень коротенькой, но достаточно информативной речью:









