Текст книги "Ремесло древней Руси"
Автор книги: Борис Рыбаков
Жанр:
История
сообщить о нарушении
Текущая страница: 24 (всего у книги 43 страниц)
Кроме того, хорошие костяные изделия встречаются во всех почти дружинных курганах IX–X вв. Особо следует отметить Шестовицкие курганы и курган «Гульбище» в Чернигове.
Наиболее употребительный орнамент для костяных изделий у всех народов во все времена – это так называемый «глазковый», состоящий из круга с точкой посредине или из двух концентрических кругов, но опять-таки с точкой. Он наносился маленьким железным двузубцем (или трезубцем), одна ножка которого ставилась на место точки, а другая описывала вокруг нее окружность. Такой инструмент для орнаментации кости найден в Гнездовском городище[850]850
В.И. Сизов. Курганы Смоленской губ…
[Закрыть]. Глазки иногда соединялись линиями, полосами, зигзагами, проведенными ножом или резцом. С этой примитивной техникой были хорошо знакомы и деревенские резчики по кости. Значительно интереснее сложные приемы обработки кости, которые можно проследить на гребнях. Русские гребни X–XII вв. делались самых разнообразных форм. Некоторые из них имеют высокую спинку, украшенную резными головками коней или фигурками медведей. Очень интересен резной гребень из Пскова, датируемый IX–X вв. На высокой спинке гребня изображены два коня и ладья с парусом[851]851
«Археологические исследования на территории РСФСР в 1934–1936 гг.», М., 1941, стр. 30.
[Закрыть].
Встречаются и двусторонние гребни, одна сторона которых нарезана толстыми редкими зубьями, а другая имеет так называемый «частый» гребень специального гигиенического назначения. Особенно интересны гребни-расчески, соединенные шарниром с изящным костяным футляром, в который они убираются по принципу складных ножей. Для таких гребней применялись дополнительные накладные пластинки, которые маленькими медными заклепками прикреплялись к основной пластинке. Д.Н. Эдингом на материале Сарского городища прослежена техника изготовления больших гребней в IX–X вв.[852]852
Д.Н. Эдинг. Сарское городище, рис. 9, стр. 37–39.
[Закрыть] Гребни крупных размеров делались составными из нескольких отдельных пластин, склепанных с длинной обоймой. Хрупкость кости по отношению к ударам заставляла мастеров не пробивать отверстия для заклепок, а просверливать их специальным сверлом. После соединения пластин с обоймой мастер приступал к нарезке зубьев (рис. 115).

Рис. 115. Костяные гребни.
Зубья гребней (особенно «частых») могли быть прорезаны только пилой, так как пространство между зубьями иногда не превышает десятых долей миллиметра. Такая железная пила широко применялась в костерезном деле. Пилой нарезали пластинки, предназначенные для выпилки гребней, пилой обравнивали концы, пилой же пропиливали тонкие зубья.
Следы работы пилой мы можем проследить не только на гребнях, но и на ряде других предметов. Рукояти ножей, игральные кости, пластинки для колчанов и седел – все это изготовлялось при помощи пилы. В этом отношении костерезное дело опередило обработку дерева, в которой применение пилы было более ограниченным.
Но еще больший технический прогресс мы замечаем в выработке круглых объемных вещей из кости. Для изготовления их применялся токарный станок. Какова была конструкция этого станка, сказать трудно, так как никаких следов такого станка до нас не дошло. Среди различных железных предметов XI–XII вв. можно выделить несколько резцов со скошенным краем, которые можно связывать с токарными работами. На токарном станке были выточены костяные шашки, найденные в Черной Могиле в Чернигове. Эта находка датирует применение токарного станка X в.
В слоях XI–XII вв. в Киеве и в Вышгороде найдены костяные точеные шашки и шахматные фигуры (ферзь, конь и неизвестная фигура). Историки шахматной игры утверждают, что шахматы проникли на Русь в VIII–IX вв., о чем свидетельствует, например, древняя восточная терминология, сохраненная в русском языке. В XI–XIII вв. шахматы и шашки были уже объектом преследования со стороны церковников, грозивших отлучением русским шахматистам[853]853
М.С. Коган. Очерки по истории шахмат в СССР, М.-Л., 1938.
[Закрыть]. Найденные шахматные фигуры выточены аккуратно из целого куска кости. При обработке их применяется также напильник.
Лучшая сохранность кости по сравнению с деревом позволяет нам полнее проследить технику сверления, распила и обточки, чем это можно сделать на деревянных вещах. Деревянные предметы доходят до нас обычно в таком плохом состоянии, что не удается проследить технику их изготовления. Кость пополняет наши сведения о технике резьбы вообще.
Анализ костяных вещей говорит нам о применении ножа, резца, сверла, пилы, напильника и токарного станка. Такой сложный инструментарий, необходимый резчикам кости, приводил к выделению их в особый разряд ремесленников. Выделение косторезного ремесла произошло не позднее X в.
В качестве материала для резьбы употреблялась обычная кость крупных животных, рога и моржовые клыки. Последний материал особенно ценился мастерами, так как в обработке моржовая кость нередко представляет большие удобства, чем даже слоновая. Моржовая кость, прочно вошедшая в русские былины под названием «рыбьего зуба», известна под этим названием и летописи. Русские князья дарили друзьям «рыбий зуб» наравне с дорогими мехами, быстроходными конями и коваными седлами (такими подарками обменивались Ростислав Мстиславич и Святослав Ольгович в 1160 г.)[854]854
Ипатьевская летопись 1160 г.
[Закрыть].
Византийские свидетельства XII в. говорят о том, что резьба из кости в Западной Европе иногда считалась специфическим русским мастерством и ее называли или «резьбой тавров» или «резьбой руссов»[855]855
Н.П. Кондаков. Русские клады…, т. I, стр. 80.
[Закрыть].
Обработка камня.
Обработка камня в русских городах XI–XIII вв. занимала видное место среди других ремесел. Возможно, что обработка камня велась уже несколькими различными категориями ремесленников (напр., камнетесами, резчиками по камню, гранильщиками и шлифовальщиками и т. п.).
Работы по камню делятся на два крупных раздела: с одной стороны, это – работы, связанные со строительным делом, работы над большими блоками и плитами, а с другой, это – мелкая ювелирная работа над скульптурной резьбой или огранкой и отшлифовкой мелких самоцветов.
К первому разделу нужно отнести постройку зданий (дворцы, стены, башни, тюрьмы, бани, церкви), выделку гробов, крестов, замощение пола, крупные скульптурные произведения и изготовление жерновов. Материалом служил самый различный камень: песчаник, известняк, мрамор, шифер и валунный гранит.
Древнейшим памятником камнесечного дела является известный овручский идол Святовита X в., найденный в Галицкой Руси. Это высокий четырехгранный столп с выпуклыми рельефами на гранях. Для обработки его требовались обычные каменотесные инструменты: шпунт (род зубила), скарпель (род долота) и молоток. Фотографии Краковского музея, снятые с подлинника, опубликованы А.А. Захаровым[856]856
A. Zakharov. The statue of Zbrucz. – ESA, t. IX.
[Закрыть].
Еще в языческий период в Киеве появляется каменное строительство, как о том свидетельствует огромный каменный жертвенник близ княжеского дворца[857]857
L. Niederle. Slovanské Starožitnosti, т. II, ч. 1, стр. 192.
[Закрыть]. Наибольшее развитие каменотесное дело получает с конца X в., с эпохи установления еще более тесных связей с Византией и начала большого строительства.
Раскопками Украинской Академии Наук на месте Десятинной церкви обнаружена камнерезная мастерская, в которой были найдены фрагменты резного камня, совершенно тождественные деталям архитектурной декорации самой Десятинной церкви[858]858
М.К. Каргер. Раскопки древнего Киева. – «Наука и жизнь», 1940, № 2.
[Закрыть].
В Киеве, Овруче, Чернигове для постройки применялись в качестве декоративного строительного материала мрамор и местный овручский шифер. Из него резали плиты для полов, украшенные рельефом (Чернигов), плиты для украшения стен (из них особенной известностью пользуются 4 рельефа, изображающие Ярослава, Изяслава, Геракла и Кибелу). Два рельефа происходят из Михайловского Дмитриевского) монастыря, построенного князем Изяславом Ярославичем, а два рельефа потеряли свое первоначальное местопребывание и в настоящее время вмазаны в стены типографского корпуса лавры[859]859
М. Макаренко. Скульптура i рiзьбарсьтво Киïвськоï Русi перед монгольських часiв. – «Киïвський збiрник iсторiï i археологiï, побуту та мистецтва», зб. I, Киïв, 1930–1931.
[Закрыть]. Мастерам приходилось иметь дело с большими массивами камня, но они справлялись со своей задачей хорошо. После обработки инструментами камень иногда шлифовался. При изготовлении крупных предметов вроде саркофагов из шиферных плит приходилось прибегать к специальной оковке камня железными обручами с ушками для переноски[860]860
И. Хойновский. Раскопки великокняжеского двора древнего города Киева, произведенные весною 1892, Киев, 1893.
[Закрыть].
Тщательную камнерезную технику можно проследить на известном тмутараканском камне, где на мраморе врезана вглубь запись о топографических работах князя Глеба Святославича в 1068 г. В Новгороде известны каменные кресты, которые ставились на дорогах, на реках, вмазывались в церковные стены. Отмечу из них крест, поставленный посадником Иванком Павловичем в верховьях Волги в 1132 г. с надписью: «В лето 6641 месяца июля в 14 день почях рыти реку сю, яз Иванко Павловиць и крест сь поставих».
Буквы врезаны тщательно[861]861
И.А. Шляпкин. Древние русские кресты. т. I. Кресты новгородские до XV в., СПб., 1906, стр. 15.
[Закрыть]. Интересен также каменный крест, найденный близ Новгорода на р. Мсте. Надпись на нем такова: «Мируславу и Лазареви братья и мати Мирослава поставили хрест. Славоне делале»[862]862
Там же, табл. XII.
[Закрыть]. Для нас особенно интересна последняя приписка, поставленная на кресте обособленно от основного текста и содержащая свидетельство о мастерах. Под «славонами» надо, очевидно, подразумевать жителей Славенского конца в Новгороде, часть которых занималась выделкой каменных изделий. В этой надписи четко разграничены заказчики, «поставившие» крест, и мастера, изготовившие его.
Обилие надгробных и обетных крестов в Новгороде могло создать особую отрасль камнесечного дела мастеров-крестечников.
Позднее, в XIV в., существовали мастера, заранее заготавливавшие кресты с надписями молитвенного содержания и оставлявшие свободное место для имени покойника.
Наивысшего расцвета русское камнесечное дело достигло в Суздальской Руси в XII–XIII вв. при Андрее Боголюбском, Всеволоде Большое Гнездо и Святославе Всеволодиче.
Декоративная скульптура Владимирской Руси открывает нам совершенно новый мир сказочных художественных образов, воплощенных в белом камне русскими каменщиками XII–XIII вв.
Со стен Дмитриевского и Юрьевского соборов на нас смотрят кентавры, львы, барсы, грифоны, василиски, крылатые псы, четвероногие птицы, всадники, сирены, слоны, христианские святые, щеголеватые юноши в шапочках, женские головы, всевозможные деревья и цветы.
В Дмитриевском соборе организующим началом этого фантастического царства являются фигуры царя Давида с гуслями, к которому со всех сторон идут на звуки его струн обитатели этого сказочного мира. Невольно вспоминается Орфей, лира которого заставляла зверей выходить из логовищ, а деревья и скалы сходить со своих мест, чтобы послушать игру. Рассмотрение художественной стороны прекрасной белокаменной резьбы Владимирской архитектуры XII–XIII вв. не входит в мою задачу. Отмечу лишь необычайную тщательность работы, уменье создавать сложные композиции и общую выразительность и впечатляемость этих рельефов, вызывавших справедливое восхищение современников[863]863
А.А. Бобринский. Резной камень в России, М., 1916.
[Закрыть]. Первоначально были сложены стены, а затем уже на тщательно пригнанные камни наносился рисунок и производилась сплошная резьба всего каменного массива в целом[864]864
С. Фраткин. К вопросу о технике выполнения рельефов Юрьевского собора. – «Seminarium Kondakovianum», т. II, 1928.
[Закрыть]. По поводу строительства князя Всеволода, летописец сообщает, что… «не ища мастеров отъ Немець, но налѣзе мастеры отъ клевреты святое Богородици и отъ своих…»[865]865
Лаврентьевская летопись 1194 г.
[Закрыть] Другими словами, здесь речь идет о церковных и княжеских ремесленниках, строивших Суздальский собор. Подтверждением этому являются открытые Н.Н. Ворониным княжеские знаки на камнях более ранних построек 60-х годов XII в. Знаки из города Владимира (Золотые Ворота) и Боголюбова (каменный киворий на дворе андреевского замка) совершенно одинаковы. Оба они близки знакам на печатях XII в. и могут быть присвоены князю Андрею Боголюбскому, с именем которого связаны и упомянутые постройки.
Таким образом, круг ремесленников, тесно связанных с княжескими дворами, расширяется за счет владимирских каменосечцев, работавших на Андрея Боголюбского.
Владимирцы вообще славились как каменщики. При столкновении городского ополчения Владимира с боярскими войсками старых городов Ростова, Суздаля и Мурома владимирцы испытывали такие же насмешки над их происхождением, как и новгородцы-плотники.
В 1176 г., когда после смерти Андрея владимирцы посадили у себя Ярополка Ростиславича, они мотивировали это тем, что «… не хотяще покоритися Ростовцемъ, суждалцемъ и муромцемъ, зане молвяхуть: пожьжем Володимерь, пакы ли иного посадника въ нем посадимъ; – то суть наши холопи каменьници»[866]866
Лаврентьевская летопись 1175–1176 гг.
[Закрыть].
Белокаменная резьба применялась в архитектуре XII–XIII вв. в следующих городах: Владимире, Боголюбове, Юрьеве Польском, Старой Рязани (сохранились фрагменты объемной скульптуры)? Коломне, Суздале, Чернигове (резная капитель XII в.), Новгороде Нижнем.
После монгольского нашествия, возможно в связи с бегством мастеров «из татар», описанным летописью, резьба по камню появляется в Галицком княжестве. Галицкая часть Ипатьевской летописи подробно описывает архитектуру и резную орнаментику Холмской церкви, автором которой был «хытрець Авдий»[867]867
Ипатьевская летопись 1259 г.
[Закрыть].
Совершенно особой отраслью каменосечного дела было производство мукомольных жерновов и точильных камней для циркульных точил.
Появившиеся, вероятно, в XII в. водяные мельницы в Киевской Руси не могли, разумеется, вытеснить ручного размола зерна, который до XV в. почти безраздельно господствовал в русской деревне[868]868
Доказательства существования мельниц в домонгольской Руси приведены мною во второй части в связи с мельничным делом XIV–XV вв.
[Закрыть]. Ручные жернова из песчаника и моренного гранита составляют одну из частых находок на местах поселений как сельского, так и городского типа[869]869
В XV в. в вотчине князей Глинских только в двух селах было пограблено 50 жерновов. – «Памятники дипломатических сношений Московского государства с Польско-Литовским», т. I, СПб., 1882, стр. 3; Сб. Русск. историч. общ., т. 35.
[Закрыть]. Есть основание думать, что почти в каждом хозяйстве были ручные жернова.
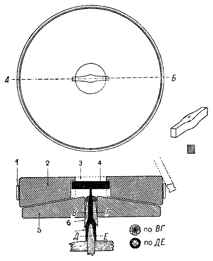
Конструкцию мукомольного постава впервые удалось определить в результате моих раскопок во Вщиже в 1940 г. Раскопанный в центре детинца дом конца XII – начала XIII в. имел подполье, в которое провалились с полатей деревянное ведро для зерна, мешок с остатками зерен, обугленный хлеб и два жернова со всеми конструктивными деталями. Ввиду важности этих данных для истории русской техники позволяю себе привести подробное описание жерновов.
Ввиду того, что до сих пор встречались только одни каменные круги жерновов без необходимых железных деталей, попытки реконструкции размола для целей музейной экспозиции приводили к тому, что оба круга просто надевали на одну ось; при этом трение верхнего камня было чрезвычайно значительным. Русским жерновникам удалось очень остроумно разрешить проблему преодоления трения.
Вщижские жернова сделаны из песчаника (рис. 116). Диаметр верхнего камня – 50 см; вес всей системы – 46 кг. Для того чтобы женщина могла молоть зерно на таких тяжелых жерновах, необходимо было уменьшить трение. Для этой цели нижний жернов («низ» или «постав») при помощи системы клиньев насаживался на железное веретено, имевшее вид тупого копья. Своей втулкой веретено наглухо набивалось на какой-либо вертикальный кол, торчавший из подполья, верхний конец веретена толщиной с карандаш был тщательно закруглен и выдавался над поверхностью нижнего жернова на несколько сантиметров.

Рис. 116. Конструкция жернова (Вщижское городище).
1 – жернова из раскопа № 1 (дом XII–XIII вв.), вид верхнего жернова сверху; 2 – разрез по линии АБ.
В широком отверстии («ячее») верхнего жернова («верховода», «бегуна»), предназначенном для насыпания зерна, мастер-жерновник прорезывал в толще камня два паза, в которые вставлялся железный подпятник («порхлица» или «пораплица»).
Всей тяжестью верхний жернов опирался на этот подпятник. В центре его с нижней стороны делалось небольшое полусферическое углубление в 6–8 мм, строго соответствующее вершине веретена.
Верхний жернов надевался на веретено таким образом, что опирался на него только в одной точке (т. е. так, как надевается теперь стрелка компаса на ось). В силу этого трение было сведено к минимуму тяжелый «верховод» легко и плавно вращался над нижним поставом, так как между ними был небольшой зазор. Верховод был обтянут лубяной шиной и имел коленчатую рукоять, центрированную наверху.
Для того чтобы жернов мог находиться в равновесии, будучи надет на тонкое веретено, мастеру-жерновнику необходимо было точнейшим образом обтесать круг, точно вырезать концентрический кружок ячеи и особенно точно определить центр тяжести, который в этих условиях необходимо было совместить с геометрическим центром внешней и внутренней окружностей жернова. Вытесывание пазов и пригонка железной порхлицы завершали сложную работу жерновника, требовавшую расчетов, известного практического знакомства со свойствами окружностей и применения циркуля. Данная конструкция предусматривала возможность регулирования тонкости помола зерна; для этой цели у веретена имелись клинья. Если нужно было получать муку лучшего качества, достаточно было подбить клинья чуть выше; тогда нижний жернов несколько приподнимался вверх (а верхний не менял своего положения), и зазор между жерновами уменьшался, а, следовательно, и зерно размалывалось мельче.
Мастеру-жерновнику необходимо было иметь при себе не только каменосечные инструменты, но и элементарные кузнечные, так как подгонка перекладин-порхлиц неизбежно требовала их обработки тут же на месте, во время работы над камнем, а не заранее. Следовательно, жерновник (или иначе – «жерносек») должен был иметь в составе оборудования наковальню, молот, клещи. Это было необходимо еще и потому, что его собственный каменосечный инструмент постоянно требовал кузнечной подправки, особенно при работе на твердых породах вроде гранита.
Чтобы избежать перевозки камня место производства жерновов было, по всей вероятности, близко к каменоломням («жерновищам»).
Все это заставляет считать жерносеков совершенно особой группой ремесленников, может быть, даже не городских, а сельских (по месту работы), аналогичных овручским камнерезам, делавшим шиферные пряслица. По своей технике и сложности производственного процесса жерносеки были близки к городскому ремеслу. Их познания в механике, позволившие им преодолеть колоссальное сопротивление двух трущихся поверхностей и остроумно подвесить тяжелый «верховод» в центре тяжести на острие веретена, ставят жерносеков XII–XIII вв. в ряды квалифицированных и опытных мастеров[870]870
В.В. Антоновичем на Киевщине близ д. Буки раскопан курган, в котором в середине насыпи, на половине ее высоты, найдена груда камней и жернов («Раскопки в стране древлян», курган № 26). Если принять во внимание, что в дружинных курганах на соответственном месте укладывали лучшее оружие покойника, то можно допустить, что здесь перед нами погребение ремесленника-жерновника. Каменистый характер местности может служить подтверждением этого.
[Закрыть].
Вторым разделом в обработке камня было изготовление мелких предметов, требующее тонкой и тщательной работы. К этому разделу можно отнести изготовление каменных бус, крестиков, иконок, литейных форм, шлифовку камней для украшения различных золотых медальонов и цат.
Материалом служили уже знакомые нам шифер, жировик, плотные сорта известняка и ряд драгоценных и полудрагоценных камней вроде сердолика, хрусталя, аметиста, сапфира, яхонта, альмандина, яшмы и янтаря.
В отношении бус из сердолика А.В. Арциховским, на основании изучения их ареала, доказана возможность местного производства, хотя соответствующие мастерские еще не найдены. Пользуясь этим же методом, можно выделить еще целый ряд бус, характерных для того или иного района (напр., некоторые типы хрустальных бус)[871]871
А.В. Арциховский. Сердоликовые бипирамидальные бусы. – ТСА РАНИОН, М., 1926, т. I, стр. 52.
[Закрыть].
Бусы сверлились с двух сторон, так как длинное сверло трудно было сделать, и канальцы сверления не всегда точно совпадают. Затем бусы гранили или обтачивали на жестких жерновах-точилах. Последним этапом была шлифовка камня, требовавшая большой тщательности и отнимавшая у мастера много времени. Совершенно так же делались камни для оправы в золото; там только отсутствовало сверление. Если сравнить производство бус с производством пряслиц, то необходимо признать, что обработка твердых пород (сердолика, хрусталя, аметиста) требовала несравненно более сложного и совершенного инструмента. По всей вероятности, производство бус имело место только в городах. В Старой Рязани была найдена при раскопках мастерская янтарных бус[872]872
Коллекции ГИМ.
[Закрыть]. Янтарь, вопреки укоренившемуся взгляду, отнюдь не является только балтийским товаром, а распространен почти во всей Восточной Европе. Старорязанская мастерская работала на местном (красноватом) янтаре.
Особо надо выделить производство каменных литейных форм, о котором уже говорилось в связи с литейным делом. Потребность массового выпуска ювелирных изделий привела к поискам прочного оборудования мастерской, которое позволило бы быстро выпускать на рынок большое количество продукции.
Литейные формы Киева XII в. являются нередко образцами тщательной обработки камня разнообразными инструментами. Поверхность формы гладко полируется, чтобы обеспечить плотность соприкосновения обеих половинок, которые скрепляются друг с другом посредством мягких, плотно входящих в гнезда свинцовых шипов. Такие каменные формы отчасти оттесняют технику литья с восковой модели, так как обеспечивают большую долговечность формы.
Мастера, резавшие каменные формы, обладали уверенной, твердой рукой и верным глазом. Иногда на боковых сторонах формы они производили своеобразные «пробы пера», набрасывая резцом какой-нибудь рисунок. Один из таких рисунков (не имевших производственного значения) на киевской шиферной форме для перстня изображает бородатого мужчину в конической шапке[873]873
Коллекции ГРМ.
[Закрыть].
К сожалению, в нашем распоряжении нет данных, чтобы решить вопрос, кто резал литейные формы – сами ли литейщики или особые резчики по камню.
Существование специальных резчиков по камню явствует из обилия русских каменных иконок и крестиков XI–XIII вв.[874]874
Б.И. и В.И. Ханенко. Древности Приднепровья, вып. I и II; вып. VI, табл. XXXVIII; Д.В. Айналов. Две каменные новгородские иконки. – Новгород, 1914, т. I, рис. 1; В. Мясоедов. Каменный образ Новгородского древлехранилища. – Там же: Н. Большаков. Русско-византийские древности. – «Среди коллекционеров», 1924, № 5–6; ОАК за 1908 г., рис. 5.
[Закрыть] Вполне возможно, что выделкой этих иконок занимались монастырские мастерские.
Существование мастерских с определенным художественным направлением и общими принципами выполнения, объединявшими разных мастеров в одну художественную школу, можно проследить на примере двух замечательных резных иконок, выделяющихся на общем фоне ремесленных изделий XII–XIII вв. (рис. 117).

Рис. 117. Каменные резные иконки.
Обе иконки, как ни странно, прошли совершенно не замеченными историками русского искусства, которые иногда посвящали специальные статьи значительно менее интересным образцам. Место находки обеих иконок – Киев[875]875
Б.И. и В.И. Ханенко. Ук. соч., вып. V, Киев, 1907, табл. XXXVIII, рис. 1327, стр. 33 и 43 (каменные и глиняные иконки княжеской эпохи). – АЛЮР, Киев, 1899, август, рис. 1.
[Закрыть]. Размеры их очень близки (ок. 4×2,5 см); сделаны они из одинакового материала (светло-зеленоватый камень), и обе имеют следы позолоты. Форма их и обрамление одинаковы.
Сюжет на обеих один и тот же – «неверие Фомы»; апостол Фома недоверчиво разглядывает раны на теле Иисуса. На первой иконке (Коллекции Ханенко, рис. 1327) лица обоих расположены фронтально, выражение их спокойное, бесстрастное. Вся прелесть скульптуры заключается в мягких округлых контурах и изящных волнах драпировок. На гладком позолоченном фоне складки одежды приобретают самостоятельный орнаментальный характер. Мастер умело чередовал гладкие округлые поверхности с мелкими изгибами и завитками. Детали лиц, рук и ног сделаны тщательно и умело. Слева для уравновешения композиции (левая фигура – Фомы – ниже) расположена тонкая колончатая надпись: ΘЪМА.
По характеру орнаментальных окладов, по деталям одежды и по пропорциям тела киевская иконка близка к рельефам Дмитриевского собора во Владимире. В качестве прямой аналогии укажу фигуру Давида[876]876
А.А. Бобринский. Резной камень в России, М., 1916, табл. XII, рис. 2.
[Закрыть]. Дата этой иконки – вторая половина XII в. и, может быть, начало XIII в.
Вторая иконка (АЛЮР, 1899, рис. 1), несмотря на множество сходных черт (размер, материал, сюжет, расположение фигур), имеет все же ряд отличий. Не может быть и речи о том, чтобы один мастер копировал работу другого – каждый из них решал самостоятельно одну и ту же задачу, проявляя свой личный вкус и особенности в рамках некоторого внешнего сходства.
Второй мастер не увлекался орнаментальной драпировкой, но более реалистично использовал складки одежды. Фигуры у него теряют фронтальность и какую-то одинаковость, присущую первому мастеру. Фома здесь как бы подкрадывается к Иисусу (очень хорошо передано движение ног), который величественно поднял руку и слегка раздвинул одежды. Если обе фигуры у первого мастера уравновешены внутренним спокойствием и безразличием, если он считал неверие Фомы простым и естественным, то второй художник резко противопоставляет недоверчивое любопытство Фомы, его согнутую фигурку, высокомерному и презрительному Иисусу, смотрящему сверху вниз. Первый мастер признает за Фомой право на недоверие, а второй осуждает его.
Надпись на второй скульптуре резана так же тонко и может быть датирована XII–XIII вв.
Необычайная редкость сюжета, совпадение многих внешних признаков, одновременность и нахождение обеих икон в одном городе могут свидетельствовать в пользу предположения, что в Киеве во второй половине XII в. существовала мастерская (вероятнее всего при каком-либо монастыре), в которой создавались замечательные по тонкости работы миниатюрные скульптуры из камня. Стилистическое отличие, обусловленное различным пониманием своих задач каждым мастером, этому не противоречит[877]877
Если позволить себе некоторую вольность мысли, то кажется, что обе киевские скульптуры являются заданием двум мастерам на одну тему – «неверие Фомы». Каждый мастер как бы соперничал с другим в тщательности отделки, но оба они были связаны условиями общности внешних черт – материала, формы, размера.
[Закрыть].
Можно наметить следующий список ремесленников, связанных в тех или иных формах с обработкой камня:
Каменщики («каменосечци» – преимущественно во Владимире)
Резчики по камню, скульпторы (в Киеве, Владимире, Рязани и Галиче)
Крестечники, делавшие надгробия (в Новгороде)
Жерносеки («жерновники»)
Гранильщики бус
Прясельники (близ Овруча)
Резчики икон, делавшие маленькие каменные иконки (могли совмещать работы по камню с резьбой по кости).
В последнюю категорию могли входить и резчики литейных форм.
Строительное дело.
История русского зодчества является самостоятельной наукой, располагающей своими методами исследования и давшей уже целый ряд обобщающих работ и значительное число специальных исследований по отдельным вопросам[878]878
Наиболее полный перечень новейших исследований см. в работе: А.И. Некрасов. Древнерусское зодчество XI–XVII вв., М., 1936. См. также: Н.И. Брунов. К вопросу о самостоятельных чертах русской архитектуры X–XII вв. – «Русская архитектура», М., 1940; Н.Н. Воронин. О дворце Андрея в Боголюбове. – КСИИМК, М.-Л., 1939, вып. II; Н.Н. Воронин. К вопросу о взаимоотношениях Галицко-Волынской и Владимиро-Суздальской архитектуры XII–XIII вв. – КСИИМК, М.-Л., 1940, т. III; М.К. Каргер. Зодчество Галицко-Волынской земли в XII–XIII вв. – КСИИМК, М.-Л., 1940, вып. III; А.А. Строков. Новгород Великий, Л., 1939.
[Закрыть]. Это обстоятельство значительно облегчает мою задачу и позволяет остановиться (да и то кратко) лишь на основных моментах истории русской архитектуры, имеющих отношение к строительному ремеслу.
Каменное строительство возникло в древней Руси под влиянием Византии, хотя употребление камня в качестве строительного материала было известно и ранее (жертвенник близ княжеского дворца в Киеве).
Греческие мастера при Владимире перенесли на Русь в готовом виде все основные приемы византийской архитектуры, совершенствовавшей свои формы и технику со времени Юстиниана.
Древнейшее киевское здание – Десятинная церковь – была построена в конце X в. греками. Для ее постройки вокруг строительной площадки был создан ряд различных мастерских, изготавливавших детали архитектурной орнаментики и предметы внутреннего убранства. Часть этих мастерских продолжала существовать и далее (вплоть до XIII в.).
Постройкой Десятинной церкви открывается первый период каменного зодчества на Руси, продолжающийся до середины XI в. За это время построены: дворец Владимира в Киеве, церковь в Тмутаракани (1022), Софийский собор в Киеве (1017–1037), Спасо-преображенский собор в Чернигове (1036), Софийский собор в Новгороде Великом (1045–1052).
Для большинства этих зданий характерны сложный план и связанная с ним сложность конструкций. Со второй половины XI в. тип церковного здания несколько упрощается, значительно возрастает их количество, а в XII в. вырабатывается характерная русская конструкция «крестово-купольного» здания, привившаяся во многих русских городах. Наряду с культовыми зданиями, строились каменные укрепления («Золотые Ворота» в Киеве и во Владимире, стены в Ладоге) и дворцы. Можно насчитать несколько десятков русских городов, где в XI–XIII вв. существовало каменное строительство:
Киев
Чернигов
Тмутаракань
Переяславль Русский
Белгород
Вышгород
Туров
Остерский Городец
Василев
Канев
Вщиж
Новгород-Северский
Галич
Холм
Владимир Волынский
Смоленск
Полоцк
Витебск
Городно
Владимир на Клязьме
Боголюбов
Суздаль
Новгород Нижний
Коломна
Рязань
Юрьев Польский
Переяславль Залесский
Новгород Великий
Псков
Ладога
Руса
Строительный материал был различен в зависимости от эпохи и области.
На юге применялся византийский квадратный кирпич, к XII в. сильно изменивший первоначальные пропорции; иногда применялась кладка «opus mixtum», т. е. смесь валунов, больших масс цемянки и кирпича.
В Новгороде кирпич уже в XII в. был вытеснен местным камнем. Во Владимиро-Суздальской Руси с середины XII в. также применялся исключительно белый камень, а стены ставились из двух облицовочных рядов с забутовкой пространства между ними известью и щебнем.
Существовали также различные способы изготовления связующих растворов. Иногда в известь добавляли паклю, толченый кирпич (Киев), золу и мелкий уголь (Смоленск).
Различны были и приемы кладки фундамента и возведения стен, способы освещения зданий и сама конструкция. В настоящее время можно считать установленным, что даже в самых первых постройках, которые раньше относили целиком за счет византийского строительного гения, можно указать ряд особенностей, объяснимых только участием в постройке русских рабочих и русских архитекторов[879]879
Н.И. Брунов. К вопросу о самостоятельных чертах русской архитектуры X–XII вв. – «Русская архитектура», М., 1940; И.В. Моргилевский. Черниговский собор. – «Чррнигiв та Пiвнiчне Лiвоберiжжя», Киïв, 1928; А.А. Строков. Ук. соч., Л., 1939.
[Закрыть].
Выработка к XII в. областных особенностей зодчества была следствием развития местной культуры отдельных княжеств и еще больше подчеркнула национальный характер каменного строительства.
Для истории русского ремесла очень важно отметить ту поразительную быстроту, с какой русские мастера восприняли и переработали новую для них византийскую технику. Ведь первые кадры строителей грандиозных соборов в Киеве, Чернигове и Новгороде могли учиться лишь на очень немногих образцах вроде Десятинной церкви. Очевидно, общий уровень культуры русских ремесленников эпохи Владимира был таков, что позволял им не только быстро осваивать изготовление кирпича, кладку стен, выкружку сводов, но даже вносить свое в греческий замысел («вежи» на углах церквей, треугольные фронтоны, подражающие деревянной кровле и др.).
В XII в. летописцы уже заносят в свои книги имена русских зодчих. Так известен строитель Георгиевского собора: «а мастер трудился Петр…»[880]880
Новгородская II летопись 1119 г.
[Закрыть] «В лето 6704 [1196]. Заложиста на црьковь камяну святого Кирила въ манастыри во Нѣлезѣнѣ Къснятин и Дъмитр братеника, а мастер бяше с Лубянѣй улицѣ Коровь Яковличь [курсив наш. – Б.Р.]. И начаша делати апрѣля, а кончаша июля въ 8, на святого Прокопия…»[881]881
Новгородская II летопись 1196 г. – Положение мастера здесь определено наличием отчества. Быстрота, с какой строилось большинство церквей в XII в., свидетельствует о значительных артелях строителей, а также и о том, что строительный материал имелся в предложении на рынке в заготовленном виде, а не изготавливался в процессе стройки.
[Закрыть]
В панегирике, написанном Рюрику Ростиславичу, который «… имея любовь несытну о зданьих», говорится, что он «… изобрете бо подобна дѣлу и художника во своихъ си приятеляхъ именем Милонѣг, Петр же по крещению, акы Моисей древле оного Веселиила, и приставника створи богоизволену дѣлу и мастера не проста…» (курсив наш. – Б.Р.)[882]882
Ипатьевская летопись 1200 г.
[Закрыть].
По поводу постройки Георгиевского собора в Юрьеве, этой прекрасной лебединой песни русского домонгольского искусства, летописец замечает, что «самъ князь бѣ мастеръ» (князь Святослав Всеволодич)[883]883
Тверская летопись 1231 г.
[Закрыть].
Каменное строительство у нас на Руси, как и на романском Западе или в Византии, неизбежно было синтезом самых различных ремесел.
Над украшением зданий трудились различные мастера, начиная от каменщиков и кончая ювелирами и живописцами.
Восторженные отзывы современников об архитектурно-художественном облике зданий полны таких выражений, как: «всякими узорочьи удиви ю [церковь]… тако, яко и всим приходящим дивитися и вси бо видивше ю не могуть оказати изрядныя красоты ея… [курсив наш. – Б.Р.]… Всю добродѣтелью церковьною исполнена, изъмечтана всею хитростью… и всякими виды и устроеньемъ подобна быста удивлению Соломоновѣ Святая Святых»[884]884
Ипатьевская летопись 1175 г. О строительстве Андрея Боголюбского в Боголюбове и Владимире.
[Закрыть].




























