Текст книги "Рассада. Использование и развитие метода Митлайдера в России"
Автор книги: Татьяна Угарова
Жанр:
Сад и Огород
сообщить о нарушении
Текущая страница: 9 (всего у книги 33 страниц)
3.1. Теплица для рассады оригинальной конструкции
Основное качество митлайдеровской теплицы – ее функциональность. Это значит, что каждый элемент конструкции наилучшим образом приспособлен к выполнению той функции, для которой он предназначен.
Отличительной особенностью и особым преимуществом этой теплицы является вентиляционное устройство – предельно простое в изготовлении, удобное и безотказное в эксплуатации. Вентиляционное отверстие идет вдоль всей теплицы от торца до торца. Оно располагается под коньком и обращено на южный скат крыши (рис. 3.1 и 3.2). Такое устройство вентилятора обеспечивает интенсивный и равномерный воздухообмен на всей площади теплицы, при холодной погоде надежно защищает рассадник от проникновения северного ветра, а в теплую и солнечную погоду позволяет не допустить перегрева.

Рис. 3.1. Общий вид теплицы конструкции Митлайдера

Рис. 3.2. Вентиляционное отверстие (показано стрелкой) идет вдоль всей теплицы от торца до торца
В теплице установлены столы для рассадных ящиков, а над ними лампы для досвечивания рассады (рис.3.3).

Рис. 3.3. Ящики co всходами на столах. Досвечивание всходов ртутными лампами ДРЛФ
Рассадник может быть отапливаемым (со стационарным или аварийным обогревом) или не отапливаемым, т. е. с солнечным обогревом. В любом случае его делают с двойным пленочным покрытием, оставляя 5-7,5-сантиметровую воздушную прослойку между слоями пленки. Если теплица согревается исключительно за счет парникового эффекта, ее можно использовать для выращивания рассады только после установления снаружи плюсовых дневных температур. За счет двойного покрытия внутренняя температура не опускается ниже 0° при кратковременном (ночном) похолодании до -5°.
В необогреваемом рассаднике с двойным пленочным покрытием растения не страдают от легких ночных заморозков. Однако в Нечерноземье, особенно в северных его областях, всегда есть угроза возврата холодов. Поэтому надежнее, когда в рассаднике имеются стационарные обогреватели, или хотя бы переносные обогреватели, которые можно запускать эпизодически, в аварийной ситуации.
Самым надежным и комфортным является рассадник со стационарным обогревом. Для равномерности обогрева трубы отопления прокладывают под каждым рядом столов вдоль всей длины теплицы. В таком рассаднике, при наличии установок для освещения растений, запускать рассаду можно в конце января или в начале февраля для высадки ее в конце марта или начале апреля в остекленные (или пленочные) обогреваемые теплицы. Но оправдано ли это с экономической точки зрения? Дороговизна источников энергии, в частности электроэнергии, часто делает нерентабельным эксплуатацию рассадной теплицы в зимние месяцы. В Нечерноземье даже в феврале световой день слишком короток, а наружная температура слишком низкая, чтобы можно было рассчитывать на решающий вклад солнечной энергии в освещение и отопление теплицы. Зато с началом весны в отапливаемом рассаднике при умеренном расходе электроэнергии можно создать идеальные условия для растений и в кратчайшие сроки вырастить рассаду для открытого и защищенного грунта.
После того, как высажена весенняя рассада, рассадник не простаивает. До середины лета в нем растят рассаду, которую высаживают на освободившиеся гряды.
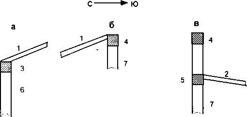
3.1.1. Особенности конструкции теплицыОдного взгляда бывает достаточно, чтобы отличить митлайдеровскую тепличку от любой другой. Двухскатная кровля теплицы имеет необычную конструкцию. Северный скат крыши более крутой, южный более пологий, и они не сходятся в коньке(рис.3.1).
В стандартных двухскатных теплицах стропила северного и южного скатов опираются на одну балку, которая называется коньковый брус. В митлайдеровской теплице, стропила северного и южного скатов опираются на две разные балки, которые находятся на разной высоте. На коньковом брусе крепятся стропила северного ската кровли, а балка для стропил южного ската устанавливается на 45 см ниже (рис.3.4).

Рис. 3.4. На коньковом брусе крепят стропила северного ската. Для крепления стропил южного ската балку устанавливают на 0,45 м ниже
Между коньковым брусом и второй балкой остается 45-и сантиметровый проём, идущий вдоль всей теплицы. Это и есть вентиляционное отверстие. Оно закрывается форточкой – полиэтиленовой лентой шириной 65 см, верхний край которой прибивается к коньковому брусу, а нижний, зажатый двумя тонкими рейками, свободно свисает внутрь теплицы. Благодаря тяжести реек свободно висящая полиэтиленовая лента плотно прижимается к внутренней поверхности второй балки и надежно блокирует вентиляционное отверстие.
Форточка открывается с помощью веревок, которые прикрепляются к рейкам, зажимающим полиэтиленовую ленту (рис.3.2). Свободный конец веревок пропускают через кольца (или блоки), закрепленные на стропилах северного ската крыши. На каждой веревке завязывают по 3 петли – одну на свободном конце, другие несколько выше. Петли, завязанные на разном уровне, позволяют открывать форточку полностью или частично. Чтобы установить желаемый уровень вентиляции в теплице, достаточно оттянуть веревки ляции в теплице, достаточно оттянуть веревки вниз и надеть нижние, средние или верхние петли на гвозди, вбитые в центральные стойки или ножки столов (рис.3.5.) Чтобы закрыть форточку, достаточно снять петли с гвоздей – форточка захлопнется автоматически. С такой системой вентиляции справится даже ребенок!

Рис. 3.5. Регулировка проветривания: форточка закрыта (а), открыта частично (б) и полностью (в): 1 – вентиляционное отверстие, 2 – полиэтиленовая форточка, 3 – рейки, зажимающие полиэтиленовую ленту, 4– блок на стропилах северного ската, 5 – шнур с петлями, 6 – выравнивающая рейка
3.1.2. Ориентация рассадной теплицы
Приступая к постройке рассадника, нужно выполнить самое важное условие, которое в дальнейшем определит успех в получении качественной рассады:
Под застройку теплицы надо выделить площадку, которая освещается солнцем весь день, с утра до вечера.
Торцы теплицы ориентируют на восток и на запад, тогда длинные (боковые) стороны будут обращены на север и юг.
Двери в рассаднике обычно устанавливают в торцах. Петли в дверных проемах всегда навешивают с северной стороны. Тогда при открывании дверей помещение будет защищено от проникновения северного ветра. В рассадниках со стационарным обогревом, которые начинают эксплуатировать в конце зимы, вход в теплицу делают с тамбуром.
3.1.3. Размеры и устройство стандартной рассадной теплицыДля выращивания большего количества рассады, значительная часть которой предназначается на продажу, удобна теплица со следующими габаритами:
Габариты стандартной рассадной теплицы конструкции Митлайдера
Длина 12 м, ширина 6 м, высота в коньке 2,7 м, высота боковых стенок 1,8 м.
Рассадник имеет 3 ряда столов общей площадью около 43 кв. м, на которых одновременно можно выращивать до 100-150 тысяч сеянцев или 5-10 тысяч кустиков рассады после пикировки.
Вдоль всей теплицы идут 3 ряда столов для рассадных ящиков – по одному ряду вдоль боковых сторон и двойной ряд по центру теплицы. Ширина боковых столов – 0,9 м, ширина центрального ряда – 1,8 м, проходы между рядами – 1 м. При наличии отопительной системы трубы пропускают под столами.
Рассаду выращивают в стандартных деревянных ящиках размером 45x45x7,5 см, которые размещают на столах вплотную друг к другу. На боковых столах ящики ставят в 2 ряда, на центральных – в 4 ряда. Общая площадь столов в рассаднике позволяет установить одновременно до 200 стандартных ящиков. Такой рассадник рассчитан на одновременное выращивание 100-150 тысяч сеянцев или 5-10 тысяч кустиков рассады после пикировки.
Для фермерского хозяйства, ориентированного на продажу рассады, такого количества растений может быть мало. По многим причинам, в том числе для большей фитосанитарной безопасности, не рекомендуется увеличивать размеры рассадника. Разумнее поставить торец в торец еще одну или несколько теплиц стандартного размера. Они могут быть разного класса: со стационарным, аварийным или солнечным обогревом, с установками для электродосвечивания или без них, с двойным или одинарным пленочным покрытием. Преимущества разнообразия очевидны – рассадники можно запускать не одновременно, а по мере возникновения потребности в площадях, и в них можно создавать разные температурные и световые режимы.
Какого бы класса теплицы не строились, важно сохранить главное достоинство митлайдеровской конструкции – ее вентиляционное устройство, а также такие особенности технологии, как выращивание рассады на столах и в ящиках.
Адаптация технологии Митлайдера для минирассадника, рассчитанного на удовлетворение потребностей в рассаде семейного огорода, описана в разделе 4.
3.1.4. Материалы для сооружения каркаса стандартной теплицыКаркас теплицы изготавливают из пиломатериалов. Ниже приведено количество пиломатериалов, нужное для строительства теплицы размером 12x6x2,7 (1,8) м. На центральные (подконьковые) и боковые стойки, а также на балки идут брусья 100x100 мм; на стропила, шпросы и дверные стойки – рейки 50x75 мм; на нижнюю обвязку – доски 25x200 мм; для усиления каркаса используют доски 25x100 мм; для закрепления пленки на каркасе – рейки 25x50 мм. Для прибивания внутреннего слоя пленки годятся также полосы 5‑миллиметровой фанеры, полученные распиливанием листа вдоль волокон.
При необходимости для стоек и балок можно сделать составные брусья. Двухдюймовые доски шириной 200 мм разрезают вдоль дисковой электропилой, и полученные доски шириной 100 мм скрепляют гвоздями или шурупами.
Число элементов каркаса и их размеры
• Центральные стойки – 5 шт., длиной 3,05 м.
• Боковые стойки – 10 шт., длиной 2,15 м.
• Коньковый брус и 3 другие балки, всего 8 брусков длиной 6 м.
• Стропила – 42 шт., длиной 3 м.
• Боковые шпросы – 32 шт., длиной 1,5 м.
• Дверные стойки и торцовые шпросы – 16 шт., длиной 2,4 м.
• Доска дюймовая для нижней обвязки (25х 200 мм)
– 12 шт., длиной 3 м.
• Доска дюймовая для угловых распорок (25x100 мм).
• Рейки 25x50 мм произвольной длины для прибивания пленки к элементам каркаса.
Перед сборкой каркаса все его элементы обрабатывают 10%-ным раствором железного (или медного) купороса, а те части брусьев, которые будут вкапываться в землю, покрывают битумом или обжигают паяльной лампой.
3.1.5. Строительство каркаса рассадной теплицы
Рис. 3.6. Установка центральной стойки (а), конькового бруса (б) и балки для стопил южного ската: 1 – центральная стойка, 2 – пазы на стойках и балке, 3 – коньковый брус, 4 – балка
Выделенную под строительство площадку расчищают, разравнивают и размечают, вбивая колышки на месте боковых и подконьковых стоек. Длинные (боковые) стороны теплицы должны быть обращены на север и юг. Расстояние между стойками – 3 м, стойки заглубляют на 0,45 м. Боковые стойки возвышаются над уровнем земли на 1,7 м, подконьковые – на 2,6 м.
Прежде чем установить подконьковые стойки, на брусьях на расстоянии 0,45 м от конца выпиливают пазы глубиной 50 мм и шириной 100 мм. Стойки устанавливают так, чтобы пазы были обращены на юг (рис. 3.6, а).
На верхние концы стоек помещают балки. На каждый ряд боковых стоек помещают по одной балке, (т. е. по два 6-и метровых бруска). На подконьковых (центральных) стойках укрепляют 2 балки (всего 4 бруска длиной по 6 м): коньковый брус прибивают к верхним концам стоек (рис. 3.6,6), а вторую балку укрепляют в пазах, вырезанных на 0,45 м ниже (рис. 3.6, в). На ней также выпиливают пазы, и плотно подгоняют пазы друг к другу.
Боковые стороны центральных стоек и нижней балки должны быть вровень (заподлицо). Между коньковым брусом и нижней балкой остается 0,45‑метровый промежуток – вентиляционное отверстие.
Разметьте на коньковом брусе посадочные места для стропил северного ската кровли, а на нижней балке – посадочные места для стропил южного ската. Расстояние между стропилами – 0,6 м. Рейки, предназначенные для стропил северного ската запиливают с одного конца под таким углом, чтобы стропила плотно прилегали сбоку к коньковому брусу, заподлицо с его верхним краем (рис.3.7, б). Другой конец реек запиливают таким образом, чтобы подогнать нижний конец стропил к верху боковой балки заподлицо с ее наружным краем. Стропила южного ската верхним концом крепят на балке, расположенной ниже вентиляционного отверстия, подгоняя их к боковой стороне, заподлицо с ее верхним краем (рис.3.7, в).

Рис. 3.7. Крепление стропил на боковых балках (а), на коньковом брусе (б) и на нижней центральной балке: 1 – стропила северного ската, 2 – стропила южного ската, 3 – боковая балка, 4 – коньковый брус, 5 – нижняя центральная балка, 6 —боковая стойка, 7 – подконьковая (центральная) стойка
Расстояние между боковыми шпросами – 0,6 м, их расположение соответствует расположению стропил. Верхний конец реек крепят на боковой балке с нижней ее стороны вровень с наружным краем, а нижней конец – на досках нижней обшивки, которые прибивают с наружной стороны каркаса.
Торцовые шпросы также устанавливают с промежутками 0,6 м, закрепляя их сверху на крайних стропилах северного и южного ската крыши. Размер двери 0,75x1,8 м. Двери делают с обеих торцовых сторон. Петли всегда навешивают с северной стороны дверного каркаса.
Для придания каркасу теплицы большей жесткости угловые соединения стоек и балок укрепляют подкосами (распорками), выполненными из дюймовых досок шириной 100 мм.
3.1.6. Обтягивание каркаса пленкойКаркас теплицы обтягивают пленкой после сооружения столов (раздел 3.1.7).
Рекомендуется покрывать северный скат крыши и северную боковую стенку одним куском пленки. Работать с широким и длинным полотном можно только в абсолютно безветренную погоду. Пленку натягивают на каркас и закрепляют рейками на стропилах. В качестве предохранительной меры, (чтобы удержать пленку на месте в случае ветра), рейки сначала прибивают не подряд, а с пропусками. Только когда пленка закреплена по всей крыше, от торца до торца, набивают рейки на все оставшиеся стропила. Пленка закрепляется рейками на каждом из них. Чтобы пленки не рвалась при ветре, рейки должны плотно прилегать к стропилам, а промежутки между гвоздями должны быть не больше 0,3 м. Точно так же пленку прикрепляют рейками ко всем вертикальным элементам боковой стенки. Затем в том же порядке покрывают пленкой южный скат крыши и южную боковую сторону.
Торцовые стенки покрывают пленкой после того, как будут установлены на место дверные рамы. Пленкой покрывают весь торец целиком, включая дверные рамы. Пленку прикрепляют рейками к крайним стропилам, к вертикальным элементам торца и ко всем элементам дверной рамы. После этого пленку прорезают по всему периметру двери.
3.1.7. Установка форточкиПосле покрытия каркаса пленкой, в крыше остался проем (0,45 м), расположенный непосредственно под коньком над южным скатом крыши. Это вентиляционное отверстие, которое идет вдоль всей теплицы.
Для изготовления форточки нужна лента из полиэтиленовой пленки шириной 0,6 м и длиной 12 м. После установки столов на них вдоль всей теплицы выкладывают рейки (25x50 мм) произвольной длины. На рейки помещают край полиэтиленовой ленты. Поверх выкладывают второй ряд реек, и плотно сбивают верхние и нижние рейки вместе с расположенной между ними пленкой.
Свободный край пленки прибивают рейками к внутренней (северной) стороне конькового бруса сразу под стропилами. При таком креплении форточка, когда она висит свободно, прилегает к боковой (северной) стороне нижней балки и закрывает вентиляционное отверстие (рис. 3.5, а). Чтобы прилегание было плотным, нужно, чтобы внутренние боковые поверхности второй балки и подконьковых стоек, на которых она закреплена, были вровень друг с другом. Еще надежнее по всей внутренней боковой стороне второй балки набить выравнивающие рейки.
Форточку открывают с помощью веревок, прикрепленных к ее нижнему краю. На стропилах северного ската, на тех из них, которые расположены над стойками, укрепляют блоки или кольца, отступя на 0,7 м от конькового бруса. К рейкам, зажимающим нижний край полиэтиленовой форточки, прикрепляют прочные бельевые веревки и свободный их конец пропускают через блок или кольцо. Чтобы открыть форточку, достаточно потянуть за конец веревки.
Для фиксации форточки в определенном положении на веревках завязывают петли. Одну петлю делают на конце веревок, две другие завязывают, отступя от конца веревки на 0,3 м и на 0,6 м. В центральные стойки (или в ножки расположенных возле них столов) вбивают крупные гвозди или ввинчивают крючки, за которые цепляют петли. Длина веревок должна быть подобрана таким образом, чтобы при фиксации за верхнюю петлю, форточка была открыта полностью (рис.3.5, в). Фиксируя форточку с помощью двух других петель, можно регулировать ширину отверстия и устанавливать желаемый уровень вентиляции (рис.3.5, б).
3.1.8. Столы для рассадных ящиковВыращивание рассады на столах создает удобства для огородника, в несколько раз снижает затраты труда и времени на уход за рассадой, улучшает фитосанитарные условия в рассаднике, предохраняет растения от заражения грибковыми заболеваниями.
Рассадные ящики располагают на столах вплотную друг к другу. Столы имеют высоту 0,75 м, ширину 0,9 м или 1,8 м, в зависимости от того, рассчитаны они на 2 или на 4 ряда ящиков. Вдоль всей теплицы идут три ряда столов – два 90-сантиметровых пристеночных и двойной ряд посередине.
Отличительная особенность столов – поперечное решетчатое покрытие. Столешницы делают решетчатыми, чтобы жидкость не застаивалась под ящиками, а свободно стекала на землю.
Для получения качественной рассады важно, чтобы поверхность столешниц была абсолютно ровной и горизонтальной. При сооружении столов горизонтальность столешниц обязательно проверяется по уровню.
Для ножек столов можно использовать жерди, которые нарезают на отрезки длиной 1 м и заостряют с одного конца. Боковые столы имеют 2 ряда ножек. Один ряд устанавливают по линии, соединяющей внутренние края боковых стоек теплицы, другой – отступя 0,75 м от этой линии. Заостренные отрезки жердей вбивают в землю на глубину 0,25 м на расстоянии 0,7 м один от другого (рис.3.8).

Рис. 3.8. Боковые столы для рассады с решетчатыми столешницами
Центральный (двойной) стол теплицы имеет 3 ряда ножек: один по линии центральных стоек и два других на расстоянии 0,75 м от нее (рис.3.9). Все верхние концы ножек должны находится на одной высоте.

Рис. 3.9. Центральные столы для рассады с решетчатыми столешницами
На каждый ряд ножек набивают двухдюймовые доски шириной 100 мм (50x100 мм).. После проверки горизонтальности на них в поперечном направлении набивают дюймовые доски шириной не более 100 мм. Для боковых столов дюймовые доски нарезают на отрезки длиной 0,9 м, а для центрального стола – длиной 1,8 м. Между досками оставляют зазоры по 25-30 мм.
Такие же столы с решетчатым покрытием и с абсолютно горизонтальной поверхностью сооружают вне рассадника. Удобно устанавливать их в непосредственной близости от рассадника – вдоль южной его стороны (рис.3.10). Если это по каким–то причинам не проходит, нужно выбрать для наружных столов солнечную, защищенную от северного ветра площадку. Наружные столы служат для закаливания рассады перед высадкой ее в грунт.

Рис. 3.10. Наружные столы для закаливания рассады
Для качества рассады необходимо, чтобы столы имели абсолютно горизонтальную поверхность, а для удобства работника важно, чтобы столы имели поперечное, а не продольное решетчатое покрытие.
Как связана горизонтальность столешниц с качеством рассады? Даже при незначительном уклоне жидкость стекает к одной стороне ящика, растения обеспечиваются водой и питательными веществами неравномерно, а потому и растут неравномерно.
А почему нельзя вместо поперечного сделать продольное решетчатое покрытие? Теоретически в этом нет никакой разницы, были бы зазоры для стока воды. А на практике познается, что это незначительное изменение, делает столы неудобными, т. к. затрудняет передвижение рассадных ящиков по поверхности столешниц.
3.1.9. Отопление и освещение рассадникаИдеально, если рассадник имеет стационарный технический обогрев и лампы для досвечивания рассады.
Из всех видов технического обогрева наиболее функциональным является водяной обогрев. Трубы, в которые подается горячая вода, идут вдоль всей теплицы. Их прокладывают под столами на некотором расстоянии от пола. Бойлер (водогрейный котел) должен быть установлен в другом помещении. Там, где есть магистральный газ, самое простое и экономичное решение – нагрев котла за счет сжигания газа. В большинстве случаев газ недоступен, и тогда для нагрева воды используют твердое топливо, солярку или электроэнергию.
Дороговизна электроэнергии препятствует ее широкому использованию для обогрева рассадников. Электрообогрев, в том числе прямой электрический обогрев с помощью масляных радиаторов, вентиляторных нагревателей и других приборов, можно рассматривать только как аварийный – для спасения рассады в критической ситуации.
Считается общепринятым, что выше 45° северной широты в первую половину весны для выращивания качественной рассады требуется дополнительное искусственное освещение. Для электродосвечивания рассады применяют различного типа разрядные лампы.
До последнего времени в рассадных теплицах наиболее распространенными были ртутные люминесцентные лампы высокого давления типа ДРЛФ (рис.3.3). В комплекте с пускорегулирующим устройством эти лампы мощностью 250 Вт и 400 Вт широко известны как облучатели ОТ-250 и ОТ-400, соответственно. При подвеске над столами с рассадными ящиками на высоте 1,1 м и при расстоянии между лампами 1,6 м установки ОТ-400 обеспечивают освещенность, равную 4000 люкс. Эта освещенность достаточна для досвечивания томатной (самой светолюбивой) рассады после пикировки, но она в 2 раза ниже, чем требуется для всходов и сеянцев томата. Поэтому над столами, куда ставят ящики с всходами, и где растят сеянцы до пикировки, лампы ДРЛФ 400 подвешивают на высоте 0,85 м при расстоянии между лампами 1 м.
В последнее время ведущие тепличные хозяйства во всем мире заменяют ртутные люминесцентные лампы натриевыми лампами высокого давления. Натриевые лампы имеют несомненные преимущества перед ртутными лампами. Они сочетают высокую радиационную эффективность со спектром, благоприятным для фотосинтеза, дают стабильный световой поток, имеют продолжительный срок службы. Их оранжевое свечение (свет заходящего солнца) не является раздражающим для человеческого глаза. По сумме показателей они оказываются наиболее предпочтительными как с технологической (качество и скорость роста рассады), так и с экономической точки зрения (раздел 5.3.3).
Отечественная промышленность выпускает для теплиц натриевые лампы трех серий: с прозрачной колбой (серии ДНаТ); со светорассеивающей колбой (серии ДНаМт) и зеркальной колбой серии Рефлакс (ДНаЗ). Мощность ламп от 50 до 400 Вт. В серии Рефлакс имеются особые лампы Reflux Н 350 и Reflux H 220, которые могут быть установлены в светильники ОТ-400 и ОТ-250. Они работают с пускорегулирующей аппаратурой для ДРЛФ 400 или ДРЛФ 250 соответственно, и предназначены для прямой замены ртутных ламп без дополнительного переоборудования осветительной сети.

Рис. 3.11. Натриевые лампы высокого давления серии Рефлакс с внутренним зеркальным отражателем
Лампы серии Рефлакс (рис.3.11) имеют особые достоинства. Все остальные лампы требуют отражателей. Без отражателя около 80% света, излучаемого лампой, рассеивается в пространстве без пользы для растений. Зеркальная внутренняя поверхность колб у ламп Рефлакс представляет собой отражатель, который позволяет 95% излучаемого света направлять на растения и обеспечивает продольное (вдоль столов с рассадой) распределение светового потока. В таблице 7 приведено количество ламп Рефлакс 250, необходимое для создания заданной освещенности при подвеске над столами на высоте 1 м. Монтаж светильников производится над центром столов. Лампы располагают поперек.
Таблица 7 Расчетное количество светильников REFLAX 250 над полосой столов шириной 0,9 м и длиной 12 м

Высокая эффективность натриевого излучателя, помноженная на особые достоинства серии Рефлакс, позволяет при сохранении прежнего уровня освещенности в 2-3 раза уменьшить количество ламп и расход электроэнергии по сравнению с ртутными лампами. А при одинаковом расходе электроэнергии уровень освещенности, достигаемый с лампами Рефлакс в 2—3 раза выше, чем с ртутными лампами типа ДРЛФ.









![Обложка: Честь Воина [CИ]](/files/books/110/no-cover.jpg)