Текст книги "Большая Советская Энциклопедия (ИН)"
Автор книги: Большая Советская Энциклопедия
Жанр:
Энциклопедии
сообщить о нарушении
Текущая страница: 45 (всего у книги 66 страниц)
Интеграл вероятности
Интегра'л вероя'тности, название нескольких связанных друг с другом специальных функций. Интеграл

называют интегралом вероятности Гаусса. Для случайной величины X , имеющей нормальное распределение с математическим ожиданием 0 и дисперсией s2 , вероятность неравенства |X| £ x равна F(х /s). Наряду с этим название И. в. употребляют для интегралов

Последнюю функцию обозначают обычно erf(x ) (от error function – «функция ошибок»).
Лит.: Большев Л. Н., Смирнов Н. В., Таблицы математической статистики, М., 1965.
Интегральная геометрия
Интегра'льная геоме'трия, раздел математики, в котором изучаются некоторые специальные числовые характеристики («меры») для множеств точек, прямых, плоскостей и др. геометрических объектов, вычисляемые, как правило, с помощью интегрирования. При этом «мера» должна удовлетворять требованиям: 1) аддитивности (мера множества , состоящего из нескольких частей, равна сумме мер этих частей), 2) инвариантности относительно движений (два множества, отличающиеся только положением, имеют одинаковые меры). К И. г. относятся прежде всего задачи нахождения длин, площадей и объёмов, решаемые посредством интегрирования (соответственного простого, двойного и тройного).
Толчком для развития И. г. послужили задачи, относящиеся к так называемым геометрическим вероятностям, определяемым как отношение меры множества благоприятных случаев к мере множества всех возможных случаев (по аналогии с классическим определением вероятности, как отношения числа благоприятных случаев к числу всех возможных случаев). Первым и наиболее известным примером является «задача Бюффона» (1777): на плоскость, покрытую рядом параллельных прямых, среди которых каждые две соседние находятся на расстоянии h , падает случайным образом тонкая цилиндрическая игла, длина l которой меньше расстояния h между параллелями; какова вероятность того, что игла пересечёт одну из этих прямых. Эта задача равносильна следующей: какова вероятность того, что наудачу взятая секущая круга (диаметра h ) пересечёт данный отрезок длины l < h с серединой в центре круга. Эту вероятность определяют как отношение «меры» множества прямых, пересекающих данный отрезок, к «мере» множества прямых, пересекающих данный круг. «Меру» множеств прямых, состоящих из секущих выпуклых фигур с контурами конечной длины, вводят так, чтобы выполнялись сформулированные выше два требования: аддитивности и инвариантности.
В случае множества всех прямых, пересекающих прямолинейный отрезок, мера этого множества должна быть, в силу инвариантности относительно движений, функцией только длины отрезка. Из требования аддитивности меры следует, что эта функция f (x ) должна быть аддитивной: f (x + y ) = f (x ) + f (y ), а отсюда вытекает f (x ) = Cx , где C – постоянная. Итак, на плоскости мера множества всех прямых, пересекающих данный отрезок, должна быть пропорциональна его длине. Коэффициент пропорциональности удобно принять равным 2, т. е. условиться, что за меру множества прямых, пересекающих отрезок длины 1, принимается число 2. Тогда мера множества прямых, пересекающих любой отрезок, окажется равной удвоенной его длине.
Рассматривая множество прямых, пересекающих (каждая в двух точках) контур некоторого выпуклого многоугольника, можно вывести, что мера рассматриваемого множества равна просто периметру.
Переходя, наконец, к множеству прямых, пересекающих выпуклую замкнутую линию («овал»), нетрудно установить, что на плоскости мерой множества прямых, пересекающих данную выпуклую линию, должна быть длина этой линии.
В задаче Бюффона имеют в качестве меры множества благоприятных случаев удвоенную длину (2l ) иглы, а для меры множества возможных случаев – длину (ph ) окружности диаметра h ; поэтому искомая вероятность р = 2l/ ph . Этот результат не раз проверялся на опытах с бросанием иглы. В одном из таких опытов было произведено 5000 бросаний; при l = 36 мм , h = 45 мм получилась частота пересечений 0,5064, что даёт приближённое значение для p = 3,1596.
С некоторыми видоизменениями изложенная теория может быть перенесена на множества прямых, пересекающих невыпуклые контуры. Вообще, для двухпараметрических множеств прямых на плоскости мера (m) может быть определена формулой m = òòd rd j, где r, j – полярные координаты проекции полюса на прямую. Если прямая задана уравнением ux + uy = 1 (x , y — прямоугольные координаты точки), то

В конце 19 – начале 20 вв. исследования по И. г. ещё связаны с геометрическими вероятностями (работы английского математика М. Крофтона, французского математика А. Пуанкаре), но уже в работе французского математика Э. Картана (1896) они входят в общую теорию интегральных инвариантов, а в 20-х гг. 20 в. складываются в самостоятельную теорию с разнообразными приложениями: к геометрии «в целом», прежде всего к изучению выпуклых областей, к геометрической оптике и теории излучения.
Лит.: Бляшке В., Лекции по интегральной геометрии, пер. с нем., «Успехи математических наук», 1938, в. 5; Вlaschke W., Vorlesungen über Integralgeometrie, H. 2. B.—Lpz., 1937.
Я. С. Дубнов.
Интегральная кривая
Интегра'льная крива'я, кривая, изображающая геометрически решение дифференциального уравнения или системы дифференциальных уравнений. См. Дифференциальные уравнения .
Интегральная показательная функция
Интегра'льная показа'тельная фу'нкция, специальная функция, определяемая интегралом

Этот интеграл не выражается в конечной форме через элементарные функции. Если x > 0, то интеграл понимается в смысле главного значения:

Лит. см. при статье Интегральный логарифм .
Интегральная схема
Интегра'льная схе'ма, интегральная микросхема, микроминиатюрное электронное устройство, все или часть элементов которого нераздельно связаны конструктивно и соединены между собой электрически. Различают 2 основных типа И. с.: полупроводниковые (ПП) и плёночные.
ПП И. с. (рис. 1 ) изготавливают из особо чистых ПП материалов (обычно кремний, германий), в которых перестраивают саму решётку кристаллов так, что отдельные области кристалла становятся элементами сложной схемы. Маленькая пластинка из кристаллического материала размерами ~1 мм2 превращается в сложнейший электронный прибор, эквивалентный радиотехническому блоку из 50—100 и более обычных деталей. Он способен усиливать или генерировать сигналы и выполнять многие другие радиотехнические функции.
Технология изготовления ПП И. с. обеспечивает одновременную групповую обработку сразу большого количества схем. Это определяет в значительной степени идентичность схем по характеристикам. ПП И. с. имеют высокую надёжность за счёт использования планарного процесса изготовления и значительного сокращения числа микросоединений элементов в процессе создания схем.
ПП И. с. развиваются в направлении всё большей концентрации элементов в одном и том же объёме ПП кристалла, т. е. в направлении повышения степени интеграции И. с. Разработаны И. с., содержащие в одном кристалле сотни и тысячи элементов. В этом случае И. с. превращается в большую интегральную систему (БИС), которую невозможно разрабатывать и изготовлять без использования электронных вычислительных машин высокой производительности.
Плёночные И. с. создаются путём осаждения при низком давлении (порядка 1×10-5мм рт. ст. ) различных материалов в виде тонких (толщиною < 1 мкм ) или толстых (толщиной > 1 мкм ) плёнок на нагретую до определённой температуры полированную подложку (обычно из керамики). В качестве материалов применяют алюминий, золото, титан, нихром, окись тантала, моноокись кремния, титанат бария, окись олова и др. Для получения И. с. с определёнными функциями создаются тонкоплёночные многослойные структуры осаждением на подложку через различные маски (трафареты) материалов с необходимыми свойствами. В таких структурах один из слоев содержит микрорезисторы, другой – микроконденсаторы, несколько следующих – соединительные проводники тока и другие элементы. Все элементы в слоях имеют между собой связи, характерные для конкретных радиотехнических устройств.
Плёночные элементы распространены в гибридных И. с. (рис. 2 ). В этих схемах на подложку сначала наносятся в виде тонких или толстых плёнок пассивные элементы (резисторы, конденсаторы, проводники тока), а затем с помощью микроманипуляторов монтируют активные элементы – бескорпусные ПП микроэлементы (транзисторы и диоды).
По своим конструктивным и электрическим характеристикам ПП и гибридные И. с. дополняют друг друга и могут одновременно применяться в одних и тех же радиоэлектронных комплексах. В целях защиты от внешних воздействий И. с. выпускают в защитных корпусах (рис. 3 ). По количеству элементов различают И. с.: 1-й степени интеграции (до 10 элементов), 2-й степени интеграции (от 10 до 100) и т. д.
Размеры отдельных элементов И. с. очень малы (порядка 0,5—10 мкм ) и подчас соизмеримы с размерами пылинок (1—100 мкм ). Поэтому производство И. с. осуществляется в особо чистых условиях. О технологических процессах изготовления И. с. см. в ст. Микроэлектроника .
Создание И. с. развивается по нескольким направлениям: гибридные И. с. с дискретными активными элементами; ПП И. с., выполненные в монолитном блоке ПП материала; совмещенные И. с., в которых активные элементы выполнены в монолитном блоке ПП материала, а пассивные элементы нанесены в виде тонких плёнок; плёночные И. с., в которых активные и пассивные элементы нанесены на подложку в виде тонких плёнок. О применении И. с. см. в ст. Интегральная электроника .
Лит.: Колосов Д. А., Горбунов Ю. И., Наумов Ю. Е., Полупроводниковые твердые схемы, М., 1965; Интегральные схемы. Принципы конструирования и производства, пер, с англ., под ред. А. А. Колосова, М., 1968; Интегральные схемы. Основы проектирования и технологии, пер. с англ., под ред. К. И. Мартюшова, М., 1970.
И. Е. Ефимов.

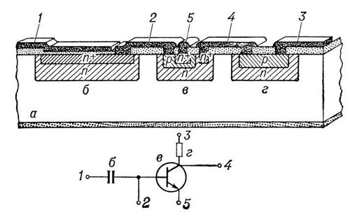
Рис. 1. Поперечное сечение и электрическая схема полупроводниковой интегральной схемы. На рис. сгущенными точками показаны слои проводников тока из алюминия; разреженными точками показаны слои полупроводника из двуокиси кремния; косыми линиями показаны слои кремния с проводимостью n, с повышенной проводимостью n+ и р – типов: участок полупроводника (подложка )с проводимостью р – типа а образует конденсатор б, транзистор в, резистор г; цифрами отмечены участки интегральной схемы, соответственно обозначенные на электрической схеме.

Рис. 2. Поперечное сечение и электрическая схема гибридной интегральной схемы. На рис. разреженными точками показаны слои полупроводника из окиси кремния; вертикальными разреженными линиями показан слой хрома; вертикальными сгущенными линиями показан слой из хромистого никеля (NiCr); горизонтальными линиями показаны слои проводников тока из золота или серебра; на керамической подложке а выполнены конденсатор б , транзистор в , резистор г ; цифрами отмечены участки интегральной схемы, соответственно обозначенные на электрической схеме.
Интегральная электроника
Интегра'льная электро'ника, интегральная микроэлектроника, область электроники, решающая проблемы конструирования, изготовления и применения интегральных схем и функциональных устройств. И. э. представляет собой дальнейший этап развития технологии изготовления полупроводниковых приборов на основе применения высокопроизводительных групповых технологических процессов (см. в ст. Микроэлектроника ). Основные разработки в области И. э. направлены на создание: интегральных схем (полупроводниковых, плёночных, гибридных), функциональных интегральных узлов, молектронных и оптоэлектронных устройств, ионных приборов (см. Молекулярная электроника и Оптоэлектроника ).
Наиболее развита полупроводниковая и плёночная (гибридная) микроэлектроника, обеспечивающая массовое промышленное производство стандартных интегральных схем. Особенности развития этих направлений заключаются в непрерывном повышении функциональной сложности и увеличении степени интеграции схем. Оба направления тесно взаимосвязаны и дополняют друг друга. Функциональные интегральные узлы, молектронные и оптоэлектронные устройства являются дальнейшим развитием интегральной технологии на основе методов полупроводниковой и плёночной технологии. Интегральные схемы широко применяют в ЭВМ, контрольно-измерительной аппаратуре, бытовых радиоэлектронных приборах, аппаратуре связи и мн. др. Одним из перспективных направлений И. э. является диэлектрическая электроника .
Лит.: Микроэлектроника, Сб. ст., под ред. ф. В. Лукина, в. 1, М., 1967; Введение в микроэлектронику, пер. с англ., под ред. И. П. Степаненко, М., 1968.
К. Я. Прохоров.
Интегральное исчисление
Интегра'льное исчисле'ние, раздел математики, в котором изучаются свойства и способы вычисления интегралов и их приложения. И. и. тесно связано с дифференциальным исчислением и составляет вместе с ним одну из основных частей математического анализа (или анализа бесконечно малых). Центральными понятиями И. и. являются понятия определённого интеграла и неопределённого интеграла функций одного действительного переменного.
Определённый интеграл. Пусть требуется вычислить площадь S «криволинейной трапеции» – фигуры ABCD (см. рис. ), ограниченной дугой непрерывной линии, уравнение которой у = f (x ), отрезком AB оси абсцисс и двумя ординатами AD и BC. Для вычисления площади S этой криволинейной трапеции основание AB (отрезок [a , b ]) разбивают на n участков (необязательно равных) точками а = x < x1 < ... < xn-1 < < xn=b , обозначая длины этих участков Dx1 , Dx2 , ..., Dxn ; на каждом таком участке строят прямоугольники с высотами f (x1 ), f (x2 ), ..., f (xn ) где xk – некоторая точка из отрезка [xk – 1 , xk ] (на рис. заштрихован прямоугольник, построенный на k-м участке разбиения; f (xk ) – его высота). Сумма Sn площадей построенных прямоугольников рассматривается в качестве приближения к площади S криволинейной трапеции:
S » Sn = f (x1 ) Dx1 + f (x2 ) Dx2 + f (xn ) Dxn
или, применяя для сокращения записи символ суммы S (греческая буква «сигма»):

Указанное выражение для площади криволинейной трапеции тем точнее, чем меньше длины Dxk участков разбиения. Для нахождения точного значения площади S надо найти предел сумм Sn в предположении, что число точек деления неограниченно увеличивается и наибольшая из длин Dxk стремится к нулю.
Отвлекаясь от геометрического содержания рассмотренной задачи, приходят к понятию определённого интеграла от функции f (x ), непрерывной на отрезке [а, b ], как к пределу интегральных сумм Sn при том же предельном переходе. Этот интеграл обозначается

Символ ò (удлинённое S – первая буква слова Summa) называется знаком интеграла, f (x ) – подинтегральной функцией, числа а и b называются нижним и верхним пределами определённого интеграла. Если а = b , то, по определению, полагают

кроме того,

Свойства определённого интеграла:


(k — постоянная). Очевидно также, что

(численное значение определённого интеграла не зависит от выбора обозначения переменной интегрирования).
К вычислению определённых интегралов сводятся задачи об измерении площадей, ограниченных кривыми (задачи «нахождения квадратур»), длин дуг кривых («спрямление кривых»), площадей поверхностей тел, объёмов тел («нахождение кубатур»), а также задачи определения координат центров тяжести, моментов инерции, пути тела по известной скорости движения, работы, производимой силой, и многие другие задачи естествознания и техники. Например, длина дуги плоской кривой, заданной уравнением у = f (x ) на отрезке [a , b ], выражается интегралом

объём тела, образованного вращением этой дуги вокруг оси Ox ,– интегралом

поверхность этого тела – интегралом

Фактическое вычисление определённых интегралов осуществляется различными способами. В отдельных случаях определённый интеграл можно найти, непосредственно вычисляя предел соответствующей интегральной суммы. Однако большей частью такой переход к пределу затруднителен. Некоторые определённые интегралы удаётся вычислять с помощью предварительного отыскания неопределённых интегралов (см. ниже). Как правило же, приходится прибегать к приближённому вычислению определённых интегралов, применяя различные квадратурные формулы (например, трапеций формулу , Симпсона формулу ). Такое приближённое вычисление может быть осуществлено на ЭВМ с абсолютной погрешностью, не превышающей любого заданного малого положительного числа. В случаях, не требующих большой точности, для приближённого вычисления определённых интегралов применяют графические методы (см. Графические вычисления ).
Понятие определённого интеграла распространяется на случай неограниченного промежутка интегрирования, а также на некоторые классы неограниченных функций. Такие обобщения называются несобственными интегралами .
Выражения вида

где функция f (x , a) непрерывна по x называются интегралами, зависящими от параметра. Они служат основным средством изучения многих специальных функций (см., например, Гамма-функция ).
Неопределённый интеграл. Нахождение неопределённых интегралов, или интегрирование, есть операция, обратная дифференцированию. При дифференцировании данной функции ищется её производная. При интегрировании, наоборот, ищется первообразная (или примитивная) функция – такая функция, производная которой равна данной функции. Таким образом, функция F (x ) является первообразной для данной функции f (x ), если F' (x ) = f (x ) или, что то же самое, dF (x ) = f (x ) dx. Данная функция f (x ) может иметь различные первообразные, но все они отличаются друг от друга только постоянными слагаемыми. Поэтому все первообразные для f (x ) содержатся в выражении F (x ) + С , которое называют неопределённым интегралом от функции f (x ) и записывают

Определённый интеграл как функция верхнего предела интегрирования

(«интеграл с переменным верхним пределом»), есть одна из первообразных подинтегральной функции. Это позволяет установить основную формулу И. и. (формулу Ньютона – Лейбница):

выражающую численное значение определённого интеграла в виде разности значений какой-либо первообразной подинтегральной функции при верхнем и нижнем пределах интегрирования.
Взаимно обратный характер операций интегрирования и дифференцирования выражается равенствами

Отсюда следует возможность получения из формул и правил дифференцирования соответствующих формул и правил интегрирования (см. табл., где C , m , a , k – постоянные и m ¹ —1, а > 0).
Таблица основных интегралов и правил интегрирования

¾¾¾¾¾¾¾¾¾¾¾¾¾¾¾¾¾¾¾¾

¾¾¾¾¾¾¾¾¾¾¾¾¾¾¾¾¾¾¾¾¾¾¾
Трудность И. и. по сравнению с дифференциальным исчислением заключается в том, что интегралы от элементарных функций не всегда выражаются через элементарные, могут не выражаться, как говорят, «в конечном виде». И. и. располагает лишь отдельными приёмами интегрирования в конечном виде, область применения каждого из которых ограничена (способы интегрирования излагаются в учебниках математического анализа: обширные таблицы интегралов приводятся во многих справочниках).
К классу функций, интегралы от которых всегда выражаются в элементарных функциях, принадлежит множество всех рациональных функций

где P (x ) и Q (x ) – многочлены. Многие функции, не являющиеся рациональными, также интегрируются в конечном виде, например функции, рационально зависящие от

или же от x и рациональных степеней дроби

В конечном виде интегрируются и многие трансцендентные функции, например рациональные функции синуса и косинуса. Функции, которые изображаются неопределёнными интегралами, не берущимися в конечном виде, представляют собой новые трансцендентные функции. Многие из них хорошо изучены (см., например, Интегральный логарифм , Интегральный синус и интегральный косинус , Интегральная показательная функция ).
Понятие интеграла распространяется на функции многих действительных переменных (см. Кратный интеграл , Криволинейный интеграл , Поверхностный интеграл ), а также на функции комплексного переменного (см. Аналитические функции ) и вектор-функции (см. Векторное исчисление ).
О расширении и обобщении понятия интеграла см. ст. Интеграл .
Историческая справка. Возникновение задач И. и. связано с нахождением площадей и объёмов. Ряд задач такого рода был решен математиками Древней Греции. Античная математика предвосхитила идеи И. и. в значительно большей степени, чем дифференциального исчисления. Большую роль при решении таких задач играл исчерпывания метод , созданный Евдоксом Книдским и широко применявшийся Архимедом . Однако Архимед не выделил общего содержания интеграционных приёмов и понятия об интеграле, а тем более не создал алгоритма И. и. Учёные Среднего и Ближнего Востока в 9—15 вв. изучали и переводили труды Архимеда на общедоступный в их среде арабский язык, но существенно новых результатов в И. и. они не получили. Деятельность европейских учёных в это время была ещё более скромной. Лишь в 16 и 17 вв. развитие естественных наук поставило перед математикой Европы ряд новых задач, в частности задачи на нахождения квадратур, кубатур и определение центров тяжести. Труды Архимеда, впервые изданные в 1544 (на латинском и греческом языках), стали привлекать широкое внимание, и их изучение явилось одним из важнейших отправных пунктов дальнейшего развития И. и. Античный «неделимых» метод был возрожден И. Кеплером . В более общей форме идеи этого метода были развиты Б. Кавальери , Э. Торричелли , Дж. Валлисом , Б. Паскалем . Методом «неделимых» был решен ряд геометрических и механических задач. К этому же времени относятся опубликованные позднее работы П. Ферма по квадрированию парабол n -й степени, а затем – работы Х. Гюйгенса по спрямлению кривых.
В итоге этих исследований выявилась общность приёмов интегрирования при решении внешне несходных задач геометрии и механики, приводившихся к квадратурам как к геометрическому эквиваленту определённого интеграла. Заключительным звеном в цепи открытий этого периода было установление взаимно обратной связи между задачами на проведение касательной и на квадратуры, т. е. между дифференцированием и интегрированием. Основные понятия и алгоритм И. и. были созданы независимо друг от друга И. Ньютоном и Г. Лейбницем . Последнему принадлежит термин «интегральное исчисление» и обозначение интеграла òydx.
При этом в работах Ньютона основную роль играло понятие неопределённого интеграла (флюенты, см. Флюксий исчисление ), тогда как Лейбниц исходил из понятия определённого интеграла. Дальнейшее развитие И. и. в 18 в. связано с именами И. Бернулли и особенно Л. Эйлера . В начале 19 в. И. и. вместе с дифференциальным исчислением было перестроено О. Коши на основе теории пределов. В развитии И. и. в 19 в. приняли участие русские математики М. В. Остроградский , В. Я. Буняковский , П. Л. Чебышев . В конце 19 – начале 20 вв. развитие теории множеств и теории функций действительного переменного привело к углублению и обобщению основных понятий И. и. (Б. Риман , А. Лебег и др.).
Лит.: История. Ван дер Варден Б. Л., Пробуждающаяся наука, пер. с голл., М., 1959; Вилейтнер Г., История математики от Декарта до середины 19 столетия, пер. с нем., 2 изд., М., 1966; Строек Д. Я., Краткий очерк истории математики, пер. с нем., 2 изд., М., 1969; Cantor М.. Vorleslingen über Geschichte der Mathematik, 2 Aufl., Bd 3—4, Lpz. – B., 1901—24.
Работы основоположников и классиков И. и. Ньютон И., Математические работы, пер. с латин., М.—Л., 1937; Лейбниц Г., Избранные отрывки из математических сочинений, пер. с. латин., «Успехи математических наук», 1948, т. 3, в. 1; Эйлер Л., Интегральное исчисление, пер. с латин., тт. 1—3, М., 1956—58; Коши О. Л., Краткое изложение уроков о дифференциальном и интегральном исчислении, пер. с франц., СПБ, 1831; его же, Алгебраический анализ, пер. с франц., Лейпциг, 1864.
Учебники и учебные пособия по И. и. Хинчин Д. Я., Краткий курс математического анализа, 3 изд., 1957; Смирнов В. И., Курс высшей математики, 22 изд., т. 1, М., 1967; Фихтенгольц Г. М., Курс дифференциального и интегрального исчисления, 7 изд., т. 2, М., 1969; Ильин В., Позняк Э. Г., Основы математического анализа, 3 изд., ч. 1, М., 1971; Курант Р., Курс дифференциального и интегрального исчисления, пер. с нем. и англ., 4 изд., т. 1, М., 1967; Двайт Г.-Б., Таблицы интегралов и другие математические формулы, пер. с англ., М., 1964.
Под редакцией академика А. Н. Колмогорова.

Рис. к ст. Интегральное исчисление.








