Текст книги "Большая Советская Энциклопедия (ИН)"
Автор книги: Большая Советская Энциклопедия
Жанр:
Энциклопедии
сообщить о нарушении
Текущая страница: 37 (всего у книги 66 страниц)
Инкерманское сражение 1854
Инкерма'нское сраже'ние 1854, сражение 24 октября (5 ноября) между русскими и англо-французскими войсками во время Крымской войны 1853—56 в районе Инкермана (местность восточнее Севастополя). Русское командование ставило целью сорвать готовившийся штурм Севастополя и вынудить противника снять осаду. Удар был нанесён во фланг английского осадного корпуса (16—17 тыс. чел.) двумя отрядами – генерала Ф. И. Соймонова (17,5 тыс. чел.) и генерала П. Я. Павлова (14 тыс. чел.). Главнокомандующий А. С. Меншиков и командовавший наступавшими колоннами генерал П. А. Данненберг крайне плохо руководили войсками, которые вводились в бой по частям и отбрасывались превосходящими силами противника. Всё же русским войскам удалось потеснить англичан, и они обратились за помощью к французам. Бездействие Чоргунского отряда генерала М. Д. Горчакова, который должен был нанести вспомогательный удар в направлении Сапун-горы, позволило французам перебросить подкрепления англичанам. Русские войска были вынуждены отступить с большими потерями (11800 чел.); союзники потеряли 5700 чел.
Инки
И'нки, правильнее инка (исп. inca), первоначально индейское племя языковой группы кечуа, обитавшее в Перу (Южная Америка) в 11—13 вв., позже господствующий слой в государстве, образованном союзом племён. Образование государства И. – Тауантинсуйу относится к 1438. Государство представляло собой рабовладельческую деспотию. И. взимали дань с покорённых племён, использовали труд рядовых общинников, ремесленников и рабов – янакона . Основной социально-экономической ячейкой была соседская община – айлью. Земля считалась принадлежащей правителю – Верховному Инке, власть которого была окружена сакральным ореолом; первый мифический правитель – Манко Капак– почитался как сын солнца. И. использовали ирригацию, возводили строительные сооружения для военных и административных целей, изобрели систему передачи сведений в виде так называемого узелкового письма – кипу, а также зачаточную письменность. В 1532 испанские завоеватели во главе с Ф. Писарро вторглись на территорию И. Государство было разграблено, его культура разрушена. И., покорённые испанцами, вошли в состав народности кечуа .
Архитектура И. известна по описаниям и многочисленным остаткам зданий (храмы, дворцы, обсерватории, амфитеатры, крепости). Циклопические сооружения из колоссальных камней (крепость Саксауаман близ Куско) сменились постройками из тщательно отёсанных блоков гранита (крепость Писак близ Куско). Зодчество И. отличалось геометрической простотой приземистых форм, прочностью, почти полным отсутствием декора. Сохранились сосуды, в том числе фигурные, с блестящей чёрной поверхностью. Богатейшие памятники ювелирного искусства И. (в том числе «золотой сад» в храме Кориканча в Куско с растениями, птицами, бабочками, фигурами из золота и серебра) погибли почти полностью.
Лит.: Кинжалов Р. В., Искусство древней Америки, М., 1962; Lara J., La cultura de los Inkas, [t. 1]—2, La Paz-Cochabamba. 1966—67.

Золотая фигурка женщины (фрагмент). Музей Института археологии Национального университета. Куско.

Руины крепости Мачу-Пикчу близ Куско.15 в.

Керамический сосуд. Собрание Х. Гафрона. Чикаго.
Инклинатор
Инклина'тор (от лат. inclino – наклоняю), прибор для измерения магнитного наклонения, т. е. угла, образуемого вектором напряженности магнитного поля Земли с горизонт, плоскостью (см. Земной магнетизм ). Непосредственное измерение наклонения обычно осуществляют стрелочным или индукционным И.
И. стрелочный представляет собой магнитную стрелку с горизонтальной осью вращения, проходящей через центр тяжести стрелки. При измерении наклонения находят направление оси, при котором стрелка располагается вертикально, а затем поворотом оси вращения стрелки на 90° устанавливают стрелку по магнитному меридиану. Угол между направлением магнитной оси стрелки и горизонтальной плоскостью соответствует магнитному наклонению в месте измерения. Предельная точность определения наклонения стрелочным И. не превышает ± 2¢.
Принцип работы индукционного И. основан на возникновении эдс (или тока индукции) в катушке, вращающейся в магнитном поле Земли. Эдс в катушке отсутствует только в том случае, когда ось её вращения направлена вдоль вектора магнитного поля. Отсутствие тока в катушке фиксируют с помощью гальванометра. Точность определения наклонения индукционного И. достигает десятых долей угловой минуты. Существуют также И. других видов, в частности феррозондовые (см. Феррозонд ). В связи с тем, что И. не всегда обеспечивает надлежащую точность измерений, наклонение чаще вычисляют по результатам измерений модулей полного вектора напряжённости магнитного поля и его компонент (горизонтальной и вертикальной).
Лит.: Яновский Б. М., Земной магнетизм, 2 изд., М., 1953; Афанасьев Ю. В., Феррозонды, Л., 1969.
Ю. А. Бурцев.
Инклинометр
Инклино'метр (от лат. incline – наклоняю и ...метр ), прибор для определения угла и азимута искривления буровой скважины с целью контроля её пространственного положения. По методам измерений И. делятся на две группы: непосредственных измерений с использованием гравитационного поля Земли, геомагнитного поля, гироскопического эффекта и телезондирования; косвенных измерений с использованием методов ориентирования с поверхности, последовательных ходов, сейсмики, радиолокации, магнитометрического метода и др. Регистрация замеров может производиться непосредственно в И. (механическим фоторегистрационным, электрометрическим, химическим способами) или дистанционно.
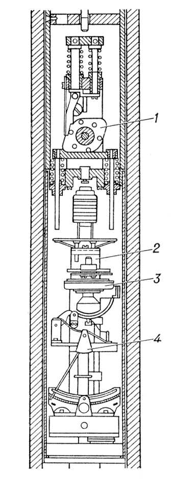
Из многочисленных конструкций И., разработанных в СССР, широко применяются многоточечные ИК-2, ИТ-200 и УМИ-25, а также ЗИ-1М и ЗИ-2 одноразового действия. И. (ИК-2) состоит из глубинного прибора (датчика) и регистрирующей наземной станции (панель управления). Положение И. определяется с помощью трёх чувствительных элементов (рис. ): рамки, отвеса и буссоли. С помощью коллектора и щёток, расположенных в верхней части рамки, к измерительной схеме панели управления подключается реохорд углов (или азимутов), сопротивление которого пропорционально углу (азимуту) отклонения оси скважины от вертикали в данной точке. Фиксация угла и азимута осуществляется переключающим механизмом, приводимым в действие электромагнитом. Диаметр скважинного прибора 58 мм , пределы измерения углов отклонения от вертикали 0—50°, азимута 0—360°. Погрешность в измерении углов отклонения не более ± 0°30¢, азимута – не более ± 4°. Управление глубинным прибором дистанционное по каротажному кабелю.
Лит.: Михайловский В. Н., Иванов С. К., Измерение кривизны скважин, К., 1960; Калинин А. Г., Искривление буровых скважин, М., 1963.
А. Г. Калинин.

Измерительный узел инклинометра ИК-2: 1 – переключающий механизм; 2 – рамка; 3 – буссоль; 4 – отвес.
Инклинометрия
Инклиноме'трия, метод определения основных параметров (угла и азимута), характеризующих искривление буровых скважин, путём контроля инклинометрами с целью построения фактических координат бурящихся скважин. По данным замеров угла и азимута искривления скважины, а также глубины ствола в точке замера строится план (инклинограмма) – проекция оси скважины на горизонтальную плоскость и профиль – вертикальная проекция на плоскость магнитного меридиана, широтную или любую др. Таковой обычно принимается плоскость, в которой составляется геологический разрез по месторождению, проходящий через исследуемую скважину. Наличие фактических координат бурящихся скважин позволяет точно установить точки пересечения скважиной различных участков геологического разреза, т. е. установить правильность бурения в заданном направлении.
Лит.: Бронзов А. С., Васильев Ю. С., Шетлер Г. А., Турбинное бурение наклонных скважин, 2 изд., М., 1965.
А. Г. Калинин.
Инклюзив
Инклюзи'в (франц. inclusif – включающий в себя, от лат. include – заключаю, включаю), формы личного местоимения 1-го лица множественного числа или глагольные, указывающие на то, что адресат речи входит в число участников действия. Встречаются в австралийских, папуасских, индонезийских, меланезийских, полинезийских, дравидийских, тибетских, некоторых северокавказских и др. языках. Например, индонезийское – Kita «мы, включая тебя», аварское – ниж «мы», нил «мы с вами».
Инков кость
И'нков кость, одна из аномалий черепа человека – отделённая швом верхняя часть чешуи затылочной кости. Имеет вид многоугольной вставки. Название возникло вследствие того, что эта аномалия была впервые обнаружена на черепах древних инков Перу. Однако она распространена у представителей всех человеческих рас (до 10% случаев). Встречается дополнительное деление И. к. на 2—4 части по числу центров окостенения.

Череп с т. н. костью инков.
Инкогнито
Инко'гнито (итал. incognito, от лат. incognitus – неузнанный, неизвестный), 1) скрытно, тайно, не открывая своего имени. 2) Лицо, обычно официальное, скрывающее (не с преступными целями) своё настоящее имя.
Инконель
Инконе'ль,жаропрочный сплав на основе никеля, содержащий ~ 15% хрома и до 9% железа. Разработан в США, где выпускается ряд его разновидностей, легируемых в зависимости от назначения алюминием, титаном, молибденом и др. И. применяют как конструкционный материал для деталей газотурбинных двигателей, сверхзвуковых самолётов, ракет и др. Сплавы отличаются высокими прочностью и ударной вязкостью при температурах до 900 °С, нечувствительностью к надрезам при низких (до —78 °С) температурах. Изделия из И. хорошо соединяются сваркой, для повышения прочности сварные конструкции подвергают термической обработке. Аналогами И. в СССР являются сплавы марок ХН80ТБЮ и ХН73МБТЮ.
Инкорпорация
Инкорпора'ция (позднелат. incorporatio – включение в свой состав, от лат. in – в и corpus – тело, единое целое), объединение в одно морфологическое целое двух и более семантем, представляющих собой подвижные компоненты с обособленными лексическими значениями; количество и порядок этих компонентов каждый раз обусловлены содержанием высказывания, а отношения между ними соответствуют отношениям синтаксическим. Например, в чукотском языке И. выражаются отношения, соответствующие атрибутивным (га-нэран-тор-мэлгар-ма «с двумя новыми ружьями»), обстоятельственным (мыт-винвы-эквэт-ыркын «тайно отправляемся»), объектным (мыт-купрэ-гынрит-ыр-кын «сети охраняем»), а также объектным, осложнённым атрибутивными (мыт-тур-купрэ-гынрит-ыркын «новые сети охраняем»). Такой инкорпоративный комплекс не сводим ни к слову (отличается лексико-семантической расчленённостью), ни к словосочетанию (морфологическая цельность). И. представлена в языках наряду с агглютинацией , причём агглютинация и И. тесно связаны между собой и взаимообусловлены.
Лит.: Стебницкий С. Н., Из истории падежных суффиксов в корякском и чукотском языках, Л., 1941; Скорик П. Я., О соотношении агглютинации и инкорпорации, в сборнике: Морфологическая типология и проблема классификации языков, М.—Л., 1965.
П. Я. Скорик.
Инкорпорирующие языки
Инкорпори'рующие языки', структурный тип языков, в которых одним из технических приёмов является инкорпорация . К И. я. относится ряд палеоазиатских языков (чукотский, корякский, алюторский, керекский, нивхский) и языков североамериканских индейцев (дакота, цимшиан, пают и др.). Иногда к И. я. относят такие языки, как эскимосский, алеутский, в действительности являющиеся чисто агглютинативными.
Лит.: Богораз В. Г., Луораветланский (чукотский) язык, в сборнике: Языки и письменность народов Севера, ч. 3, М.—Л., 1934; Скорик П. Я., Очерки по синтаксису чукотского языка. Инкорпорация, Л., 1948; его же, Грамматика чукотского языка, ч. 1, М.—Л., 1961.
Инкоу
Инко'у, город и порт на С.-В. Китая, в провинции Ляонин, в устье р. Ляохэ, на побережье Жёлтого моря. 200 тыс. жителей (1957). Крупный транспортный узел. Целлюлозно-бумажная, текстильная (хлопчатобумажная), трикотажная, пищевая промышленность; производство резиновых и асбестовых изделий. Металлообработка, судоремонт и др.
Инкпин Альберт
И'нкпин (Inkpin) Альберт (1884—29.3.1944, Лондон), деятель английского рабочего движения. В 1904 вступил в Социал-демократическую федерацию. В 1913 был избран генеральным секретарём Британской социалистической партии. Выступал против социал-шовинистической группы Г. М. Гайндмана . Был одним из основателей Коммунистической партии Великобритании (1920). В 1919—20 активно участвовал в борьбе против антисоветской интервенции. С 1930 руководил международным, а затем английским обществом «Друзей Советского Союза».
Инкреция
Инкре'ция [от лат. in – в, внутри и (se)cretio – отделение, выделение], образование и выделение железами внутренней секреции их продуктов – гормонов (инкретов) – непосредственно в кровь или лимфу. В отличие от этого, железы с внешней секрецией (пищеварительные, сальные, потовые и др.) выделяют секрет через выводной проток на поверхность тела или в полости внутренних органов.
Инкриминирование
Инкримини'рование (от лат. in – в и crimen – вина, преступление), предъявление обвинения в совершении какого-либо преступления.
Инкрустационный стиль
Инкрустацио'нный стиль, направление в романской архитектуре Италии, развивавшееся в Тоскане в 11—13 вв. Постройки И. с. (баптистерий, 1059—13 в., церковь Сан-Миньято аль Монте, 1014—1207, – во Флоренции) гармоничны по пропорциям, снаружи и внутри богато украшены узорами из цветных мраморов (геометрический орнамент, изображения ордерных элементов) и расчленены по античному образцу колоннами, несущими арки.
Лит.: Лазарев В. Н., Происхождение итальянского Возрождения, т. 1, М., 1956.

Перегородка и кафедра церкви Сан-Миньято аль Монте во Флоренции. 1207.
Инкрустация
Инкруста'ция (лат. incrustatio, от incrusto – покрываю слоем, корой, выкладываю мрамором), вид декорировки изделий и зданий (их фасада, интерьера) узорами и изображениями из кусочков мрамора, керамики, металла, дерева, перламутра и т. п., которые врезаны в поверхность и отличаются от неё по цвету или материалу. Известна И. деревом по дереву (интарсия ), металлом по металлу (насечка ), камнем по камню. Но чаще И. выполняется иным материалом, чем материал украшаемого объекта. В скульптуре Древнего Востока и античности И. выделялись глаза статуй и бюстов. По сути И. является офактуривание керамической крошкой бетонных панелей в современном сборном строительстве.

Нос боевого каноэ. Дерево, перламутр. Соломоновы острова. Этнографический музей. Базель.

Приклад пищали. Сталь, кость, перламутр. Россия. 17 в. Оружейная палата. Москва.

«Дионисийская сцена» (из Помпей). Шифер и мрамор. 1 в. Национальный музей. Неаполь.

Ларец для Корана из мечети аль-Гури в Каире; дерево, медь с золотой и серебряной насечкой. 14 в. Музей исламского искусства. Каир.

Декор апсиды базилики Евфразия в Порече (Югославия). Мрамор, паста, перламутр. 6 в.

Священный нож ацтеков. Халцедон, бирюза, нефрит, малахит, перламутр. Британский музей. Лондон.
Инкубатор
Инкуба'тор (от лат. incubo, здесь – высиживаю птенцов), аппарат для искусственного вывода молодняка с.-х. птицы из яиц. Простейшие И. – специальные помещения, утеплённые бочки, печи и др. – были известны в тропических странах несколько тысячелетий назад. В Европе и США И. разнообразных конструкций появились в 19 в. До Октябрьской революции в России И. были только у отдельных птицеводов-любителей. Промышленное производство И. в СССР начато в 1928. До 1941 птицеводческие хозяйства были оборудованы И. марок «Украинский гигант», «Коммунар», «Спартак» и др. ёмкостью от 16 до 24 тыс. яиц. Современные И. в СССР – кабинетные и шкафные (наиболее распространены) – сложные аппараты, где поддержание необходимой температуры и влажности воздуха, воздухообмен и поворачивание яиц, т. е. весь процесс инкубации , производятся автоматически. Устойчивый инкубационный режим позволяет довести вывод птенцов в И. до 95%. И. могут работать в любое время года, при этом молодняк по качеству ничем не отличается от птенцов из-под наседки, труда же затрачивается в 25 раз меньше. В 1971 общая ёмкость действующих в СССР И. свыше 1,7 млрд. яиц.
Кабинетный И. («Рекорд-39», «Рекорд-42») представляет собой термостатную коробку, по двум сторонам которой размещены колонки с лотками для яиц. Он в основном рассчитан для инкубации яиц кур, индеек, цесарок. Шкафной И. («Универсал-45», «Универсал-50», «Универсал-50М») состоит из двух самостоятельных аппаратов: инкубационного с тремя шкафами в одном корпусе и выводного – в отдельном корпусе (рис. 1 и 2 ). В инкубационных шкафах лотки с яйцами установлены в поворотных барабанах, смонтированных на валу; в выводном – на 12-ярусной этажерке. В шкафных И. можно инкубировать и яйца водоплавающей птицы (гуси, утки). Характеристику И., применяемых в СССР, см. в табл. За рубежом (США, Канада, Великобритания, Италия и др.) распространены секционно-проходные И., в каждой секции которых процесс инкубации и вывода цыплят совмещен. В СССР И. подобного типа осваиваются промышленностью.
Характеристики инкубаторов, применяемых в СССР
| Характеристика | «Рекорд-39» | «Универсал-45» | «Универсал-50» | ||
| инкубационный шкаф | выводной шкаф | инкубационный шкаф | выводной шкаф | ||
| Ёмкость (число яиц) | 39312 | 37440 | 6240 | 44304 | 6480 |
| Размеры (м ): | |||||
| высота | 2,8 | 2,55 | 2,55 | 2,44 | 2,44 |
| ширина | 3,1 | 2,35 | 2,24 | 2,2 | 2,2 |
| длина | 4,1 | 5,22 | 1,83 | 5,34 | 2,13 |
| Число лотков: | |||||
| инкубационных | 216 | 312 | – | 312 | – |
| выводных | 40 | – | 52 | – | 52 |
| Диапазон температуры (°С), поддерживаемой с точностью ±0,2 °С | 36-38 | 36-38 | 36-37 | 36-38 | 36-38 |
| Диапазон относительной влажности воздуха (%), поддерживаемой с точностью до ±3% | 40-80 | 40-80 | 40-80 | 40-80 | 40-80 |
И. размещают в инкубаториях , которые входят в состав инкубаторно-птицеводческой станции .
Лит.: Третьяков Н. П., Инкубация, 3 изд., М., 1957; Орлов М. В., Биологический контроль в инкубации, М., 1963.
А. А. Шталтовный.

Рис. 1. Инкубатор «Универсал-45» и его выводной шкаф (справа).

Рис. 2. Внутреннее оборудование инкубатора «Универсал-45»: 1 – инкубационный шкаф; 2 – выводной шкаф.
Инкубаторий
Инкубато'рий, здания, предназначенные для размещения инкубаторов и проведения инкубации яиц с.-х. птицы. Сооружаются в составе птицеводческих ферм, птицефабрик, племенных заводов и инкубаторно-птицеводческих станций . Размеры И. зависят от типа и числа размещаемых в них инкубаторов. И. строят капитальными, с учетом климатических условий района. Здания одноэтажные, преимущественно балочно-стоечной конструкции. Полы бетонные, цементные, из керамических плиток и др. материалов, устойчивых к дезинфицирующим средствам. Высота инкубационного зала в зависимости от габаритов инкубаторов 2,8—4 м , всех остальных помещений – не менее 2,8 м . Норма естественного освещения (отношение площади окон к площади пола) 1:10—1:15. И. имеют центральное отопление, хорошую вентиляцию, водопровод и канализацию. Для бесперебойного снабжения электроэнергией предусматриваются два независимых источника питания. Наряду с И. для заводских инкубаторов сооружаются И. со встроенными инкубационными и выводными камерами. Основные производственные помещения И.: инкубационный и выводной залы, помещение для приёма и сортировки яиц, яйцесклад, помещения для сортировки и выдачи цыплят и др. Все помещения располагаются в соответствии со схемой технологического процесса инкубации.
В. В. Филасоветск.

Инкубаторий: 1 – инкубационный зал; 2 – выводной зал; 3 – помещение для сортировки яиц; 4 – яйцесклад; 5 – газокамера; 6 – компрессорная; 7 – помещение для сортировки цыплят; 8 – помещение для выдачи цыплят; 9 – моечная; 10 и 11 – вентиляционные камеры.
Инкубаторно-птицеводческая станция
Инкуба'торно-птицево'дческая ста'нция (ИПС), предприятие, занимающееся инкубацией яиц и выводом молодняка с.-х. птицы для снабжения им колхозов, совхозов и населения. Первые ИПС организованы в СССР в 1929—30. В 1931 их было около 230. За год они давали около 11 млн. голов молодняка. На 1 января 1971 насчитывалось 1550 ИПС общей мощностью инкубаторного парка около 210 млн. яйцемест. В 1970 ими проинкубировано 904,8 млн. яиц и выведено 708,4 млн. голов молодняка всех видов с.-х. птицы. Кроме государственных ИПС, входящих в систему Птицепрома СССР, имеются колхозные и межколхозные. Государственные ИПС приобретают яйца для инкубации на договорных началах у госплемптицезаводов, племптицесовхозов или племенных ферм колхозов. Некоторые ИПС имеют собственные племенные стада определённых пород и линий. Тальменская ИПС Алтайского края, инкубирующая в год (1971) около 1,5 млн. яиц, имеет родительское стадо кур (около 6 тыс.) с яйценоскостью 210 яиц в год. Межколхозные ИПС действуют на основе договора, заключённого хозяйствами-совладельцами.
Закладка яиц в инкубаторы и вывод молодняка проводятся строго по графику. Реализуют молодняк в суточном возрасте или подращенным до 30, 60 или 90 суток, для чего при некоторых ИПС организуют цехи подращивания.
ИПС имеют инкубаторий, где размещают 2, 4, 6 или более инкубаторов , помещение для родительского стада, цехи выращивания молодняка, аварийную электростанцию (если нет резервной линии электропередачи), гараж, контору и др. вспомогательные помещения.
ИПС оказывают большое влияние на развитие птицеводства в обслуживаемых ими зонах. Специалисты ИПС помогают колхозам и совхозам в совершенствовании технологии производства продуктов птицеводства, внедрении передового опыта и достижений науки.
И. В. Никулицкий, В. Ф. Щигорев.








