Текст книги "Большая Советская Энциклопедия (ИН)"
Автор книги: Большая Советская Энциклопедия
Жанр:
Энциклопедии
сообщить о нарушении
Текущая страница: 29 (всего у книги 66 страниц)
Индуктивное сопротивление в электротехнике
Индукти'вное сопротивле'ние в электротехнике, см. Сопротивление индуктивное.
Индуктивности измерители
Индукти'вности измери'тели, приборы для измерения индуктивности контуров с сосредоточенными параметрами, обмоток трансформаторов и дросселей, катушек индуктивности и пр. Принципы действия их зависят от методов измерений. Метод «вольтметра – амперметра» (рис. 1) применяют для измерения сравнительно больших индуктивностей (от 0,1 до 1000 гн ) при значительно меньшем активном сопротивлении обмотки. В этом случае
, где U – напряжение, I – сила тока в цепи измеряемой индуктивности, f – частота переменного тока, обычно 50 гц . Погрешность таких И. и. 2—3%. В мостовом И. и. основным элементом является измерительный мост переменного тока (на частотах 100, 400 и 1000 гц ) с образцовой ёмкостью и значительно реже индуктивностью (рис. 2). При уравновешивании моста

(rx – омическое сопротивление провода обмотки катушки индуктивности). Погрешность мостовых методов измерения около 1—3%; пределы измерения 0,1—1000 гн . Резонансные методы основаны на использовании резонансных свойств колебательного контура, образованного измеряемой индуктивностью Lx и образцовой ёмкостью Cx (рис. 3). Изменяя Cx , настраивают контур в резонанс с генератором (на частотах от 10 кгц до 1,5 Мгц ); индуктивность вычисляется по формуле
где Lx – индуктивность в мгн , f – частота резонанса в кгц , С = Cx + Cк – полная ёмкость контура в пф . Погрешность резонансных И. и. 2—5%; пределы измерений от 0,05 мкгн до 100 мгн.
Лит.: Шкурин Г. П., Справочник по электроизмерительным и радиоизмерительным приборам, 3 изд., т. 2, М., 1960.

Рис. 3. Схема измерения индуктивности методом резонанса: ГВЧ – генератор ВЧ; Lc – витки связи; Lx – измеряемая индуктивность; Cк – собственная ёмкость катушки; Cx – образцовая ёмкость; ЛВ – ламповый вольтметр.

Рис. 2. Схема моста для измерения индуктивности: U – источник тока; Г – гальванометр; R1 , R2 , R3 – омические сопротивления; Сэ – образцовая ёмкость; Lx – измеряемая индуктивность.

Рис. 1. Схема измерения индуктивности по методу «вольтметра – амперметра»: А – амперметр; В – вольтметр; Lx – индуктивность;I – сила тока; U – напряжение .
Индуктивности катушка
Индукти'вности кату'шка, свёрнутый в спираль изолированный проводник, обладающий значительной индуктивностью при относительно малой ёмкости и малом активном сопротивлении. И. к. состоит из одножильного, реже многожильного, изолированного провода, намотанного на каркас из диэлектрика цилиндрической, тороидальной или прямоугольной формы; существуют также бескаркасные И. к. Намотка бывает однослойная (рядовая и с шагом) и многослойная (рядовая, внавал, универсальная). Для увеличения индуктивности применяют сердечники из ферромагнитных материалов: электротехнической стали, пермаллоя, карбонильного железа, ферритов. Сердечники используют также для изменения индуктивности резонансных контуров в небольших пределах.
Значение индуктивности И. к. пропорционально линейным размерам катушки, квадрату числа витков намотки и магнитной проницаемости сердечника и изменяется от десятых долей мкгн до десятков гн . К основным параметрам И. к. относятся сопротивление потерь, добротность, температурный коэффициент индуктивности, собственная ёмкость. И. к. широко применяют в качестве элементов фильтров и колебательных контуров, в трансформаторах, в качестве дросселей, в реле, магнитных усилителях, электромагнитах и др.
Разновидностью И. к. являются плоские печатные И. к., применяемые в микромодулях, а также обмотки электрических машин, рамочные и ферритовые антенны.
Лит.: Справочник по радиотехнике, под ред. Б. А. Смиренина, М.—Л., 1950; Сифоров В. И., Радиоприемные устройства, 5 изд., М., 1954; Бессонов Л. А., Теоретические основы электротехники, 4 изд. М., 1964.
Е. Г. Билык.

Катушки индуктивности: а – цилиндрическая однослойная; б – тороидальная многослойная; в – с цилиндрическим сердечником; г – с П-образным сердечником; д – образцовая индуктивность на керамическом тороиде; 1 – намотка (провод); 2 – каркас; 3 – сердечник; h – длина намотки; d – внутренний диаметр намотки; D – наружный диаметр намотки.
Индуктивности мера
Индукти'вности ме'ра, катушка индуктивности, применяемая при электрических измерениях и в качестве образцовых индуктивностей для проверки и градуировки измерительных устройств. И. м. характеризуются постоянством индуктивности, её независимостью от силы и частоты тока, минимальной зависимостью от температуры, влажности, времени, минимальным активным сопротивлением. Различают И. м. с постоянным значением или однозначные (одиночные катушки индуктивности), магазины мер (наборы И. м., магазины измерительные) и меры с переменным значением (вариометр индуктивности). И. м. применяются в схемах переменного тока с частотой до 1500 гц . Образцовые индуктивности изготовляют исключительно в виде катушек постоянной индуктивности, которые служат для поверки измерителей добротности на частотах от 0,5 до 50 Мгц . Катушка индуктивности наматывается медной изолированной проволокой на каркасе из диэлектрического материала; на высоких частотах для обеспечения независимости от температуры и времени катушки индуктивности изготовляют на керамическом тороиде с нанесённой гальваническим способом обмоткой, число витков и геометрические размеры которой определяют индуктивность катушки. Образцовые катушки изготовляют с индуктивностью от долей мгн до 1 гн .
Магазины индуктивностей, как правило, состоят из блоков катушек с отводами. Существуют магазины индуктивностей с плавным и скачкообразным изменением индуктивности и с комбинированным переключающим устройством. Вариометры используют главным образом для плавной регулировки индуктивности.
Лит.: Нижний С. М., Меры и магазины емкостей, индуктивностей и взаимных индуктивностей, М., 1967.
Индуктивность
Индукти'вность (от лат. inductio – наведение, побуждение), физическая величина, характеризующая магнитные свойства электрической цепи. Ток, текущий в проводящем контуре, создаёт в окружающем пространстве магнитное поле, причём магнитный поток Ф, пронизывающий контур (сцепленный с ним), прямо пропорционален силе тока I :

Коэффициент пропорциональности L называется И. или коэффициентом самоиндукции контура. И. зависит от размеров и формы контура, а также от магнитной проницаемости окружающей среды. ВМеждународной системе единиц (СИ) И. измеряется в генри , в СГС системе единиц (Гаусса) И. имеет размерность длины и поэтому единица И. называется сантиметром (1 гн = 109 см ).
Через И. выражается эдс самоиндукции в контуре, возникающая при изменении в нём тока:

(DI – изменение тока за время Dt ). При заданной силе тока И. определяет энергию W магнитного поля тока:

Чем больше И., тем больше магнитная энергия, накапливаемая в пространстве вокруг контура с током. Если провести аналогию между электрическими и механическими явлениями, то магнитную энергию следует сопоставить с кинетической энергией тела Т = mv2 /2 (где m – масса тела, v – скорость его движения), при этом И. будет играть роль массы, а ток – роль скорости. Таким образом, И. определяет инерционные свойства тока.
Практически участки цепи со значительной И. выполняют в виде индуктивности катушек . Для увеличения L применяют катушки с железными сердечниками, но в этом случае, в силу зависимости магнитной проницаемости m ферромагнетиков от напряжённости поля, а следовательно, и от силы тока, И. становится зависящей от I. И. длинного соленоида из N витков, имеющего площадь поперечного сечения S и длину l , в среде с магнитной проницаемостью m равна (в единицах СИ): L = mmN 2S/l, где m – магнитная постоянная , или магнитная проницаемость вакуума.
Лит.: Калашников С. Г., Электричество, М., 1970 (Общий курс физики, т. 2), гл. 9.
Г. Я. Мякишев.
Индуктивность взаимная
Индукти'вность взаи'мная, величина, характеризующая магнитную связь двух или более электрических цепей (контуров). Если имеется два проводящих контура (1 и 2 , см. рис. ), то часть линий магнитной индукции, создаваемых током в первом контуре, будет пронизывать площадь, ограниченную вторым контуром (т. е. будет сцеплена с контуром 2). Магнитный поток Ф12 через контур 2, созданный током I1 в контуре 1, прямо пропорционален току:

Коэффициент пропорциональности M12 зависит от размеров и формы контуров 1 и 2, расстояния между ними, их взаимного расположения, а также от магнитной проницаемости окружающей среды и называется взаимной индуктивностью или коэффициентом взаимной индукции контуров 1 и 2. В системе СИ И. в. измеряется в генри .
Если ток I2 течёт в контуре 2, то магнитный поток Ф12 через площадь контура 1 также пропорционален току:

причём M21 = M12.
Наличие магнитной связи между контурами проявляется в том, что при изменении тока в одном из контуров появляется эдс индукции в соседнем контуре. Согласно закону индукции электромагнитной ,

(3)

где E2 и E1 – возникающие в контурах 2 и 1 эдс индукции, а DФ12 и D Ф21 – изменение магнитных потоков через соответствующие контуры за время Dt .
Через И. в. выражается взаимная энергия W12 магнитного поля токов I1 и I2 :

знак в (4) зависит от направления токов.
Лит.: Калашников С. Г., Электричество, М., 1970 (Общий курс физики, т. 2), гл. 10.
Г. Я. Мякишев.

Рис. к статье Индуктивность взаимная.
Индуктивный датчик
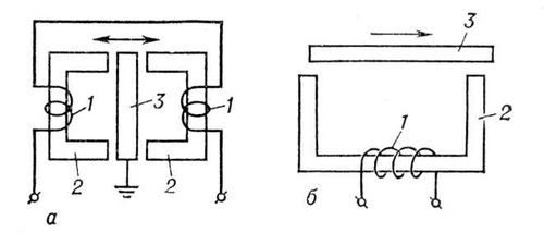
Индукти'вный да'тчик,измерительный преобразователь угла поворота или перемещения в изменение индуктивности. И. д. представляет собой катушку индуктивности с магнитопроводом, подвижный элемент которого (якорь) перемещается под воздействием измеряемой величины. Вследствие изменения воздушного зазора в магнитопроводе меняется его магнитное сопротивление и, следовательно, индуктивность катушки. Для измерений катушку И. д. включают в дифференциальную или мостовую измерительную схему переменного тока, у которой указывающий элемент проградуирован в единицах измеряемой величины. Наиболее часто применяют И. д. с переменным зазором (а ) и переменной площадью зазора (б ). Первые используются для измерений малых перемещений (от долей мкм до 3—5 мм ); вторые – для перемещений от 0,5 до 15 мм . Для измерения перемещений в маломощных устройствах, например в стрелочных измерит приборах, применяют И. д., катушки которых питаются от источника тока высокой частоты (5—50 Мгц ) либо служат обмотками высокочастотных колебательных контуров.
Лит.: Туричин А. М., Электрические измерения неэлектрических величин, 4 изд., М.—Л., 1966.

Схема конструкции индуктивного датчика: а – с переменным воздушным зазором; б – с переменной площадью воздушного зазора: 1 – катушка индуктивности; 2 – сердечник; 3 – якорь.
Индуктор нагревательный
Инду'ктор нагрева'тельный (лат. inductor, от induce – ввожу, нахожу, побуждаю), электромагнитное устройство, предназначенное для индукционного нагрева . И. н. состоит из двух основных частей – индуктирующего провода, с помощью которого создаётся переменное магнитное поле, и токоподводов для подключения индуктирующего провода к источнику электрической энергии. Проводящее электрический ток тело, помещенное в магнитное переменное поле, нагревается вследствие теплового действия вихревых токов, наводимых в участках изделия, непосредственно охватываемых индуктирующим проводом. В основном все типы И. н. могут быть разделены на два вида: одновременного и непрерывно-последовательного нагрева. В первом случае площадь индуктирующего провода примерно равна площади нагреваемой поверхности, что позволяет одновременно нагревать все её участки. При втором способе нагреваемое изделие перемещают относительно индуктирующего провода, последовательно нагревая участки поверхности изделия.
Существуют И. н. для поверхностного нагрева и закалки различных изделий (деталей), для сквозного нагрева кузнечных заготовок, нагрева листового материала, для плавки металлов и др., различающиеся конструктивным выполнением, частотой питающего электрического тока, материалом магнитопровода индуктирующей системы и пр. На рис. 1 показан И. н. для нагрева под закалку простых цилиндрических деталей способом одновременного нагрева. Чтобы избежать перегрева и расплавления индуктирующего провода, его выполняют массивным. Такие И. н. питают током с частотой 10 кгц . На поверхности индуктирующего провода расположены отверстия для подачи на нагретую деталь закалочной воды после выключения электрического тока. Таким образом одновременно охлаждается и сам И. н.
Простейшим многовитковым И. н., предназначенным для закалки внутренних поверхностей деталей, является соленоид . Соленоидными И. н. нагревают внутренние цилиндрические поверхности диаметром 50 мм и более. При диаметрах отверстий меньше 30 мм используют петлевые И. н. с магнитопроводом (рис. 2 ), а для нагрева внутренних цилиндрических поверхностей диаметром меньше 15 мм – стержневые И. н. в виде трубки, диаметр которой на несколько мм меньше диаметра обрабатываемого отверстия. Трубка по отношению к отверстию располагается коаксиально. Для сквозного нагрева кузнечных заготовок применяют И. н., изготавливаемые из трубки, которая при большой длине разделяется на несколько секций с отдельным охлаждением.
Плоские поверхности изделий нагревают для закалки И. н. с индуктирующим проводом в виде плоских спиралей или зигзагов (для малых нагреваемых площадей) либо непрерывно-последовательным способом нагрева с перемещением нагреваемой детали над индуктирующим проводом (рис. 3 ). Существуют секционированные И. н. с отдельными подводами электрического тока к каждой секции; включая или выключая в определённом порядке секции, можно закаливать (нагревать) поверхности переменной ширины и требуемой формы. Нагрев торцевых поверхностей производится И. н. зигзагообразной формы; для равномерного нагрева поверхности деталь вращают. Листовой материал и ленты наиболее эффективно нагреваются в поперечном магнитном поле (рис. 4 ), при этом толщина листа должна быть меньше глубины проникновения тока (обычно на частотах от 10 до 70 кгц ). Нагрев и закалку зубьев шестерни производят в петлевом И. н., охватывающем зуб с двух сторон. Чтобы закалить впадину между зубьями, индуктирующий провод располагают вдоль окружности шестерни, устанавливая против впадин магнитопроводы, входящие при рабочем положении внутрь впадин.
Лит . см. при ст. Индукционный нагрев , Индукционная нагревательная установка .

Рис. 3. Индуктор для закалки плоской поверхности непрерывно-последовательным способом: 1 – индуктирующий провод; 2 – магнитопровод; 3 – душевое устройство для подачи закалочной воды; 4 – трубопровод водяного охлаждения.

Рис. 1. Индуктор для закалки цилиндрических деталей способом одновременного нагрева: 1 – воронки для выравнивания давления закалочной воды в камере 2; 3 – индуктирующий провод с отверстиями для выхода закалочной воды: 4 – трубопровод водяного охлаждения.

Рис. 2. Петлевой индуктор для закалки внутренних цилиндрических поверхностей способом одновременного нагрева при вращении закаливаемой детали: а – конструкция с отдельными камерами для охлаждения индуктора и выхода закалочной воды; б – конструкция без постоянного охлаждения; 1 – магнитопровод; 2 – индуктирующий провод; 3 – трубопровод водяного охлаждения.

Рис. 4. Схема индукторов для нагрева листового материала в поперечном магнитном поле при размещении индуктирующего провода: а – с одной стороны нагреваемого листа; б – с обеих сторон нагреваемого листа; 1 – индуктирующий провод; 2 – магнитопровод; 3 – ярмо магнитопровода.
Индуктор телефонный
Инду'ктор телефо'нный, магнитоэлектрическая машина с ручным приводом, применяемая в телефонных аппаратах для посылки сигналов вызова и отбоя на станции ручного обслуживания в сельской телефонной связи . И. т. вырабатывает переменный ток с частотой 18—21 гц , напряжением 60—70 в и мощностью 3,8 вт (на сопротивлении нагрузки 2,5 ком ). Выпускаются 2 типа И. т.: с двумя неподвижными прямоугольными магнитами, вращающимся якорем (с обмоткой), редуктором и токосъёмными пружинами (рис. 1 ); с неподвижным якорем (с обмоткой) и вращающимся многополюсным магнитом кольцеобразной формы (рис. 2 ). Необходимая частота тока обеспечивается при вращении рукоятки с частотой 3—3,5 об/сек.
Лит.: Телефония, под ред. В. А. Новикова, 2 изд., М., 1967.

Рис. 2. Индуктор с неподвижной обмоткой: а – общий вид; б – разрез; 1 – многополюсный вращающийся постоянный магнит (ротор); 2 – статор из мягкой стали; 3 – вращающийся диск; 4 – рукоятка; 5 – обмотка статора.

Рис. 1. Индуктор с вращающимся якорем: 1 – постоянные магниты; 2 – полюсные надставки; 3 – токосъёмные пружины с контактом.
Индукторный генератор
Инду'кторный генера'тор, электрическая машина переменного тока, у которой изменение магнитного потока, пронизывающего обмотки статора, вызывается перемещением ферромагнитного зубчатого ротора. Поток возбуждения создаётся обмоткой, питаемой постоянным током. Обмотка возбуждения и рабочая обмотка неподвижно располагаются на статоре. Различают И. г. с пульсирующим полем, в которых магнитное поле, изменяясь по величине (пульсируя), не меняет своей полярности, и генераторы, в которых магнитное поле меняется и по величине, и по направлению. И. г. первого типа выполняются как однофазными, так и трёхфазными; частота генерируемого тока достигает 10 кгц . И. г. второго типа выполняются только однофазными; частота от 10 до 20 кгц . И. г. всегда спарен с приводным двигателем и применяется главным образом для преобразования частоты электрического тока (см. также Генератор повышенной частоты ).
Лит.: Шаров В. С., Электромашинные индукторные генераторы, М.—Л., 1961; Алексеева М. М., Машинные генераторы повышенной частоты, Л., 1967.
Индукторы
Инду'кторы в эмбриологии, зачатки органов и тканей развивающегося зародыша, воздействие которых на другие, контактирующие с ними, части зародыша необходимо для развития последних в определённом направлении (см. Индукция ). Например, у зародышей хордовых животных И. центральной нервной системы служит зачаток хорды и мышц (хордомезодерма ), И. линзы – зачаток глаза и т. д. Действие И. не имеет видовой специфичности: И., взятый от зародышей одного вида животных, может вызвать индукцию соответствующего зачатка органа у зародышей другого вида. И. часто не теряют индуцирующих свойств после их умерщвления (фиксацией спиртом, кипячением и т. п.). В эксперименте действие собственных И. зародыша может быть заменено действием ряда органов и тканей (в живом или убитом состоянии) взрослых животных (чуждые или гетерогенные И.). Чуждые И. могут различаться по характеру индуцирующего действия; так, печень морской свинки вызывает у земноводных образование в эктодерме гаструлы структур переднего мозга, а костный мозг – образование хорды, мышц и др. производных мезодермы . Действие как собственных, так и чуждых И. может осуществляться не только при непосредственном контакте их с клетками реагирующей системы, но и через фильтр с микроскопическими порами. Переход веществ из И. в клетки реагирующей системы показан цито– и биохимическим, иммунологическим и др. методами. Переходящие из И. в клетки реагирующей системы вещества локализуются в цитоплазме этих клеток. В ряде случаев из И. выделены вещества, обладающие разными индуцирующими свойствами: рибонуклеопротеид, вызывающий образование головного мозга; белок с молекулярной массой 25—30 тыс., вызывающий образование хорды, мышц и др. производных мезодермы. Индуцирующее влияние сложных химических веществ, источником которых служат И., может быть имитировано обработкой клеток реагирующей системы более простыми химическими соединениями, например сахарозой, хлористым литием, а также некоторыми повреждающими агентами или изменением pH среды.
Термином «И.» обозначают также факторы, необходимые для морфогенеза животных и растений в постэмбриональном периоде развития (например, гормоны и фитогормоны).
Г. М. Игнатьева.
Индуктотермия
Индуктотерми'я (от лат. inductio – наведение, введение и греч. thérme – тепло), метод электролечения, при котором определённые участки тела больного нагреваются под воздействием переменного, преимущественно высокочастотного (от 10 до 40 Мгц ) электромагнитного поля. Это поле индуцирует в тканях организма вихревые электрические токи. Сила вихревых токов пропорциональна электропроводимости среды, поэтому токи наиболее интенсивны в жидких средах организмов, обладающих значительной электропроводимостью (кровь, лимфа и др.). В подвергаемых воздействию вихревых токов областях тела образуется большее или меньшее количество теплоты, повышается обмен веществ, усиливается кровообращение, а следовательно – и поступление питательных веществ и удаление продуктов жизнедеятельности тканей, понижаются тонус мышечных волокон и возбудимость нервов – уменьшаются боли. Всё это создаёт условия для быстрого рассасывания воспалительного очага, даже глубоко расположенного, и для лечения заболеваний периферических нервов. Для проведения И. используют генераторы высокочастотных электрических колебаний. В СССР для И. выпускают аппараты ДКВ-2. Подведение генерируемой аппаратом энергии электромагнитного поля к пациенту осуществляется посредством гибкого кабеля (кабельный электрод), изогнутого в виде цилиндрической или плоской спирали, или дисковым аппликатором – плоской спиралью из медной трубки. Больной во время процедуры испытывает ощущение приятного тепла.
Лит.: Ливенцев Н. М., Электромедицинская аппаратура, 3 изд., М., 1964.
В. Г. Ясногородский.








