Текст книги "Большая Советская Энциклопедия (ИН)"
Автор книги: Большая Советская Энциклопедия
Жанр:
Энциклопедии
сообщить о нарушении
Текущая страница: 35 (всего у книги 66 страниц)
Инженерная разведка
Инжене'рная разве'дка, один из видов военной разведки, предназначенный для определения характера и степени инженерного оборудования позиций и районов, занимаемых противником. И. р. выявляет систему, плотности и виды применяемых заграждений, проходимость местности для боевой техники и транспорта, состояние дорог и мостов, характер водных преград и условия их форсирования, местонахождение и состояние водоисточников, наличие местных строительных материалов, а также добывает др. данные, которые могут быть использованы в бою и операции. И. р. организуется войсковым инженером (начальником инженерной службы) в соответствии с указаниями общевойскового штаба и ведётся силами инженерных войск самостоятельно (инженерными наблюдательными постами, разведывательными дозорами, группами) или совместно с общевойсковой разведкой. Конкретные задачи И. р. определяются в зависимости от характера предстоящих боевых задач. Некоторые инженерные данные о противнике и местности могут быть получены воздушным и наземным фотографированием, изучением документов, опросом пленных и местных жителей.
Инженерно-авиационная служба
Инжене'рно-авиацио'нная слу'жба, одна из служб в военно-воздушных силах СССР. Предназначена для инженерно-авиационного обеспечения авиационных частей: содержания самолётов, вертолётов, планёров, авиационных двигателей, вооружения и оборудования в исправном и готовом к эксплуатации состоянии. И.-а. с. занимается также организацией и осуществлением технически правильного использования авиационной техники, руководит технической подготовкой лётного и инженерно-технического состава, научно-исследовательской работой по совершенствованию авиационной техники, разрабатывает руководства и наставления по техническому обеспечению, информирует командиров о состоянии авиационной техники, оказывает помощь руководителям полётов по руководству действиями лётного состава. Аналогичная служба имеется и в ВВС других государств.
Инженерное оборудование зданий
Инжене'рное обору'дование зданий и населённых мест, комплекс технических устройств, обеспечивающих благоприятные (комфортные) условия быта и трудовой деятельности населения.
И. о. зданий включает: системы вентиляции, водоснабжения (холодного и горячего), канализации, отопления, кондиционирования воздуха, газоснабжения, искусственное освещение, электрооборудование, внутренний транспорт (пассажирские и грузовые лифты), средства мусороудаления, пылеуборки, пожаротушения, телефонизацию, радиофикацию и др. виды внутреннего благоустройства.
При сооружении современного городского здания на его И. о. расходуется до 40% общей стоимости строительства. Эксплуатация И. о. таких зданий требует квалифицированного обслуживающего персонала и в общих годовых эксплуатационных расходах составляет более 50%. Для повышения качества эксплуатации И. о. и уменьшения необходимого обслуживающего персонала применяют дистанционный и автоматический контроль и управление работой основных видов И. о. с помощью диспетчерских пунктов, объединяющих группу (комплекс) зданий обычно в составе микрорайона.
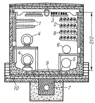
И. о. населённых мест включает сооружения, коммуникации и др. устройства, обеспечивающие работу И. о. жилых зданий, общественных сооружений, коммунальных и промышленных предприятий, а также удаление атмосферных осадков с территории населённых мест, их искусственное освещение и радиофикацию. Затраты на И. о. в городах составляют примерно 25—30% от общей стоимости жилищного и культурно-бытового строительства. В комплекс И. о. современного города входят: станции по обработке и подаче воды, очистные водопроводные и канализационные станции; электрические станции (в том числе ТЭЦ), электрические и трансформаторные подстанции, котельные для теплоснабжения, мусоросортировочные, перерабатывающие и сжигательные станции, газорегуляторные станции и газобаллонные установки; холодильные станции, обеспечивающие холодом установки кондиционирования воздуха в зданиях и др. нужды; радио– и телефонные станции, а также многочисленные коммуникации, проводящие тепло, газ, холодную и горячую воду, сточные воды, электроэнергию и т. п. Все эти коммуникации, как правило, прокладываются под землёй, причём применяются раздельная и совмещенная (коллекторная) прокладки. В последнем случае в одном подземном туннеле (коллекторе) устанавливаются, например, теплопроводы, водопроводные трубы, электрические силовые и слаботочные кабели (рис. ). Коллекторы обычно делаются проходными для удобства осмотра и ремонта коммуникаций. Совмещенная прокладка инженерных коммуникаций создаёт особенно благоприятные условия для комплексной эксплуатации И. о.
К И. о. населённых мест (городов) нередко относят также инженерные сооружения различных видов транспорта (скоростные городские дороги, путепроводы, туннели, подземные переходы, транспортные пересечения в разных уровнях и т. п.). Развитие и совершенствование И. о. – важнейший фактор повышения уровня благоустройства населённых мест .
Лит.: Основы советского градостроительства, т. 3, М., 1967; Строительные нормы и правила, ч. 3, раздел Г, гл. 1. Санитарно-техническое оборудование зданий и сооружений, М., 1963; Федоров Н. Ф. и Гусев В. М., Санитарно-техническое оборудование зданий и сооружений, Л., 1969.
И. Ф. Ливчак.

Размещение инженерных коммуникаций в подземном коллекторе: 1 – кабели связи; 2 – кабели силовые; 3 – кабели внутреннего обслуживания коллектора; 4 – трубопроводы тепловой сети; 5 – водопровод; 6 – канализация; 7 – дренажная труба; 8 – металлические полочки; 9 – железобетонные блоки; 10 – бетонная подготовка.
Инженерное оборудование местности
Инжене'рное обору'дование ме'стности, комплекс инженерных мероприятий по возведению укреплений и приспособлению местности для боевых действий войск. И. о. м. осуществляется всеми видами вооружённых сил в различных видах боя и операции; наиболее сложные работы с применением военно-инженерной техники выполняются инженерными войсками . И. о. м. включает: возведение оборонительных и защитных сооружений (окопов, траншей, блиндажей, убежищ, укрытий для техники и т. п.), устройство различных видов заграждений, прокладывание войсковых путей, постройку дорог, мостов, аэродромов, оборудование пунктов водоснабжения, маскировку боевых порядков войск, техники и др. Войска приступают к И. о. м. сразу же с занятием оборонительных позиций и районов расположения и осуществляют его в определённой последовательности, обеспечивающей защиту и сохранение боеспособности. Широкое применение современной военно-инженерной техники (специальных инженерных машин, например, траншеекопателей, экскаваторов, путепрокладчиков и др. ), а также взрывчатых веществ и сборно-разборных фортификационных сооружений позволяет осуществлять И. о. м. в короткие сроки. См. также Фортификация , Заграждения военные .
П. С. Иванов.
Инженерной геологии и гидрогеологии институт
Инжене'рной геоло'гии и гидрогеоло'гии институ'т Всесоюзный (ВСЕГИНГЕО), научно-исследовательский институт Министерства геологии СССР. Создан в Москве в 1939. Основные проблемы, изучаемые институтом: региональная гидрогеология; динамика, режим и баланс подземных вод; шахтная геология; гидрогеохимия; мелиоративная гидрогеология; региональная инженерная геология; карстовые процессы, оползни, переработка берегов; разработка методов исследований подземных вод (геофизических, геохимических, геоботанических, ядерных, математических, моделирования и др.), а также нового технического оборудования и аппаратуры. Коллектив сотрудников института возглавляет издание многотомной монографии «Гидрогеология СССР» (выходит с 1966); опубликовано «Руководство по изучению режима и баланса подземных вод в речных бассейнах Международного гидрологического десятилетия» (1968); в 1969 издана составленная институтом гидрогеологическая карта СССР масштаба 1:2500000. Результаты научных работ публикуются в «Трудах» института, где отражаются вопросы гидрогеологии и инженерной геологии, и в тематических сборниках.
В. А. Иванов.
Инженерно-строительные институты
Инжене'рно-строи'тельные институ'ты, готовят инженеров и научных работников для различных отраслей строительства, механизации и автоматизации строительного производства по специальностям: архитектура; промышленное, гражданское, городское, гидротехническое строительство; строительные и дорожные машины и оборудование; автоматизация и комплексная механизация строительства и др. Инженеров-строителей готовят также строительные факультеты некоторых политехнических институтов, институтов ж.-д. транспорта и др.
В 1972 в СССР было 26 инженерно-строительных институтов: Белгородский технологический строительных материалов (основан в 1970), Брестский (1966), Вильнюсский (1969), Волгоградский инженеров городского хозяйства (1952), Воронежский (1930), Всесоюзный заочный (в Москве, 1944), Горьковский им. В. П. Чкалова (1930), Днепропетровский (1930), Казанский (1946), Киевский (1930), Куйбышевский им. А. И. Микояна (1930), Ленинградский (основан в 1842 как институт гражданских инженеров), Макеевский (1972), Московский им. В. В. Куйбышева (1921), Новосибирский им. В. В. Куйбышева (1930), Одесский (1930), Пензенский (1958), Полтавский (1930), Ростовский (1944), Самаркандский архитектурно-строительный (1966), Томский (1952), Тюменский (1971), Усть-Каменогорский строительно-дорожный (1958), Харьковский (1930), Харьковский инженеров коммунального строительства (1930), Целиноградский (1964).
В большинстве И.-с. и. есть дневные, вечерние и заочные факультеты, подготовительные отделения. Некоторые И.-с. и. имеют факультеты (отделения), филиалы в других городах (например, Всесоюзный заочный институт – вечерние факультеты в Москве и в г. Люберцы Московской области, филиал в Алма-Ате).
При 18 И.-с. и. организована аспирантура. Право приёма к защите кандидатских и докторских диссертаций предоставлено Киевскому, Ленинградскому, Московскому и Новосибирскому институтам; кандидатских – Вильнюсскому, Волгоградскому, Воронежскому, Горьковскому, Днепропетровскому, Одесскому, Ростовскому, Харьковскому.
Срок обучения в И.-с. и. 5—6 лет. Выпускникам, защитившим дипломный проект, в соответствии с полученной специальностью присваивается квалификация инженера-строителя (-гидротехника, -механика и др.). См. также Строительное образование .
В. А. Юдин.
Инженерно-технические научные общества
Инжене'рно-техни'ческие нау'чные о'бщества, см. Научно-технические общества СССР .
Инженерно-экономическое образование
Инжене'рно-экономи'ческое образова'ние, система подготовки инженеров-экономистов для промышленности, строительства, транспорта и др.
И.-э. о. как отдельная отрасль высшего экономического образования начало складываться в СССР в первые годы Советской власти. Наряду с имевшимися коммерческими институтами (факультетами) в ряде вузов были организованы факультеты по подготовке хозяйственных кадров с техническим и экономическим образованием: инженерно-экономический факультет в Московском промышленно-экономическом институте (основан в 1923), промышленные факультеты в Харьковском (основан в 1921) и Ленинградском (основан в 1926) институтах народного хозяйства. В 1930 Московский промышленно-экономический институт и промышленные факультеты Харьковского и Ленинградского институтов народного хозяйства были реорганизованы в специализированные вузы (ныне Московский инженерно-экономический институт им. Серго Орджоникидзе, Ленинградский инженерно-экономический институт им. Пальмиро Тольятти, Харьковский инженерно-экономический институт).
В 1972 в СССР подготовку специалистов с И.-э. о., помимо 3 специализированных институтов, осуществляли факультеты (отделения) свыше 40 отраслевых вузов.
И.-э. о. включает подготовку инженеров по экономике и организации производства для отдельных отраслей промышленности (машиностроительной, химической, радиоэлектронной, металлургической, горной, нефтегазовой, лесной, полиграфической, лёгкой и др.) и транспорта (ж.-д., автомобильного, воздушного, водного), энергетики, строительства, связи, городского хозяйства, а также по организации механизированной обработки экономической информации (инженеры-экономисты этого профиля используются во всех отраслях промышленности и транспорта).
Учебные планы по инженерно-экономическим специальностям предусматривают изучение общественных дисциплин с расширенным курсом политической экономии; курсов высшей математики, физики, химии; группы технических дисциплин по избранной специальности (сопротивление материалов, механика, технология производства, машины и оборудование и т. д.). Экономический цикл включает курсы статистики, бухгалтерского учёта, финансов, экономики соответствующей отрасли народного хозяйства и др. Наряду с общенаучной, технической и общеэкономической подготовкой студенты получают достаточные знания в области технологии и техники производства, организации и планирования производства и труда, управления производством в конкретной отрасли хозяйства. Студенты всех специальностей изучают курсы вычислительных машин и программирования, механизации обработки информации (или применения математических методов в планировании и управлении производством). Срок обучения на дневных отделениях – 5 лет, заочных и вечерних – 6 лет. Завершается обучение защитой дипломного проекта.
В 1971/72 учебном году по инженерно-экономическим специальностям обучалось 186 тыс. студентов. Ежегодный выпуск около 11 тыс. специалистов.
Научно-педагогические кадры инженерно-экономических специальностей готовятся в системе аспирантуры Ленинградского, Московского и Харьковского инженерно-экономических вузов и на кафедрах экономики и организации производства ряда втузов (МВТУ им. Баумана, Московского авиационного, Ленинградского и Уральского политехнических институтов и др.). Московскому и Ленинградскому инженерно-экономическим институтам предоставлено право приёма к защите кандидатских и докторских диссертаций, Харьковскому – кандидатских. При инженерно-экономических институтах и Уральском политехническом институте созданы факультеты по подготовке организаторов промышленности и строительства (из числа специалистов с высшим образованием).
За рубежом нет специализированных инженерно-экономических институтов. В других социалистических странах подготовка специалистов с И.-э. о. ведётся на отраслевых факультетах втузов и университетов. Широкое развитие во многих странах получило экономическое образование инженеров через различные формы повышения квалификации.
К. И. Шнитко.
Инженерные войска
Инжене'рные войска', специальные войска, предназначенные для инженерного обеспечения боевых действий соединений и частей родов войск. И. в. имеются в вооружённых силах большинства государств и состоят из частей и подразделений различного назначения: инженерно-сапёрных (сапёрных), инженерно-дорожных, понтонно-мостовых, переправочно-десантных (амфибийных), инженерно-мостостроительных (мостовых), инженерно-позиционных, добывания воды (полевого водоснабжения), инженерно-строительных и др. специальностей. И. в. оснащены разнообразной инженерной техникой для отрывки траншей и окопов (укрытий), строительства (восстановления) дорог и мостов, заготовки леса и конструкций; имеют переправочные, маскировочные, электротехнические, грузоподъёмные средства, а также средства разведки, добычи и очистки воды, минирования, разминирования и др. По организационной принадлежности подразделения и части И. в. входят в состав соединений и частей родов войск и видов вооружённых сил.
В бою и операции И. в. применяются для выполнения сложных задач инженерного обеспечения, требующих специальной подготовки личного состава, применения различной инженерной техники и инженерных боеприпасов. В наступлении они устраивают проходы в заграждениях и переходы через препятствия, разграждают и прокладывают пути для движения войск, оборудуют и содержат переправы через водные преграды, разрушают оборонительные сооружения, уничтожают боевую технику и живую силу противника; в обороне устраивают минно-взрывные и др. заграждения, возводят сложные фортификационные сооружения, осуществляют механизированную отрывку траншей, ходов сообщения, окопов и укрытий. Кроме того, И. в. ведут инженерную разведку противника и местности, оборудуют районы расположения войск, пунктов управления, выполняют наиболее важные работы по маскировке, осуществляют добычу и очистку (обеззараживание) воды. В армиях некоторых стран на И. в. возлагается оборудование аэродромов, прокладывание и содержание полевых трубопроводов, содержание внутренних водных путей, оборудование и содержание пунктов манёвренного базирования сил флота, а также выполнение топографических, картографических и геодезических работ и снабжение войск топографическими картами.
Ещё в древности войска выполняли различные военно-инженерные задачи для обеспечения боевых действий войск. До появления И. в. возведение укреплений, подготовка путей, устройство переправ, создание заграждений и др. работы производились самими войсками, иногда с помощью временно созданных отрядов мастеровых. Появление И. в. относится к 17 в. (во Франции), их первым организатором был известный французский инженер С. Вобан ; в Австрии, Германии и России И. в. были созданы в начале 18 в. Временем создания И. в. в России считается февраль 1712, когда Петром I были утверждены штаты минёрной роты (с 1702) и команды понтонёров (с 1704), а также создан «полк военных инженеров». Значительное развитие И. в. русской армии получили во время Семилетней войны 1756—63, которая потребовала инженерной подготовки осады мощных крепостей (Кольберг и др.), переправы войск через Неман и Вислу и др. В 1802 было создано инженерное ведомство. В начале 19 в. И. в. состояли из инженерного и понтонного полков (по 6—10 рот). В 1816 введена батальонная организация И. в. из расчёта 1 инженерный или 1 сапёрный батальон на каждый корпус. Во 2-й половине 19 в. батальоны И. в. были объединены в бригады. В 1870 в России стали формироваться первые военно-походные телеграфные парки (впоследствии роты), в 1876 – ж.-д. батальоны, в 1877 морские минные роты. В 1878 вводятся полевые инженерные парки. Перед 1-й мировой войной 1914—18 И. в. русской армии имели 39 сапёрных, 9 понтонных батальонов, 25 парков, 38 авиационных отрядов, 7 воздухоплавательных и 7 искровых рот, а также несколько запасных частей. И. в. других армий в то время включали: германская армия – 19 инженерных батальонов, 1 ж.-д. полк и 1 ж.-д. роту; австрийская армия – 5 инженерных полков: 2 инженерных и 1 пионерный (в составе по 5 батальонов), 1 ж.-д. и 1 телеграфный. В начале 20 в. из И. в. русской и др. армий постепенно выделились части связи, ж.-д. войска, авиация, автомобильные и бронетанковые, прожекторные, химические войска. В 19 в. И. в. наиболее крупных армий составляли около 2% их общего состава, в ходе 1-й мировой войны численность И. в. возросла до 7%, а к концу 1917 в английской, французской и русской армиях они составляли около 12%. Возрастание численности И. в. обусловливалось увеличением размаха операций и расширением масштабов инженерного обеспечения боевых действий войск, а также появлением новых задач по инженерной подготовке театров военных действий и всей территории страны в интересах ведения войны.
Советские И. в. создавались вместе с организацией Красной Армии. По штату 1918 в дивизиях предусматривалось иметь инженерный батальон (1263 чел.), в стрелковых бригадах – сапёрную роту (361 чел.), в стрелковых полках – сапёрную команду (60 чел.). В 1919 были сформированы специальные инженерные части (понтонные и электротехнические батальоны, отдельные маскировочные роты). В ходе Гражданской войны за проявленный героизм более 100 воинов инженерных частей были награждены орденами Красного Знамени. Руководство И. в. осуществляли инспектор инженеров при Полевом штабе Республики (с 1918 до конца 1921 – А. П. Шошин), начальники инженеров фронтов, армий и дивизионные инженеры. Командные кадры готовились в Военно-инженерной академии (возобновила занятия в 1918) в 3 школах и на 8 военно-инженерных курсах. В 1921 численность И. в. составляла 2,7% состава Красной Армии, руководство ими было возложено на главное военно-инженерное управление (создано в июне 1918, но до 1921 ведало только инженерным снабжением Красной Армии), должность инспектора инженеров упразднена. В результате военной реформы 1924—25 И. в. перешли на новые штаты, по которым корпуса имели сапёрные батальоны (2 сапёрные роты и инженерный парк), дивизии – отдельную сапёрную роту и инженерный парк, стрелковые полки – инженерный маскировочный взвод. В 1929 штатные инженерные части и подразделения имелись во всех родах войск, И. в. постепенно стали оснащаться новой инженерной техникой.
Большой опыт советские И. в. получили в ходе советско-финляндской войны 1939—40 при прорыве сильно укрепленной оборонительной полосы «линии Маннергейма» (см. «Маннергейма линия» ) и выполнении задач по инженерному обеспечению наступательных операций Красной Армии.
К 1941 И. в. состояли из войсковых, армейских и окружных частей и подразделений, кроме того, имелись 2 батальона и 1 рота И. в. РВГК. В начале 1941 окружные и армейские инженерные части были переформированы в инженерные и понтонные полки. В начале Великой Отечественной войны 1941—45 (октябрь 1941) для проведения работ по инженерному оборудованию оборонительных рубежей началось формирование сапёрных армий (к январю 1942 их было 10). В феврале 1942 5 сапёрных армий были расформированы, остальные подчинены фронтам, а позже также упразднены. С 1942 основной формой организации И. в. РВГК стали инженерные бригады (штурмовые, инженерно-сапёрные, понтонно-мостовые и др.), которые в 1944 были введены в состав фронтов и армий. В ноябре 1941 были созданы штаб инженерных войск Красной Армии, штабы инженерных войск во фронтах и армиях и учреждена должность начальника И. в. Красной Армии, которую занимали: с ноября 1941 – генерал-майор инженерных войск Л. З. Котляр, с апреля 1942 – генерал-майор инженерных войск М. П. Воробьев. В войсках были учреждены должности заместителя командующего фронтом (армией) – начальник инженерных войск фронта (армии). В ходе Великой Отечественной войны И. в. строили укрепления, создавали заграждения, минировали местность, в наступательных операциях обеспечивали проведение маневра войск, вели инженерную разведку, проделывали проходы в минных полях врага, обеспечивали преодоление его инженерных заграждений, форсирование водных преград, участвовали в штурме укреплений, городов, закрепляли захваченную территорию, участвовали в проведении контратак и контрударов. За большие заслуги в Великой Отечественной войне свыше 600 чел. удостоены звания Героя Советского Союза, 266 чел. награждены орденами Славы 3-х степеней. Многие части и соединения И. в. получили звание гвардейских. Начальниками И. в. в послевоенный период были: до 1952 – маршал инженерных войск М. П. Воробьев, с мая 1952 – генерал-полковник (с 1961 маршал инженерных войск) А. И. Прошляков; с февраля 1965 – генерал-лейтенант инженерных войск (с 1966 генерал-полковник) В. К. Харченко.
В послевоенный период И. в. получили дальнейшее развитие, появились новые средства для проделывания проходов в заграждениях противника, высокопроизводительные дорожные и землеройные машины, быстровозводимые сборно-разборные фортификационные сооружения, современные понтонные парки и самоходные переправочно-десантные средства, высокоэффективные средства заграждений и специальные машины для установки мин в ходе боевых действий. Большую работу И. в. проделали по очистке территории страны от взрывоопасных предметов: выявили и уничтожили более 58 млн. мин и свыше 122 млн. авиационных бомб и артиллерийских снарядов. За мужество и отвагу, проявленные при выполнении этих работ, более 8 тыс. воинов И. в. награждены орденами и медалями Советского Союза.
Увеличение объёма инженерных работ в современном бою и операции, необходимость резкого сокращения сроков их выполнения, быстрого устройства заграждений, укрытий от средств массового поражения предъявляют повышенные требования к И. в., роль их становится ещё более значительной. См. такжеВоенно-инженерное искусство .
Лит.: Александров Е. В., Краткий исторический очерк развития инженерных войск русской армии, М., 1939; Военно-инженерное искусство и инженерные войска русской армии, Сб. ст., М., 1958; Инженерные войска в боях за Советскую Родину, М., 1970.
Г. Ф. Самойлович.

Переправа танков по наплавному мосту, наведённому из понтонного парка.

Траншеекопатель.

Прокладка пути путепрокладчиком.

Наводка наплавного моста из понтонного парка.

Переправа артиллерийского орудия на плавающем транспортёре.

Переправа танка на гусеничном самоходном пароме.








