Текст книги "Паладин развивает территорию. Том II (СИ)"
Автор книги: Greever
сообщить о нарушении
Текущая страница: 10 (всего у книги 41 страниц)
Когда дворф вернулся с проводом, на полу испытательного склада стояли несколько собранных простых устройств.
Забрав провод из рук дворфа и оставив всех на складе, лорд направился к генератору. Отключив его от рун, соединил отходящие от него провода, с теми, что были у него и вернулся на склад, по пути разматывая их по отдельности.
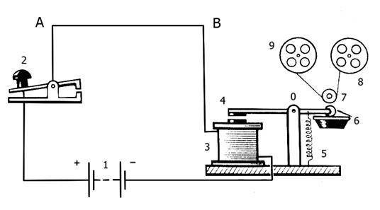
Ещё полчаса ушло на то, чтобы соединить устройство проводами и наконец, телеграф был готов. Самый простой его вариант.
Тут был ключ, который будет замыкать два провода и приёмник, с простейшим электромагнитом, что Виктор сделал из металлической болванки не больше батарейки, обмотав её медным проводом.

Под недоумевающие взгляды дворфов лорд использовал ключ, чтобы замкнуть провода и в ту же секунду, сработал электромагнит, притянувший к себе рычаг приёмника, издав характерный стук, как у печатной машинки.
Повторив такое несколько раз, лорд передал первое сообщение на расстоянии с помощью телеграфа, три точки, три тире и вновь три точки. Самое простое, что он мог вспомнить из азбуки Морзе – SOS.
Хотя тире увидеть без бумаги было невозможно, магнит просто удерживался прижатым немного дольше.
Но этого хватило, чтобы в его голове, выстроилась целая схема, как это будет работать. Азбуки Морзе, Виктор не знал и никогда не видел, но зная принцип, придумать свою, было не сложно.
Однако его не интересовал телеграф как долгосрочный проект. Лорд хотел сразу перейти к телефону, а пока будет разрабатывать такое устройство, телеграф послужит в качестве экстренной связи между столицей графства, Балтес и «Миром желаний».
Дворфы понятия не имели, что сделал аристократ перед ними, и решили прояснить этот момент.
– Зачем это нужно? Ты ведь мог сделать это сам, без такого сложного механизма – спросил Ронаддур, до конца не осознавая того, что произошло.
Виктор должен был прояснить всё, чтобы заинтересовать этих парней.
– Вы думаете о таком маленьком расстоянии, но что, если одно устройство будет стоять в Балтес, а другое в Рондане и с помощью таких вот постукиваний, можно будет мгновенно передавать сообщения? Или также отправлять новости на поле боя, и обратно? – спросил он, разглядывая устройство на полу.
Только после этих слов, мысли дворфов покинули склад и представили континент, опоясанный проводами, по которым бежит информация, в один момент доставляющая сообщения.
Одно дело магические письма, что доступны только за очень большие деньги, но этот механизм ничего не стоил, а сообщения мог передавать бесконечно.
– Ты собираешься делиться таким открытием? – спросил король дворфов, подперев левой рукой правую, поглаживающей рыжую бороду.
Теперь Виктор видел заинтересованность и не стал томить ожиданием.
Встав во весь рост, он посмотрел на разглядывающих его снизу дворфов.
– Да, но у меня будет условие – сказал лорд – мне нужен торговый маршрут через Рондан, с условием, что кругом перемещения, можно пользоваться только через Балтес.
Король с удивлением посмотрел на аристократа, но, поняв, что происходит, с улыбкой почесал затылок.
– Вообще-то, мы уже договорились на этот счёт, но, по всей видимости, ты был слишком пьян и не запомнил наш разговор. Однако теперь я подтверждаю, что согласен на это условие – самодовольно ответил Ронаддур.
Виктор сразу понял свою ошибку. Оказывается, в тот день, когда они пили, между ними уже была заключена сделка, а он согласился отдать устройство прямо сейчас, просто так.
«Проклятые дворфы, опять меня обманули!». Негодовал в душе лорд и вновь поклялся, никогда больше не притрагиваться к алкоголю, потому что от него были лишь расходы и неприятности.
Но понимая, что в любом случае получил то, что хотел, Виктор также усмехнулся и, покачав головой, направился в сторону выхода.
– Ах да. Я хочу, чтобы Ваше Величество, встретилось с аристократами в моём новом заведении – словно это не обсуждалось, лорд покинул склад, оставив дворфов в недоумении.
Гелдор и Балтор посмотрели на короля, желая знать его реакцию.
– Странный парень. Так, просто раздаёт такие важные секреты – разглядывая дверь, через которую вышел Виктор, сказал король.
Гелдор выдохнул и решил, что их монарх слишком наивен, если думает, что этого аристократа можно вот так легко использовать.
– Будь с ним аккуратнее, потому что там, где он потеряет золотой, этот человек найдётся способ, забрать у тебя тысячу – сказал Гелдор и двинулся также на выход.
Для него хватило сегодняшних изобретений. Теперь всё, чего он хотел, это хорошенько выпить и возможно подраться с братьями, которые наверняка хотят того же.
* * *
В Балтес был ещё один человек, который занимался делами вотчины, оставаясь при этом максимально незамеченным. Во всяком случае, так считала сама девушка.
Шона с утра до вечера возилась с купцами, помогая налаживать торговлю вновь прибывшим и улаживая конфликты с уже знакомыми торговцами.
Между собой эти люди называли её драконом в юбке. Так как всегда спокойная в делах, она могла вспылить и начать избивать купцов, что переходили границы в общении с ней.

Будучи рыцарем на пике серебряного уровня, девушка легко могла заставить пожалеть торговцев, которые порой забывали, что она графиня и будущая жена местного лорда.
Но сегодня, ей также пришлось вести себя очень скромно, так как в Балтес прибыла делегация Армондэля и вместо того, чтобы направиться в особняк, эти люди пришли к ней в гильдию.
Главой делегации являлся её отец граф Мирин.
Оказавшись в здании и обнаружив свою дочь, занимающейся такой грязной работой, мужчина чуть не взорвался от негодования, но быстро был остановлен своей дочерью.
Девушка сидела в аукционном зале, где было оборудовано место для важных персон. Развалившись в удобном кресле, она смотрела на своего отца, который хоть и не кричал, как тогда, когда только вошёл в здание, но его сжимающиеся кулаки, явно указывали на состояние графа.
Наконец, он решил заговорить с ней.
– Ты всё ещё злишься на меня? – спросил граф.
Шона понимала, что её отец в том происшествии, делал всё ради неё и никак не могла подобрать слова, чтобы извиниться за своё поведение, а такой вопрос, лишь всё усложнял.
– Я была глупа и наивна – начала девушка, разглядывая уставшие глаза графа, сидевшего в соседнем кресле – Виктор мне обо всём рассказал. И я благодарна вам за то, что защитили меня тогда.
Брент только теперь смог выдохнуть, словно с его плеч свалился огромный валун, весом несколько тонн.
– Тогда…может, вернёшься со мной домой? – спросил старый граф, с надеждой в голосе.
Девушка покачала головой.
– Я уже решила выйти замуж за него, и вы знаете об этом – спокойно разглядывая отца, ответила Шона.
Только граф не собирался успокаиваться. Пусть виконт и прославился, и имел хорошую наследственность, но в мире существовали куда более подходящие для его дочери мужья.
– Зачем тебе это? Ты любишь его? – спросил мужчина.
Однако девушка лишь усмехнулась на такой вопрос.
– Нет, я его не люблю и не собираюсь влюбляться ни в кого. Это просто выгодно и судя по тому, что я вижу… Виктор станет центром внимания на континенте, а я из этого, получу то, что полагается мне, как его жене – ответила девушка, сузив глаза, словно думала о каком-то важном деле.
Граф не верил, что захолустный виконт, сможет стать центром континента. Пусть сейчас здесь и находился король дворфов, но у него не было сомнений, что вскоре тот покинет эти владения и про это место вновь забудут, а его дочь, ошибившись, получит такой якорь в лице местного лорда.
Только вот, мужчина больше не хотел терять дочь, поэтому решил поддержать её, что бы она ни делала.
– Отец, я хотела вас попросить – начала девушка и сразу заметила взбодрившегося отца.
Мужчина, услышав про просьбу, сразу обрадовался. Ведь это значило, что его дочь, наконец, вновь считает его отцом, к которому можно обратиться за помощью.
– Только скажи, и я сделаю всё, что пожелаешь – радостно произнёс пожилой мужчина, с глубокими морщинами на лице.
– Необходимо построить корабли, для транспортировки грузов и через год, отправить их к берегам графства Парфо – сообщила девушка.
Хотя просьба была довольно странной, но графу было плевать. Его дочь просила, значит, это необходимо сделать, даже если она хочет сжечь их и просто полюбоваться на это.
– Хорошо доченька, сколько кораблей нужно? – спросил мужчина.
– Хватит двадцати для начала – коротко ответила Шона и, поднявшись с кресла, подошла к отцу. После чего упав на него, крепко обняла мужчину, не ожидавшего, что его взрослая дочь, поведёт себя, как ребёнок.
– Хорошо доченька, я всё сделаю. Ты только попроси отца, и он ничего не пожалеет – пустив скупую мужскую слезу, пробормотал граф, поглаживая дочь по голове и спине.
Глава 184
Магия вокруг нас
В то время, пока осенние дожди лишь усиливались, в Балтес нескончаемым потоком шли караваны торговцев и конвои с дворянами. Одни желали провести хорошую сделку, другие встретиться с королём дворфов или хотя бы похвастать тем, что говорили с ним, вернувшись в свои королевства.
Последние два дня, Виктор, закрываясь в кабинете, пытался развить свой успех с телеграфом и перейти к телефону. Проблема, как всегда, заключалась в том, что он видел только некоторые детали данного устройства.
В отличие от сложных смартфонов, стационарный телефон был довольно прост в изготовлении, только вот всё упиралось в микрофон. Если динамик, он ещё мог худо-бедно представить и логически додумать того, что не знал, то с микрофоном было сложнее.
Он понятия не имел, как это должно работать. Всё, к чему пришёл лорд за два дня – это то, что голос должен как-то создавать вибрации, а чувствительный элемент улавливать и переводить его в электрические импульсы.
Учитывая, что микрофон на Земле изобрели ещё в те времена, когда об электронике и сложных материалах даже не задумывались, он понимал, что всё можно собрать из подручных материалов, и начал экспериментировать с тем, что есть под рукой.
«Если я смогу создать элемент, который будет передавать вибрации звука, для последующей конвертации в электрические импульсы. Окажется несложным, создать микрофон». Размышлял Виктор, чертя на листе бумаги схему.
Он также понимал, что учёные Земли, могли полагаться только на механику, а значит, надо было всё делать так же. В его голове устройство представлялось как некий поршень, в двигателе внутреннего сгорания, который снизу подпирает пружина, толкающая его вверх, а вибрация от мембраны сверху, толкает вниз.
По бокам у такого поршня расположены контакты, что при каждом движении, будут пересекаться с контактами на стенках цилиндра и передавать импульсы в такт речи человека.
Он очень хотел поскорее создать устройство для передачи голоса, чтобы его солдаты получили рации как можно раньше.
Только вот, ему без конца мешали, отвлекая всякой ерундой.
Тук-тук-тук, послышался стук в дверь, а за ним, голос, который начал раздражать его всё больше.
– Виктор, ты должен пообщаться с гостями! – громко сообщила Сильвия через дверь, когда поняла, что не может попасть внутрь.
Ей приходилось вылавливать мужа по всей вотчине и отправлять к аристократам, от которых дом уже был переполнен и часть заселили в районе «Поле чудес».
Лорд это понимал и сидел, замерев, надеясь, что девушка уйдёт, однако стук в дверь повторился и судя по её голосу, она не собиралась уходить.
Сдавшись, Виктор наконец, встал из-за стола и оставив детали разбросанными по всему кабинету, направился к двери.
Открыв её, он увидел свою жену в зелёном приталенном платье в пол, которая была явно не в духе и смотрела на него с гневом, словно хотела задушить.
Желая успокоить девушку, без лишних слов лорд притянул стоявшую перед ним гордо задрав носик Сильвию и начал целовать её в шею, щекоча двухдневной щетиной.
Заливаясь смехом, она отбивалась от мужа и когда смогла высвободиться из его хватки, смотрела с ещё большей злостью и слезами от смеха на глазах.
– Дурак! – крикнув напоследок, она развернулась и, топнув ножкой, быстрым шагом направилась по длинному светлому коридору в сопровождении своей фрейлины Милы.
«Поработать не получится, пора разобраться с гостями». С этими мыслями он направился к себе в комнату и переодевшись пошёл к представителю империи Лиденгард.
На этот раз это был некий виконт, о котором лорд никогда не слышал, но в силу обстоятельств, необходимо было с ним пообщаться.
Спустившись по широкой лестнице, застеленной красным ковром, Виктор оказался в гостиной, где нашёл около пятнадцати дворян, со всего континента.
– Приношу свои извинения господа, надеюсь, я не был слишком нагл, что заставил ждать, столь уважаемых людей – начал с извинений лорд, принятых у дворян, даже если никаких извинений не требовалось.
Всё это делалось для привлечения внимания и как объявления, что именно он хозяин особняка, ведь в лицо его знали немногие даже в Лантарисе.
Аристократы, встретившие местного лорда, лишь кивнули в ответ и продолжили общение между собой, что Виктор также принял, как само собой разумеющееся.
Раньше такие вещи были словно игра, в которую приходится играть. Однако с недавних пор, такое поведение для него стало естественным и, более того, теперь лорд сам требовал соблюдения этикета от других аристократов.
За собой он этого не замечал, но Виктор на самом деле стал виконтом Балтес, пусть и говорил, что он не такой, как все.
Пока хозяин дома озирался по сторонам, к нему подошёл молодой человек в классической аристократической одежде и поклонившись, представился.
– Ваша милость, позвольте представиться – виконт Матеус Коллин, рад встретиться с прославленным виконтом Балтес – с нескрываемым энтузиазмом произнёс мужчина.
Лорд оценивающе посмотрел на него с ног до головы и только после этого поклонился и представившись, поблагодарил за комплимент.
Матеус на удивление, действительно выглядел восторженно и вновь заговорил первым.
– Я сам напросился на эту встречу, зная, что именно в ваших владениях находится Его Величество Король Ронаддур – сказал мужчина.
Виктор жестом руки, пригласил его отойти в сторону и взяв со столика у дверей, два бокала вина, передал один гостю, после отвёл того к окну и уже здесь решил выяснить, почему так важно было встретиться с ним.
– Я благодарен за ваши комплименты в мой адрес, но вряд ли заслуживаю такого внимания, от представителя империи – сказал лорд и пригубил вино, ожидая ответа.
– Вы слишком скромны! – воскликнул Матеус, чем на секунду привлёк внимания других аристократов и, не обращая внимания на это, продолжил – ваша матушка, одна из сильнейших рыцарей империи, конечно, я должен был встретиться с её сыном.
В этот момент Виктор замер, потому что был уверен, что его знают из-за военного похода или некоторых новшеств, которые он ввёл в королевстве. Однако всё было из-за матери, которую никогда не встречал.
Через минуту, придя в себя, лорд понял, что это удача, и решил наконец, узнать о своей матери.
– Можете рассказать больше? Я никогда не встречался с ней – ответил он.
Матеус чуть не подпрыгнул, услышав такое.
– Более того, я принёс вам это – сказал мужчина и протянул кристалл.
Эти записывающие кристаллы, о которых лорд и думать забыл, вновь появились перед его глазами.
Только вот молодой человек не ожидал, что его собеседник, заберёт камень и, не сказав ни слова, развернётся и покинет гостиную.
Виктор шёл по лестнице наверх, погружённый в свои мысли.
«Я идиот! Я просто тупица! Умный? Ага! Как же! Тупой дегенерат, ты находишься в мире магии и постоянно забываешь об этом!». Ругал себя лорд, понимая, что вновь упустил такую вещь, как магия, что может решать многие вещи и кристалл напомнил ему об этом.
«Зачем микрофон? Зачем телефон? Ведь есть кристаллы! К сожалению, они могут лишь записывать, но кто это сказал?». Идя в кабинет, размышлял он.
«Свейн говорил, что кристаллы очень полезны, так как реагируют на любую вибрацию и могут записать, даже колебания маны, если активированы. Раз они настолько чувствительны, значит, их можно использовать, но как?». Оставалось, только выяснить.
Любая вибрация, это механическое действие, что было близко Виктору, поэтому он пришёл к выводу, что кристаллы, могут заменить телефон.
Вновь запершись в кабинете, лорд хотел начать изучение кристалла, но вспомнил, что в нём находилась запись, адресованная ему.
Вернувшись к двери и приказав страже, пригласить виконта, которого он так грубо оставил в гостиной к себе, Виктор вернулся к столу и рухнув в кресло, активировал камень.
В камне появилось изображение, а вместе с ним и женский голос, что стало неожиданностью для него.
Очень обаятельная брюнетка, которой можно было дать не больше двадцати пяти лет, говорила завораживающим голосом, обращаясь словно к самой душе лорда.

– Дорогой сын, я знаю у тебя много вопросов – после этих слов, Виктор хотел выключить камень, потому что ему казалось, что он предаёт свою мать с Земли, позволяя другой женщине называть его сыном. Но переборов себя, продолжил слушать сообщение – всё, что произошло с твоим отцом, случилось не по моей вине и я до конца не понимаю, как я вообще оказалась в Лантарисе вместе с Александром.
– Помню лишь то, как находилась во дворце, в столице Империи, а следующее воспоминание, о том, как я возвращаюсь в империю к своему настоящему мужу в сопровождении двух легендарных рыцарей.
– Только впоследствии я узнала, что отсутствовала несколько лет и у меня родился сын.
После сказанного женщина словно старалась подобрать слова и объяснить, почему не пыталась встретиться с ним все эти годы и почему только теперь вспомнила о нём.
– Сейчас, когда я обрела силу и больше не обязана подчинять кому-либо, могу действовать свободно. Я хотела приехать к тебе, но не знала, захочешь ли ты, видеть меня и будешь ли винить за то, что меня не оказалось рядом, когда тебе так нужна была мать – закончила женщина и после этого запись прекратилась.
Виктор, слушавший сказанное женщиной, ничего особенного не чувствовал по поводу её слов, однако понял, что по его щекам текут слёзы. Но это точно были не его слёзы, ведь она ему никто. Совершенно посторонняя женщина.
Тук-тук-тук. Прозвучал стук в дверь, и послышался голос дворецкого.
– Сир, к вам пожаловал виконт Матеус Коллин – сообщил он и, получив разрешение, проводил молодого человека в комнату.
Виктор встал из-за стола, чтобы проявить уважение и вновь посмотрел на парня с рыжими волосами и веснушками по всему лицу.
На вид, это был довольно добродушный человек, с носом картошкой и пухлыми щеками, при том, что не был толстым.
– Приношу свои извинения виконт Коллин, я был застигнут врасплох новостями о матери и не сдержался – попытался объясниться лорд, хотя всё это было враньём.
Матеус, решивший, что это он был виноват в реакции собеседника, слегка выдохнул и расслабился.
– Ничего страшного, я рад, что всё прояснилось – ответил молодой человек, после чего прошёл к креслу напротив стола, куда указал хозяин дома и сел поудобнее.
– Можете мне рассказать про неё? – спросил Виктор.
Услышав вопрос, Матеус аж заёрзал в кресле, как нетерпеливый ребёнок.
– Лиония Лемерия… ой простите, она вновь носит фамилию отца Дернс. Является нынешней главой герцогства, её Светлостью Лионией Дернс – начал объяснять Матеус и рассказал о том, кем является женщина, называющая себя матерью Виктора.
Три года назад, она развелась с мужем и сместив отца, заняла его место, после чего сразу объявила войну соседнему герцогству и благодаря силе рыцаря небесного уровня, смогла разгромить его. После этого присоединила к герцогству два графства, чем упрочила своё место.
Являясь рыцарем настолько высокого уровня, мало кто может с ней сравниться, а также с её появлением герцогство начало набирать силу и увеличивать войска.
Матеус передал некоторые слухи, касательно матери Виктора. По ним можно было понять, что эта женщина не щадит ни врагов, ни друзей, когда дело доходит до интересов её владений.
Она лично казнила четырёх вассалов, включаю мужчин, женщин и детей, полностью искоренив семьи вставших на её пути людей.
Всё описанное виконтом, произошло в течение трёх последних лет, что можно считать невероятным достижением, учитывая, насколько непросто воевать против другого герцогства и при этом вырвать у них целых два графства.
Слушая мужчину перед собой, Виктор вспоминал лицо женщины с изображения и её вкрадчивый голос, который совершенно не вязался с тем, как её описал виконт.
Но Матеус продолжил говорить, видя, что его внимательно слушают.
– Узнав, что я отправляюсь к вам, она передала сообщение на словах – сказал мужчина, после чего осмотрелся в кабинете, ища посторонних и поняв, что они совершенно одни, шёпотом добавил – ваша мать просила передать, что вы единственный наследник Дернса и место герцога будет ждать вас, когда вы вернётесь домой.
Виктор придвинулся поближе, когда рыжеволосый молодой человек заговорил шёпотом, однако отпрянул, услышав такое сообщение.
Прежде чем он успел что-либо осознать, его сознание втянуло в пространство богов и перед ним предстала Ирис, с серьёзным лицом, что было не характерно для этой богини земли.
– Я полагаю, что «мир» вмешался в рождение этого тела – произнесла она и добавила – я никак не могла понять, почему на этом континенте родился человек, у которого совершенно нет магии, ведь такого не могло быть.
Богиня пояснила, что все люди обладают магией, просто большинство не может её даже почувствовать, но тело Виктора было словно закрытый сосуд, в который вообще не могла попасть мана. А самое странное, что «мир» выбрал именно данное тело, для переноса души.
– По всей видимости, «мир» использовал женщину, чтобы она зачала ребёнка от нужного человека. И всё происходившее с ней, она не помнит, потому что её телом управлял «мир» – закончив говорить, женщина вновь задумалась, но больше ничего не сказала и выбросила лорда из своего пространства.
Виктор, на которого свалилось столько информации, сидел в кресле, не понимая, правда, сказанное богиней или только домыслы. Ведь даже боги не знают, что делает «мир».
Глава 185
Семья
После общения с Матеусом, Виктор сначала был перегружен информацией и чуть вновь не впал в апатию, но быстро пришёл в себя и в очередной раз решил, игнорировать всё, что узнал, пока не наступит то время, когда это понадобится.
По его мнению, в этом мире, проще всего жить как аристократы, которые до последнего ничего не замечают.
Слишком много всего происходит вокруг и если реагировать на всё подряд, не останется времени на то, чтобы просто жить.
Конечно, новость о том, что его ждёт место наследника герцога империи, довольно вдохновляющая, только Виктор знал свою удачу и точно понимал, что ничего простого там не будет.
Здесь, в своих владениях, он уже контролирует сюзерена и не даёт вассалам никакой возможности продохнуть, а что будет в империи? Устраивать резню как его мать? Это было последнее, чего бы ему хотелось.
Убийства, совершённые на полях сржений, не давали ему покоя и время от времени лорд просыпался в холодном поту, от кошмаров, где перед ним появлялись разные сцены боя, в которых он убивал людей десятками.
Были, конечно, вещи, о которых он не сожалел ни на грамм, и этим являлась казнь вассалов Шерманин, но это не значило, что для него всё проходило без последствий.
Благо теперь у него было с кем разделить свои тяготы.
Ранним утром, находясь в своей спальне, он играл с дочерями, которые не могли даже поднять головы. Уложив себе на грудь одну из них, Виктор смотрел, как ребёнок пытается поднять голову и, пуская слюни на него, что-то «угукает». В то время как вторая девочка, лежала рядом на спине, разглядывая потолок.
Как ни странно, слюни, которые его дочь усердно пускала на грудь папы, ему не казались противными, и он просто наблюдал, как два больших, голубых глаза дочери, словно пытаются что-то найти.
Тук-тук-тук. Раздался стук, в дверь, и лорд понял, что его беззаботное время с девочками закончилось.
– Сир, госпожа просила передать, что прибывает граф Андрос, а также гости из Тилая и кардинал из церкви Святого света – сообщил дворецкий.
Виктор нахмурил брови, слушая Джина.
Если появление представителя Тилая, страны на северо-востоке от империи Лиденгард, было ожидаемым, то новость о кардинале, слегка заинтриговала лорда.
– Скажи няне, пусть войдёт – приказал Виктор, желая привести себя в порядок и встретиться с представителем церкви.
У него были вопросы к гостям, касающиеся паладинов, которые никому другому он задать не мог.
Сразу после его приказа, вошли девять женщин в одежде горничных, до сих пор ожидавшие в коридоре. Все они были няньками его дочерей.
Передав детей женщинам, Виктор направился в ванну, где, приняв горячий душ, оделся в чистую одежду и в сопровождении дворецкого, пошёл встречать гостей.
* * *
За тысячи километров севернее от Балтес, уже шёл снег, и температура опустилась до минус пяти градусов. Однако люди в этих местах, по всей видимости, решили, что им не хватило крови и войн, потому что прямо сейчас, две армии встретились на открытом пространстве и явно готовились к бою.
Это было типичное для этого континента построение войск, когда две стороны сражаются лоб в лоб и побеждает та, что окажется сильнее или удачливее.
На одном конце заснеженного поля находилось войско из более сорока тысяч человек, возглавляемое объединившимися дворянами, тогда как с другой, армия не превышала численность в десять тысяч человек и во главе этих войск, находился один человек, закованный в тяжёлые доспехи и двумя двуручными мечами, висевшими на лошади.

Хотя довольно странно было бы называть этого монстра лошадью. Будучи почти в два раза больше любого скакуна и с чёрными усохшими крыльями по бокам, этот монстр имел в себе кровь дракона.
Пусть, крыльями он пользоваться и не мог, а если бы и мог, то с этими обрубками, вряд ли куда-то удалось бы взлететь, но в остальном, это был грозный скакун, который не боялся демонов, и сам мог наводить ужас на простых лошадей, оказавшихся рядом с ним.
Позади всадника, стояли десять кавалеристов с разным оружием, которое было довольно странно видеть у рыцарей.
У самого крупного из них, в руках были две гигантские орочьи булавы, жаль только лицо этого гиганта, носившего такое странное оружие, было скрыто рогатым шлемом.
Другой носил двухметровый двуручный топор и почти все эти рыцари, также восседавшие на лошадях с кровью дракона, были экипированы самым разнообразным оружием.
Наконец, находившийся ближе всего к лидеру войск мужчина, который наверно был наименее выделяющимся из всей свиты, хотя и являлся чистокровным эльфом, решил стать голосом разума.
– Ваша Светлость, ещё есть возможность отступить. Они не настолько глупы и не станут нападать сами, если поймут, что мы готовы отвести войска – зазвучал приятный мужской голос эльфа.
Позади эльфа раздался громогласный хохот, от человека, который сидя верхом на гигантской лошади, держал, закинув на плечо двухметровый молот, схожий с тем, что носит Ронаддур.
– Ха-ха, длинноухие всегда были трусливы и предпочитали прятаться в лесах, выращивая травки – произнёс мужчина, что хоть и был закован в доспехи с ног до головы, но его габариты явно говорили о том, что он из расы дворфов.
Правда, прежде, чем карлик успел договорить у его шеи оказались два острых серебряных клинка, остановившиеся в сантиметре от него.
– Думай, что говоришь – пригрозил эльф, стоя на лошади дворфа, словно это не ездовое животное, а целая площадка, где он мог вот так запросто расположиться.
Сама лошадь даже не заметила, что на её спине уже два человека, так как вся броня ней, весила не меньше пятисот килограммов и лишний вес эльфа, практически не ощущался ею.
– Вы двое, прекратите! – раздался голос герцога, искажённый шлемом, закрывавшим его лицо.
Эльф прыгнул назад на свою лошадь, в полёте убирая мечи в ножны.
– Вперёд! – приказал человек, возглавлявший это войско и в одно мгновение, вся армия двинулась, следуя за своим лидером.
С другой стороны заснеженного поля, послышались боевые рожки и даже с расстояния почти в километр, можно было заметить суету в войсках противника.
За армией в сорок тысяч солдат находились палатки дворян, в центре которых стояла самая большая, где собрались все аристократы, выступившие против герцога.
Внутрь этой штабной палатки вбежал рыцарь и, преклонив колено, начал докладывать.
– Они пошли в атаку – сообщил рыцарь.
Дворяне загудели, потому что надеялись, что их численный перевес, вразумит врага и он отступит, дав им возможность, переждать зиму и подготовиться к следующей весне, когда их перевес будет минимум в десять раз больше.
Эти аристократы, не были дураками и хорошо знали своего врага, потому что уже проиграли ему один раз. Теперь, вновь собрав войска, они желали припугнуть его, выигрывая для себя время и, хотя их превосходство прямо сейчас было бесспорным, но и потери будут немалыми.
– Довольно разговоров! – рявкнул самый крупный мужчина, находившийся в палатке.
Одетый в яркие аристократические одежды, граф Леман, был одним из лидеров этой группы дворян.
– Прикажите войскам готовиться к бою – распорядился он.
Даже при том, что все войска тут, были под командованием разных аристократов, но прямо сейчас, никто не собирался спорить, ведь враг уже на подходе, а все ставки давно сделаны.
Рыцарь, получивший приказ, вскочил с колена и гремя доспехами, побежал наружу, попутно отдавая приказы солдатам.
Услышав воодушевляющий голос командира, рыцари взбодрились и тоже побежали к своим отрядам, которыми будут командовать, надеясь показать себя в бою.
Это был их шанс, получить титул, так как, разбив войска герцога, они смогут пойти в контратаку и захватить множество земель, где обязательно найдётся небольшое баронство, которое они получат от своих господ.
Вскоре две армии, шли навстречу друг другу и вот-вот должны были столкнуться в ожесточённом сражении.
Герцог вместе с десятью кавалеристами, неотступно следовавшими за ним, пустил коня во весь опор и первым врезался в плотные ряды солдат.
Гигантская лошадь неслась, не замедляясь, на полном ходу сбивая людей и затаптывая их огромными копытами.
Казало, что это чудовище никто не сможет остановить, однако герцог не был настолько наивен и, повернув лошадь влево, преследуемый своей свитой, которая также мчалась сквозь вражеские ряды, попутно рубя врагов, направился обратно к своим войскам.
Это был просто манёвр, чтобы запугать солдат противника и подавить их боевой дух.
Конечно же, это сработало. Солдаты, являвшиеся максимум бронзовым уровнем, никак не могли справиться даже с лошадью, не говоря уже о всадниках, которые своими разнообразными габаритами и бронёй на них, вселяли ужас в сердца врагов, почище любых демонов.


























