Текст книги "Пулеметы России. Шквальный огонь"
Автор книги: Семен Федосеев
Жанры:
Энциклопедии
,сообщить о нарушении
Текущая страница: 28 (всего у книги 36 страниц)
КРУПНОКАЛИБЕРНЫЕ ПУЛЕМЕТЫ
Крупнокалиберные пулеметы ДШК и ДШКМ
Поскольку различия «12,7-мм станкового пулемета обр. 1938 г. ДШК» и модернизированного пулемета обр. 1938/46 г. ДШКМ заключаются в основном в устройстве механизма подачи, рассмотрим эти пулеметы вместе.
Пулемет состоит из следующих основных частей и механизмов: ствол с газовой камерой и дульным тормозом; ствольная коробка; затвор; затворная рама с трубкой и возвратно-боевой пружиной; спусковой механизм; механизм подачи; затыльник с ручками управления; прицельные приспособления.
Автоматика пулемета имеет газовый двигатель и действует за счет отвода пороховых газов через поперечное отверстие в стенке ствола. Газовая камера закрытого типа укреплена снизу ствола и снабжена патрубковым регулятором с тремя отверстиями диаметром 3, 4 и 5 мм. Отверстия, совмещаемые с отверстием газовой камеры, регулируют количество пороховых газов, отводимых на газовый поршень. По всей длине ствола выполнено поперечное оребрение для лучшего охлаждения. Ствол ДШК снабжался «парашютообразным» днокамерным дульным тормозом активного типа, впоследствии замененным на плоский также активного типа (такой дульный тормоз использовался и на ДШК, для ДШКМ стал основным). Запирание канала ствола производится при разведении в стороны боевых упоров затвора.

12,7-мм пулемет ДШК – один из самых – распространенных крупнокалиберных пулеметов. Этот ДШК на универсальном станке, с ракурсным зенитным прицелом – из экспозиции израильского музея
Ведущим звеном автоматики является затворная рама. Спереди в затворную раму ввинчен шток газового поршня, в задней ее части на стойке крепится ударник (курок). При подходе затвора к казенной части ствола затвор останавливается, а затворная рама продолжает движение вперед, жестко связанный с ней ударник своей утолщенной частью продвигается вперед относительно затвора и разводит боевые упоры затвора, которые входят в соответствующие выемы ствольной коробки. При выстреле после прохода пулей газоотводного отверстия пороховые газы через установленное отверстие в газовом регуляторе попадают в рабочую полость газовой камеры и, воздействуя на поршень, отбрасывают назад поршень со штоком и затворной рамой. Затворная рама некоторое время движется назад, выбирая свободный ход. Сведение боевых упоров и отпирание затвора производится скосами фигурного гнезда затворной рамы. После этого затвор начинает совместное с затворной рамой движение назад. Извлечение стреляной гильзы обеспечивает выбрасыватель затвора, удаление гильзы из оружия происходит вниз, через окно затворной рамы, с помощью подпружиненного стержневого отражателя, смонтированного вверху затвора. В затыльнике расположены два пружинных амортизатора, смягчающих удар затворной рамы и затвора в крайней задней точке. Кроме того, амортизаторы придают подвижной системе начальную скорость возвратного движения (наката), повышая тем самым темп стрельбы. Рукоятка перезаряжания, размещенная справа внизу, жестко связана с затворной рамой. Для более удобного действия в рукоятку можно вставить патрон шляпкой гильзы.

Детали и сборки пулемета ДШКМ: 1 – ударник, 2 – боек, 3 – затвор, 4 – боевые упоры, 5 – затворная рама, 6 – направляющая трубка, 7 – возвратно-боевая пружина, 8 – поршень, 9 – дульный тормоз, 10 – мушка с основанием, 11 – газовая камера, 12 – ствол, 13 – ствольная коробка, 14 – клин, 15 – ось, 16 – прицел, 17 – ось рычага подачи с кулачком, 18 – основание приемника, 19 – крышка приемника, 20 – передающий рычаг, 21 – защелка, 22 – ось, 23 – рычаг привода подачи, 24 – затыльник ствольной коробки, 25 – буфер, 26 – гнеток предохранителя, 27 – предохранитель, 28 – передаточный рычаг, 29 – шептало, 30 – корпус спускового механизма, 31 – рукоятка перезаряжания
Спусковой механизм собран в отдельном корпусе, допускает ведение только автоматического огня и состоит из корпуса, шептала с пружиной, передаточного рычага с осью и спускового рычага с двумя крючками. Он приводится в действие спусковым рычагом, шарнирно закрепленным на затыльнике между вертикальными деревянными рукоятками управления. Спица рычага воздействует на передаточный рычаг, который опускает подпружиненное шептало, удерживающее затворную раму. Спусковой механизм снабжен флажковым неавтоматическим предохранителем, блокирующим спусковой рычаг (переднее положение флажка) и предотвращающим опускание шептала.
Ударный механизм работает от возвратно-боевой пружины надетой на шток газового поршня и закрытой трубчатым кожухом.
После запирания канала ствола затворная рама продолжает еще двигаться вперед, в крайнем переднем положении ударяет по муфте, а ударник бьет по бойку, смонтированному в затворе. Последовательность операций разведения боевых упоров и удара по бойку исключает возможность случайного выстрела при неполном запирании канала ствола. Для предотвращения отскока затворной рамы после удара в крайнем переднем положении (а на ДШК первых серий длина отскока достигала 14 мм) в ней смонтирована «задержка», включающая две пружины, гнеток и ролик. После запирания канала ствола ролик входит в гнездо ствольной коробки и стопорит раму.
Питание патронами – из рассыпной металлической звеньевой ленты, составленной из незамкнутых звеньев с шагом 23–24 мм и укладываемой в металлическую коробку, крепящуюся на кронштейне станка с левой стороны пулемета. Лотком подачи ленты служит козырек коробки. Барабанный приемник ДШК приводился в действие от рукоятки затворной рамы, – двигаясь назад, она натыкалась на вилку качающегося рычага-подавателя и поворачивала его. Собачка на другом конце рычага поворачивала на 60° барабан, который протягивал ленту. Одновременно в барабане находилось 4 патрона. Извлечение патрона из звена ленты – в боковом направлении. При вращении барабана патрон постепенно выдавливался из звена ленты и подавался в приемное окно ствольной коробки, где подхватывался движущимся вперед затвором.

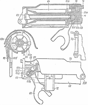
Приемник пулемета ДШК обр. 1938 г.: 63 – основание приемника, 64 – барабан, 65 – ось, 66–66 – рычаг, 67 – собачка рычага, 68 – защелка барабана, 69 – защелка основания приемника, 69е – отсекатель патронов, 70 – крышка приемника, 71 – защелка, 72 – поддержка ленты, 73 – болт, 74 – пружинная задержка патрона
В пулемете ДШКМ сверху ствольной коробки смонтирован приемник ползункового типа. Механизм подачи ДШКМ включает основные приемника со съемником звена ленты и снижателем патрона, крышку приемника с защелкой, ползун с пальцами подачи, рычаг привода с осью и передающий рычаг с осью и фиксатором. Ползун приводится в движение горизонтальным коленчатым рычагом, который поворачивается вертикальным качающимся рычагом с вилкой на конце. Последний также приводится в движение рукояткой затворной рамы. Перевернув коленчатый рычаг ползуна, можно изменить направление подачи ленты с левого на правое, что облегчило использование ДШКМ на комплексированных установках.
12,7-мм патрон имеет несколько вариантов – с бронебойной пулей обр. 1930 г. (Б-30), бронебойно-зажигательной обр. 1932 г. (Б-32), пристрелочно-зажигательной (ЗП), пристрелочной (П), трассирующей (Т), против зенитных целей применялась бронебойно-зажигательно-трассирующая обр. 1941 г. (БЗТ). Патроны с зажигательными пулями МД и МДЗ-3 использовались в основном в авиационных 12,7-мм пулеметах, с бронебойной БС-41 – в 12,7-мм однозарядных ПТР. Гильза не имеет выступающей закраины, что и позволило применить прямую подачу патрона. При стрельбе патронами с обычной бронебойной пулей Б-32, бронепробиваемость по нормали (т. е. под углом 90°) составляла 20 мм броневой стали со 100 м и 15 мм – с 500 м.

Схема работы механизма подачи пулемета ДШКМ обр. 1938/46 г.: 1 – рукоятка (шип) затворной рамы, 2 и 4 – большой и малый передающие рычаги, 3 – ось с кулачком, 5 – подающие пальцы, 6 – ползун
Для стрельбы по наземным целям применяется откидной рамочный прицел, смонтированный на основании сверху ствольной коробки. Прицел имеет червячные механизмы установки целика и введения боковых поправок, рамка снабжена делениями до 3500 м через 100 и наклонена влево для компенсации деривации пули. Штыревая мушка с предохранителем размещена на высоком основании в дульной части ствола. Длина прицельной линии – 1110 мм. При стрельбе по наземным целям диаметр рассеивания на дальности 100 м составлял 200 мм.

Пули патрона 12,7х108 слева направо: бронебойно-зажигательная, бронебойно-зажигательная трассирующая, зажигательная мгновенного действия, бронебойная

12,7-мм пулемет ДШК с новым дульным тормозом на станке Колесникова (без щита и двух передних ног)
ДШК в ходе эксплуатации использовался с тремя типами зенитных прицелов. Кольцевой дистанционный прицел обр. 1938 г. предназначался для стрельбы по самолетам, летящим со скоростью до 500 км/ч, на дальности до 2400 м, хотя кольца его переднего визира были рассчитаны на скорости цели 100, 200, 300 и 400 км/ч. Прицел обр. 1941 г. был несколько упрощен, дальность стрельбы уменьшена до 1800 м, но возможная скорость полета цели увеличена до 625 км/ч: кольца визира соответствовали скоростям 125, 250, 375 и 500 км/ч, а «воображаемое» кольцо – 625 км/ч. Зенитный прицел обр. 1943 г. относился к типу ракурсных, был проще в использовании и позволял вести огонь при любом курсе цели, включая пикирование или кабрирование. Прицел обр. 1943 г. был универсальным – с небольшими изменениями мог ставиться и на «Максим» на зенитной треноге.
Пулемет ДШКМ снабжается коллиматорным зенитным прицелом, облегчающим прицеливание по скоростной цели и позволяющим видеть прицельную марку и цель с одинаковой отчетливостью. ДШКМ, ставившийся на танки в качестве зенитного, снабжался коллиматорным прицелом К-10Т. Оптическая система прицела формировала на выходе изображение цели и спроецированную на нее прицельную сетку с кольцами для стрельбы с упреждением и делениями угломера. Цена большого деления угломера – 20 тысячных (0 – 20), малого деления – 10 тысячных (0 – 10).
В «пехотном» варианте пулемет ставился на универсальный станок Колесникова обр. 1938 г. Тело пулемета крепилось на люльке качающейся части станка. Люлька установлена на вертлюге и снабжена пружинным амортизатором, вертлюг установлен на столе станка. К столу крепилась ось колесного хода и три складные ноги с сошниками. На качающейся части имелась рукоятка перезаряжания, стержневой механизм вертикальной наводки, ось крепления прицела, кронштейн патронной коробки. Для удобства наводки предусмотрен съемный наплечник с регулируемыми плечевыми упорами. Стрельба по наземным целям велась с колесного хода (ноги сложены). При этом фигурная опора, смонтированная на средней ноге станка, используется в качестве сиденья или подлокотников. Упор на треноге позволил несколько уменьшить ее подбрасывание при стрельбе. Для зенитной стрельбы колесный ход отделяется и станок раскладывается в виде треноги. О преимуществах универсальных и специализированных установок спорили долго, но опыт показал все же, что чисто наземный станок дает крупнокалиберному пулемету большую подвижность, не ухудшая устойчивости, а специальная зенитная установка – большую устойчивость, удобство наводки и эффективность стрельбы, нежели универсальный станок. Отрабатывались и другие типы установок, включая «противотанковую» в виде своеобразного облегченного артиллерийского лафета на колесах с шинами, допускавшими буксировку. Но установки остались опытными.
Для решения задач ПВО, ставших для ДШК основными, к пулемету был разработан ряд комплексированных зенитных установок. Н.Ф. Токарев (создатель счетверенной ЗПУ «Максим») в 1940 г. разработал для пулеметов ДШК строенную установку ТКБ-149 с раздельными механизмами наведения по горизонтали и вертикали. Строенные 12,7-мм установки с сиденьями для двух номеров расчета, механизмами наведения и прицелом на специальном кронштейне использовались ограниченно. В 1944 г. в ЦКБ-14 Н.Ф. Токарев разработал строенную 56-У-542А с магазинным питанием, а в Отделе главного конструктора завода № 2 в Коврове И.С. Лещинский разработал счетверенную УЛ-12,7 на шасси ЗИС-5; в ОКБ-43 на основе ДШК создали спаренную установку 2-УК-АА на шасси ГАЗ-АА. Сложности в создании комплексированных установок были связаны, прежде всего, с системой питания – при существующей схеме она не позволяла без существенных переделок перейти на подачу ленты с другой стороны. Между тем уже велась работа по модернизации ДШК, и еще в ходе войны Лещинским была разработана счетверенная установка под выпускавшийся и под модернизированный ДШК.

Строенная зенитная установка пулеметов ДШК, смонтированная в кузове грузовика. Москва, площадь Свердлова, сентябрь 1941 г.
ДШК оказался в числе танковых пулеметов. В башне легкого танка Т-40 в установке ДТС в единой бронемаске монтировались пулеметы ДШК (прицельная дальность до 4000 м) и ДТ, а боекомплект ДШК помещался в кольцевой боеукладке, угол возвышения до 25° позволял вести огонь и по низколетящим самолетам. При установке ДШК в легком бронеавтомобиле БА-64Д патронную коробку разместили над пулеметом, а для стрельбы по воздушным целям ввели коллиматорный прицел К-8Т, для стрельбы по наземным целям использовали телескопический прицел ТМФП. В 1944 г. 12,7-мм турельная зенитная установка появилась на тяжелом танке ИС-2, в 1945 г. – на опытном среднем Т-44-100, а в 1946 г. – на серийном Т-54. Турельную установку ДШК для стрельбы по воздушным и наземным целям разработали для СУ-152, а потом ставили на тяжелые САУ серии ИСУ. В начале 1945 г. установку даже снабдили дистанционным управлением, дабы иметь возможность бороться с ПТ средствами противника, малоуязвимыми (особенно в городе) для пулемета нормального калибра.

Установка,12,7-мм пулемета ДШКМТ над люком заряжающего на танковой башне. Механический прицел продублирован коллиматорным (в коробке справа от пулемета)
На флоте зенитные ДШК использовались на одиночной и спаренной тумбовых, турельной, башенной установках. Тумбовую, стоечную и башенную (спаренную) установки под ДШК, принятые на вооружение РККФ, разработал упомянутый конструктор завода № 2 И.С. Лещинский. Тумбовая установка состояла из основания с выдвижной трубой, поворотной головки с креплением для пулемета, наплечника, приставного приклада-упора, допускала круговой обстрел с углами наведения по вертикали от -34° до +85°. Еще в 1939 г. другой ковровский конструктор А.И. Ивашутич разработал для ВМФ спаренную тумбовую установку для ведения огня по наземным, надводным и воздушным целям. Принятая позднее ДШКМ-2 давала круговой обстрел с вертикальным наведением от – 10° до +85°. В 1943 г. И.С. Лещинский разработал счетверенную морскую установку ДШК. Уже в 1945 г. приняли спаренную палубную установку 2М-1 с кольцевым прицелом. Башенная спаренная броневая установка снабжалась зенитным прицелом ШБ-1. Созданная в 1943 г. в ЦКБ-19 башенная спаренная установка ДШКМ-2Б имела толщину брони 10 мм и прицел ШБ-К, давала круговое наведение со скоростью 15 град./с и вертикальное от -10° до +82° со скоростью 25 град./с. Для катеров различных классов были созданы открытые спаренные турельные установи МТУ-2, МСТУ и 2-УК с углами наведения по вертикали от -10° до +85°. Так, например, на 1940 г. Наркомат Военно-морского флота заказал 131 пулемет ДШК на турельной установке МТУ-2 с ракурсным зенитным прицелом, 212 пулеметов на морской тумбовой установке с кольцевым зенитным прицелом, 10 строенных установок и 106 спаренных башенных 12,7-мм установок с прицелом ШБ-1. На тот же год НКВД для своих боевых кораблей заказал 110 ДШК на морских тумбовых установках и 20 строенных установок (забывчивым напомним – в ведение НКВД входила отнюдь не только «охрана лагерей», но, например, защита границ нашего государства). У катерников ДШК пользовались особенной любовью. Выдвижная шахтная установка П-2К для подводных лодок осталась опытной. Сами «морские» пулеметы имели некоторые отличия от базового. Так, турельный вариант пулемета не имел рамочного прицела (использовался только кольцевой прицел с флюгер-мушкой), была удлинена рукоятка затворной рамы, изменен зацеп для патронной коробки. Пулеметы для спаренных установок отличались конструкцией затыльника со спусковым рычагом и рукояткой рамы, отсутствием рамочного и зенитного прицелов, централизованным управлением огнем.
ДШК с отдельными станком и щитом мог сбрасываться десантам или партизанам – для этого использовался парашютно-десантный мешок УПД-ММ.
Потери крупнокалиберных пулеметов за всю войн составили около 10 000 штук, т. е. 21 % от всего ресурса, наибольшими они были в 1942 г. Из всей системы стрелкового вооружения это был наименьший процент потерь, но он сопоставим с потерями зенитной артиллерии. Это уже говорит о месте и роли крупнокалиберных пулеметов.
После модернизации 1946 г. пулемет продолжил свою службу. Не ушел он с нее и после принятия на вооружение более легкого и маневренного пулемета НСВ-12,7 – примеры тому широкое применение ДШКМ в Афганистане. Уже около двух десятилетий ДШКМ в станковом и танковом вариантах воюют и на пространстве бывшего СССР.
ДШКМ состоит на вооружении более чем 40 армий мира. Кроме СССР, он производился в Чехословакии (DSK vz.54), Румынии, Китае («Тип 54» и модернизированный «Тип 59»), Пакистане (китайский вариант), Иране, Ираке, Таиланде. Впрочем, и китайцев громоздкость ДШКМ стесняла, и для его частичной замены они создали пулеметы «Тип 77» и «Тип 85» под тот же патрон. В Чехословакии на основе ДШКМ выпускалась счетверенная зенитная установка М53, также поставлявшаяся на экспорт – например, на Кубу.

12,7-мм пулемет Тип 59 – китайская копия ДШКМ – в положении для зенитной стрельбы
ДШКМ советского, а чаще китайского производства воевали в Афганистане и на стороне душманов. Генерал-майор А.А. Ляховский вспоминал, что душманами «в качестве средств ПВО применялись крупнокалиберные пулеметы, зенитные горные установки (ЗГУ), зенитные пушки малого калибра «Эрликон», а с 1981 г. – переносные зенитные ракетные комплексы и ДШК китайского производства». 12,7-мм пулеметы оказались опасными противниками советских Ми-8 и Су-25, применялись и для обстрела автоколонн и блокпостов с большого расстояния. В докладе Начальника ГУБП Сухопутных войск от 22 сентября 1984 г. среди захваченного у мятежников оружия указывалось: ДШК за май – сентябрь 1983 г. – 98, за май – сентябрь 1984 г. – 146. Войска афганского правительства с 1 января по 15 июня 1987 г., например, уничтожили 4 ЗГУ, 56 ДШК мятежников, захватили 10 ЗГУ, 39 ДШК, 33 других пулемета, потеряв 14 собственных ЗГУ, 4 ДШК, 15 других пулеметов. Советские войска за тот же период уничтожили 438 ДШК и ЗГУ, захватили 142 ДШК и ЗГУ, 3 миллиона 800 тысяч единиц боеприпасов к ним; подразделения специального назначения уничтожили 23 ДШК и 74 300 единиц боеприпасов к ним, захватили – соответственно 28 и 295 807 единиц.

Самодельная установка пулемета ДШКМ на пикапе «Мицубиси». Кот д'Ивуар. Африка
Несмотря на неоднократные попытки заменить их, советский ДШКМ и американский М2НВ «Браунинг» уже полстолетия делят между собой первенство в семье крупнокалиберных пулеметов (вообще-то немногочисленной) и наиболее широко распространились в мире – в ряде стран они используются совместно. При этом ДШКМ, будучи крупнее и тяжелее М2НВ, заметно превосходит его по могуществу огня.
Порядок неполной разборки ДШКМ
Разъединить направляющую трубку со стволом, для чего оттянуть ее к дульной части и повернуть влево до выхода упора трубки из паза на стволе.
Извлечь чеку затыльника и, ударяя молотком, отделить затыльник вниз, придерживая его рукой.
Отделить спусковой механизм, сдвигая его назад.
За рукоятку перезаряжания отвести назад подвижную систему и извлечь их вместе с направляющей трубкой, поддерживая последнюю.
Отделить затвор с ударником от затворной рамы и боевые упоры от затвора.
Выбить ось выбрасывателя, штифты отражателя и бойка, затем отделить названные детали от затвора.
Выбить ось муфты рамы и отделить затворную раму от механизма возврата.
Поставить механизм возврата вертикально и, надавив на направляющую трубку, выбить переднюю ось муфты, затем плавно отпустить трубку и отделить ее и возвратно-боевую пружину от штока.
Расшплинтовать и отвернуть гайку оси приемника, вытолкнуть последнюю из гнезда ствольной короба и снять подающий механизм.
Расшплинтовать и отвернусь гайку клина ствола, вытолкнуть клин влево и отделить ствол от ствольной коробки.
Сборку производить в обратном порядке.
ТАКТИКО-ТЕХНИЧЕСКИЕ ХАРАКТЕРИСТИКИ ДШК (ОБР. 1938 Г.)
Патрон – 12,7×108 ДШК.
Масса втелай пулемета без ленты – 33,4 кг.
Масса пулемета с лентой на станке (без щита) – 148 кг.
Длина «тела» пулемета – 1626 мм.
Длина ствола – 1070 мм.
Масса ствола – 11,2 кг.
Число нарезов – 8.
Тип нарезов – правосторонние, прямоугольные.
Длина нарезной части ствола – 890 мм.
Масса подвижной системы – 3,9 кг.
Начальная скорость пули – 850–870 м/с.
Дульная энергия пули – 18 785 – 19 679 Дж.
Темп стрельбы – 550–600 выстр./мин.
Боевая скорострельность – 80 – 125 выстр./мин.
Длина прицельной линии – 1110 мм.
Прицельная дальность – 3500 м.
Эффективная дальность стрельбы – 1800–2000 м.
Зона обстрела по высоте – 1800 м.
Толщина пробиваемой брони – 15–16 мм на дальности 500 м.
Система питания – металлическая лента на 50 патронов.
Масса коробки с лентой и патронами – 11,0 кг.
Тип станка – универсальный колесно-треножный.
Высота линии огня – 503/1400[10]10
Числитель – в положении для стрельбы по наземным целям, знаменатель – в положении для зенитной стрельбы.
[Закрыть] мм.
Углы наведения: по горизонтали – ±60 /360° град.
по вертикали – ±27/+85°, –10° град.
Расчет – 3–4 человека.
Время перехода из походного положения в боевое для зенитной стрельбы – 0,5 мин.
Крупнокалиберный пулемет НСВ-12,7
Пулемет НСВ-12,7 (индекс 6П11, шифр разработки «Утес»), разработанный Г.И. Никитиным (1905–1986), Ю.М. Соколовым (1929–1987) и В.И. Волковым (1921–2003), предназначен для борьбы с групповыми живыми целями, транспортными средствами, а также с низколетящими воздушными целями противника на дальностях до 2000 м, огневыми точками противника на дальности до 1500 м.
Пулемет состоит из следующих основных частей и механизмов: ствол с газовой камерой и пламегасителем; затворная рама с поршнем и затвором; возвратный механизм; подающий и спусковой механизмы; лоток; газовая трубка; рукоятка перезаряжания; прицельные приспособления.
Автоматика пулемета имеет газовый двигатель и действует за счет отвода части пороховых газов через поперечное отверстие в стенке ствола, с длинным ходом газового поршня. Газоотводное устройство расположено под стволом. Газовая камера снабжена регулятором, представляющим собой цилиндрический стержень с двумя поперечными отверстиями разного диаметра для прохода пороховых газов в канал патрубка и полость поршня. Регулятор имеет два фиксированных положения. На торце газовой камеры находится широкий прямоугольный вырез с двумя лунками для фиксации газового регулятора. Газовый поршень внутри полый и в переднем положении надевается на цилиндрический выступ (патрубок) газовой камеры, снабженный обтюрирующими выступами. Ствол пулемета – сменный, крепится в ствольной коробке с помощью клина-замыкателя. После 100 выстрелов ствол следует охладить или заменить, причем замена ствола производится без снятия пулемета со станка или установки. Правда, облегчение ствола пулемета, отсутствие радиатора (как ради облегчения, так и ради увеличения его технологичности) при весьма мощном патроне уменьшило его ресурс – заявленная живучесть в 10 000 выстрелов выдерживалась с трудом, в основном называется ресурс до 6000 выстрелов. На стволе впереди газовой камеры расположена рукоятка для переноски и смены ствола. Для поворота рукоятки в положение для переноски или в исходное положение следует нажать кнопку рукоятки. В казенной части ствол имеет поперечный вырез для клина ствола и выступ для исключения поворота ствола. Патронник в казенной части имеет скос для направления патрона при досылании. Ствольная коробка представляет собой сложное соединение (с помощью сварки и клепки) штампованных и механически обработанных деталей. В передней части ствольной коробки расположен вкладыш, имеющий: продольное цилиндрическое гнездо для ствола, гнездо для газового цилиндра с квадратным окном, продольное квадратное окно для прохода рамы, цапфы, ушки с отверстиями под ось крышки приемника, поперечное окно для клина ствола, выступ с отверстием под ось рукоятки клина ствола. Для направления движения затворной рамы и затвора в ствольной коробке имеются отдельные направляющие – соответственно внизу в узкой части коробки и вверху в широкой части. В специальном корпусе в ствольной коробке закреплен подпружиненный отражатель.

12,7-мм крупнокалиберный пулемет НСВ-С-12,7 на универсальной установке 6У6

Детали и сборки пулемета НСВ-12,7 («Утес»): 1 – ствол, 2 – мушка с основанием, 3 – пламегаситель, 4 – выбрасыватели с пружинами, 5 – газовая камера, 6 – газовый цилиндр, 7 – затвор, 8 – серьги затвора, 9 – затворная рама, 10 – поршень, 11 – толкатель гильзы, 12 – стержень, 13 – ручка клина, 14 – клин ствола, 15 – направляющая трубка, 16 – возвратно-боевая пружина, 17 – фиксатор гильзы, 18 – шайба, 19 – буферная пружина, 20 – корпус буфера, 21 – буфер, 22 – рукоятка перезаряжания, 23 – ствольная коробка, 24 – отражатель, 25 – корпус отражателя, 26 – качалка, 27 – основание приемника, 28, 29 и 30 – рычаги спускового механизма, 31 – корпус спускового механизма, 32 – чека, 33 – задержка рамы, 34 – шептало, 35 – предохранитель, 36 – фиксатор патрона, 37 – передний прижим звена ленты, 38 – крышка приемного окна, 39 – защелка, 40 – фиксирующие пальцы, 41 – крышка, 42 – крышка приемника, 43 – подающие пальцы, 44 – ползун подачи, 45 – рычаг привода подачи, 46 – рычаг механизма подачи, 47 – ручка ствола
Запирание канала ствола осуществляется клиновым затвором, т. е. перекосом всего затвора влево. Затвор представляет собой сложное призматическое тело. Спереди затвора находится зеркало с отверстием под выход бойка, с жесткими захватами для направления и фиксации фланца (шляпки) гильзы и по два гнезда под выбрасыватели и фиксаторы с пружинами. Сверху и снизу затвора находятся по два боевых выступа, взаимодействующих с боевыми упорами ствольной коробки. Левый верхний боевой выступ играет также роль досылателя патрона. Сзади затвора находится горизонтальная прорезь для размещения серег и два вертикальных отверстия под оси серег. В переднем положении затвор, соединенный серьгами с ведущим элементом (затворной рамой), смещается влево, его боевые выступы заходят за выступы ствольной коробки. Ведущим звеном автоматики служит затворная рама, с которой шарнирно соединен шток газового поршня. Затворная рама представляет собой призматический стержень с вырезом и поперечным отверстием впереди для соединения с поршнем и фигурным Г-образным выступом (сапожком) сзади, с выступами для соединения с серьгами затвора и тремя роликами для движениярамы по направляющим коробки – наличие роликов делает работу автоматики плавнее и надежнее. Возвратно-боевая пружина размещена в канале затворной рамы. В задней части возвратного механизма установлена буферная пружина, смягчающая удар затворной рамы при движении ее назад. Рукоятка перезаряжания расположена справа и во время стрельбы остается неподвижной.
Выстрел производится с заднего шептала. Спусковой механизм расположен в отдельном корпусе с прицельной колодкой сверху задней части ствольной коробки и включает шептало, ось и пружину шептала, задержку затворной рамы, предохранитель с пружиной, рычаг шептала, две оси, два ролика шептала с осями, рычаг толкателя с роликом и осью спусковой рычаг с осью. Спусковой механизм допускает ведение только автоматического огня и приводится в действие толкателем, расположенным на задней стенке ствольной коробки и, в свою очередь, связанным с электроспуском или механическим спуском установки пулемета. Флажковый неавтоматический предохранитель блокирует шептало, удерживающее затворную раму за боевой взвод.
Питание НСВ – из металлической звеньевой ленты, собираемой из отрезков по 10 звеньев, с правой или с левой подачей. Механизмом подачи ползункового типа приводится в движение специальным скосом затворной рамы и состоит из: основания приемника (лотка), на котором закреплены съемник звена ленты, фиксирующие пальцы, фиксатор; крышки приемника с ползуном подачи, рычагами, защитными крышками; защелки крышки; пространственного рычага (качалки) с роликом для передачи движения от затворной рамы к передаточному механизму ползуна подачи.
Чтобы зарядить пулемет, необходимо: открыть крышку приемника и положить ленту с патронами на лоток так, чтобы первый патрон зашел за фиксирующие пальцы, закрыть крышку приемника, повернуть флажок предохранителя вперед, в положение «огонь» и за рукоятку перезаряжания отвести подвижные части назад до постановки рамы на боевой взвод, вернуть рукоятку перезаряжания в исходное положение.
При нажатии на спусковой рычаг или кнопку электроспуска толкатель через рычаги толкателя и шептала выводит шептало из зацепления с боевым взводом затворной рамы. Затворная рама под действием возвратно-боевой пружины идет вперед и через серьги затвора увлекает с собой затвор. Затвор при этом удерживается от поперечного смещения левым ребром горизонтальной направляющей затворной рамы. Затвор своим левым верхним боевым выступом выталкивает патрон из ленты (патрон уже вдвинут из ленты съемником звена) и досылает его в патронник, а затворная рама, взаимодействуя своим наклонным выступом и профильным скосом с нижним рычагом качалки, передает движение механизму подачи. Ползун механизма подачи со своими пальцами перемещается вправо, совершая холостой ход. Его пальцы проходят под звеном ленты, а затем вновь опускаются и заходят за очередное звено ленты.
При подходе в переднее положение затвор своими выступами набегает на профильные поверхности вкладыша ствольной коробки и начинает смещаться влево. Затворная рама, продолжая движение вперед, с помощью поворачивающихся серег окончательно смещает затвор влево. При этом боевые выступы затвора заходят за боевые упоры вкладыша ствольной коробки. В этот момент верхний и нижний выбрасыватели заскакивают за фланец гильзы. По окончании запирания канала ствола левая шарнирная серьга, связывающая затвор с затворной рамой, окончательно поворачивается и бьет по ударнику. Последний продвигается вперед и накалывает капсюль. Происходит выстрел.
После прохода пулей газоотводного отверстия часть пороховых газов через отводной канал, газовый регулятор и патрубок поступают в полость газового поршня, где они расширяются и вызывают движение поршня, а с ним и затворной рамы, назад. Затворная рама при движении назад разворачивает серьги, которые перемещают затвор вправо и вводят его из зацепления с боевыми упорами вкладыша коробки – происходит отпирание. В момент отпирания происходит небольшое предварительное смещение (сдвиг) стреляной гильзы в патроннике, что облегчает ее последующее извлечение без риска разрыва. Затвор, двигаясь назад вместе с затворной рамой, извлекает из патронника гильзу, а затворная рама, взаимодействуя своим наклонным выступом и профильным скосом с нижним рычагом качалки, поворачивает его. Качалка поворачивает рычаги механизма подачи. Ползун подачи при этом перемещается влево и своими пальцами продвигает патрон со звеном ленты до упора в съемник звена. Звено находит на съемник, а патроны опускаются в приемное окно. При этом фиксирующие пальцы удерживают ленту с патронами от обратного перемещения, а фиксатор ограничивает перемещение следующего патрона. При подходе затворной рамы к отражателю она воздействует на его заднее перо, при этом переднее перо разворачивающегося отражателя смещает гильзу вдоль зеркала затвора вправо. Гильза все еще удерживается в затворе фиксатором.




























