Текст книги "Под знаком кванта"
Автор книги: Леонид Пономарев
Жанр:
Физика
сообщить о нарушении
Текущая страница: 24 (всего у книги 31 страниц)
В 1936 г., за два года до открытия деления урана, Нильс Бор развивал «капельную модель ядра». Эта умозрительная попытка проникнуть в существо внутриядерных процессов требовала от автора известной научной смелости. В самом деле, к тому времени все уже успели убедиться, что ядро – это хоть и непонятное, но очень прочное нечто, а Бор предлагал его мыслить в виде жидкой капли, состоящей из

протонов и нейтронов. Основой его концепции было представление о составном ядре, которое возникает при захвате нейтрона, протона, а-частицы обычным ядром. При этом, утверждал Бор, новые частицы теряют свою индивидуальность, «растворяются» в ядре, а энергия, которую они с собой принесли, распределяется между всеми нуклонами ядра. Ядро возбуждается и, чтобы освободиться от избыточной энергии, может поступить по-разному: испустить у-квант, выбросить электрон и антинейтрино или же а-частицу. Развивая эти представления, Бор смог связать воедино разрозненные факты из физики ядерных реакций и даже вывести формулу для энергии связи ядер, которая довольно хорошо совпала с опытом.
Узнав об открытии деления урана, Бор £разу же понял, что оно наиболее естественно объясняется в рамках капельной модели ядра. В самом деле, возбужденное ядро деформируется, иногда настолько сильно, что ему проще разделиться на две части, чтобы избавиться от энергии возбуждения, чем испустить несколько частиц. Совместно со своим учеником Джоном Арчибальдом Уилером (р. 1911 г.) Нильс Бор развил теорию деления ядер. (Ту же задачу независимо решил советский физик Яков Ильич Френкель (1894—1952).)
Сейчас о процессе деления урана известно очень много. Точно измерено сечение деления 2giU тепловыми нейтронами – оно оказалось довольно большим, 582 барн. Известно, что ядро урана делится не одним, а примерно 50 различными способами, причем вероятности их сильно различаются, но не превышают 8 % каждый. Например, барий, который впервые обнаружили Ган и Штрассман в осколках деления урана, образуется при следующих способах деления (их вероятности около 6 %):

Р г
1,7 с

Р г
25 с

Р г
18 мин

Р ?
3,7 ч

..Л.
33 дня59
140Р „ 140 ~
Ие wT-Cs
Р -ИОР -~ Р – 14°Т Р . 140хч.
66 с ” 12,8дая5,ь 40,2 ч
235П
92 U
236,,* о «
92 и —► 2 или 3 нейтрона
93 Q Р 93 v
38 7,Эмин39 10,3 ч
“Nb.

В одном из каналов деления образуется также 15?Ьа с периодом полураспада 3,7 ч, который впервые наблюдали Ирэн Кюри и Павле Савич. Любопытно, что ядро урана почти никогда не делится на две равные части: вероятность такого способа деления меньше 0,01 %. (Как правило, массы осколков распределены в отношении 3:2.) В осколках деления содержится свыше сотни различных радиоактивных изотопов, с разными химическими свойствами и периодами полураспада. Эти изотопы выделяют, сортируют и затем используют как «меченые атомы» в разнообразных исследованиях.
При делении ядра урана кроме осколков вылетают еще 2 или 3 нейтрона – в зависимости от способа деления. Если усреднить их число по всем способам деления, то на каждое деление приходится v/ = 2,42 нейтрона с энергией около 1,3 МэВ. И если бы это число Vf оказалось всего на 10 % меньше, то ядерный реактор на естественном уране был бы невозможен.

Меченые атомы
Уже в своей итоговой работе 1903 г. Резерфорд и Содди в явлении радиоактивности увидели не только объект, но и средство исследования: «...радиоактивность может быть использована для наблюдения за химическими превращениями, происходящими в веществе»,– писали они и сравнивали такой метод исследования со спектральным анализом.
Восемь лет спустя Резерфорд встретил в пивном баре Манчестера Дьёрдя Хевеши (1885—1966), молодого химика из Венгрии, проходившего у него стажировку, и предложил ему отделить радий D от свинца. Теперь-то ясно, что задача эта неразрешима химическими методами, поскольку радий D — это попросту радиоактивный изотоп свинца 210 РЬ. Но в то время лишь после безуспешных попыток решить ее Хевеши совместно с австрийским радиохимиком Фришем Адольфом Панетом (1887—1958) догадались обратить задачу, а именно: принимая факт неразделим ости свинца и радия D, использовать последний для изучения химических реакций свинца.
Этот метод, который впоследствии назвали «методом радиоактивных индикаторов» или «меченых атомов» (Нобелевская премия 1943 г.), оказался чрезвычайно эффективным при исследовании химических реакций и структуры вещества. Сейчас он используется повсеместно: в физике и биологии, в медицине и металлургии, в археологии и криминалистике.
Открытие искусственной радиоактивности позволило получить десятки новых радиоактивных изотопов, а из осколков деления урана в современных ядерных реакторах выделяют свыше сотни разнообразных радиоизотопов. С их помощью человек узнал удивительные факты даже о себе самом: объем крови, циркулирующей по всему телу, механизм функционирования внутренних органов, скорость миграции веществ в организме и многое другое. Например, если выпить глоток соленой воды, в которую добавлен радиоактивный изотоп натрия 24Na, то уже через 2 минуты с помощью счетчика Гейгера – Мюллера его можно обнаружить в пальце руки, через час он распределится по всему телу, а еще спустя 3 часа начнет выводиться из организма. Оказалось, что полный круг кровообращения занимает всего 23 секунды, что атомы человеческого тела непрерывно заменяются новыми, поступающими в организм с пищей, и что весь цикл такой замены атомов занимает около года, то есть каждый год человек почти полностью обновляется, сохраняя при этом свою индивидуальность и целостность.
Теперь, почти столетие спустя после открытия радиоактивности, кажется странным, почему ее не замечали раньше: ведь она повсюду вокруг и даже внутри нас самих. В теле человека каждую секунду происходит свыше 20 000 распадов калия-40, около 300 распадов углерода-14 и 4 распада радия-226, с таким трудом открытого Марией и Пьером Кюри. Впрочем, в истории науки таких фактов множество:
радиоволны пронизывают все пространство вокруг нас, но об этом даже не подозревали до работ Генриха Герца, и лишь после Луи Пастера узнали, что в каждом кубическом сантиметре вдыхаемого нами воздуха содержатся миллионы разнообразных бактерий.
Радиоуглеродный метод датировкиВ пространствах Вселенной каждую секунду происходят космические катастрофы: вспыхивают новые и взрываются старые звезды, выбрасывая в межзвездные пространства ядра водорода, гелия и других элементов. В галактических магнитных полях эти ядра разгоняются до громадных энергий – в сотни и тысячи раз больших, чем достигнутые сегодня на ускорителях. Эти космические лучи, как их назвал Роберт Милликен, встретив на своем пути Землю, пронизывают атмосферу и, сталкиваясь с ядрами ее атомов, вызывают разнообразные ядерные реакции: разбивают ядра на осколки, выбивают из них вторичные протоны и нейтроны. Эти вторичные частицы вступают в новые ядерные реакции, одна из которых в 1946 г. привлекла особое внимание американского физика Уилларда Фрэнка Либби (1908—1980).
Он заметил, что выбитые нейтроны, сталкиваясь с ядрами атомов азота, из которого на 79 % состоит атмосфера Земли, могут выбить из них протон и превратить их в ядра углерода:
n + l4N–> 14С + р.
В отличие от обычного изотопа углерода 12С, редкий изотоп 14С радиоактивен: он распадается по схеме
14С –>– 14N + e + ve
с периодом полураспада 71/2 = 5730 лет. Каждую секунду на площадку в 1 м2 падает примерно 4000 космических протонов, которые после каскада ядерных превращений приводят к образованию примерно 2 ядер 14С в каждом кубическом сантиметре верхних слоев атмосферы. Эти изотопы углерода вскоре соединяются с кислородом и в виде углекислого газа усваиваются растениями, а затем животными и человеком. В результате такого круговорота в органическом веществе всех растений и животных устанавливается равновесная концентрация изотопа 14С, который можно обнаружить с помощью обычного счетчика Гейгера – Мюллера. Оказалось, что в 1 г углерода органического происхождения – будь то древесина, трава, кости животного или бактерии —
278 содержится примерно 70 млрд, атомов углерода 14С, причем каждую минуту 15 из них распадаются.Однако это заключение справедливо лишь для живой материи: как только растение, животное или человек умирает, прекращается обмен веществ, составляющий суть жизни, а вместе с этим в останках нарушается и равновесная концентрация атомов l4C. С момента гибели живого организма число атомов 14С в нем непрерывно уменьшается по строго определенному закону: через 5730 лет их станет вдвое меньше, еще через 5730 лет – вчетверо меньше и т. д. А это означает, что 1 г углерода только что срубленного дерева через 5730 лет будет излучать вместо 15 импульсов в минуту только 8, а еще 5730 лет спустя – 4 импульса в минуту и т. д.
Теперь ясно, как определить возраст любой археологической находки – будь то угли первобытного костра, мумия из египетской пирамиды или обломки корабля аргонавтов. Для этого достаточно сосчитать число распадов, которые зарегистрирует счетчик Гейгера – Мюллера за 1 мин в 1 г углерода, взятого из исследуемого образца (для удобства его обычно сжигают и исследуют на радиоактивность образовавшийся углекислый газ).
Идея этого метода определения времени довольно древняя: по этому принципу, например, устроены песочные и водяные часы, но поистине удивительно, как в радиоуглеродном методе датировки причудливо переплелись новейшие достижения ядерной физики и седая древность, лучи из мировых глубин и филигранная работа живых клеток, усваивающих углерод в процессе фотосинтеза.
В 1960 г. физик Либби за это открытие удостоен Нобелевской премии по химии, хотя значение его выходит далеко за рамки обеих наук.
ГЛАВА 16
| Мергатсегер | |
Титан Прометей – внук Урана, сын Фемиды и брат Атланта больше других помог Зевсу в его битве с Кроносом: именно он склонил великую богиню Гею стать на сторону Зевса и посоветовал ему низвергнуть побежденных титанов в мрачный Тартар. После победы Зевс решил уничтожить прежний род людской и вместо него создать новый, лучший. Для начала он лишил людей огня в наказание за хитрость Прометея в их пользу при разделе жертвенного быка. В ответ Прометей похитил огонь из кузницы Гефеста и передал его людям, а также научил их искусствам и знаниям, земледелию и скотоводству, чтению и письму. Разгневанный громовержец приковал Прометея к скале над морем в далекой Скифии, куда каждый день в течение долгих лет прилетал орел клевать его печень. Кроме того, он повелел Гефесту создать из глины и воды Пандору – первую земную женщину нового поколения – и отдать ее в жены Эпиметею, брату Прометея. Афродита украсила Пандору прелестями, Гермес внушил ей хитрость, а Зевс подарил запечатанный сосуд с людскими бедами. Искушаемая любопытством, Пандора вскрыла сосуд, и все земные несчастья разлетелись по свету; на дне сосуда осталась лишь надежда, которая с тех пор заменяет людям счастье.
Эта древняя легенда не поблекла даже теперь, после многих лет неумеренного употребления ее фрагментов в бесчисленных повествованиях об открытии атомной энергии. Чаще всего вспоминают незадачливую Пандору с ее сосудом как прообраз атомной бомбы, часто – Прометея, добывшего атомный огонь ценой страданий и внутреннего разлада между долгом и нравственностью. И совсем редко упоминают конец легенды: Геракл убивает орла и разбивает цепи, Зевс прощает Прометея, а мудрый кентавр Хирон умирает вместо него, даруя Прометею свое бессмертие.
Борьба человека за атомный огонь даже для нас, современников начала атомной эры, уже покрыта легендами.
Драматическая история овладения атомной энергией неотделима от трагических поворотов судьбы всего человечества во времена самой бесчеловечной из его войн. Каждая подробность этой истории важна и значительна, но, чтобы в должной мере оценить их смысл, надо вначале представить себе суть физических процессов, составляющих основу происходивших событий.
ЦЕПНАЯ РЕАКЦИЯПоздно вечером 21 декабря 1938 г. Отто Ган и Фриц Штрассман закончили статью, в которой вынуждены были признать, что при облучении урана медленными нейтронами возникают элементы барий, лантан и церий. В тот вечер Отто Ган вряд ли в полной мере предвидел все последствия своего открытия, хотя и чувствовал безошибочно их важность. Он позвонил своему другу Паулю Розбауду, издателю еженедельника «Naturwissenschaften», и попросил опубликовать их сообщение как можно быстрее. Розбауд вставил статью в готовый номер, и она была напечатана уже через две недели, 6 января 1939 г. Эта статья оказалась тем последним камнем, который увлекает за собой лавину: только в течение 1939 г. было опубликовано свыше ста работ по проблеме деления урана. (Шесть лет спустя эта работа Гана будет отмечена Нобелевской премией 1944 г.; он узнает об этом в состоянии глубокой депрессии после сообщений о Хиросиме и Нагасаки, сидя под арестом в английском замке.)
В то время, когда Пауль Розбауд знакомился со статьей Гана и Штрассмана, Энрико Ферми поднимался по трапу парохода, чтобы навсегда покинуть фашистскую Италию. 2 января 1939 г. он сошел на берег в гавани Нью-Йорка: «Итальянский мореплаватель прибыл в Новый Свет» (четыре года спустя такими словами Артур Комптон сообщит руководству американского уранового проекта об успешном запуске первого атомного реактора под руководством Ферми). 7 января, на следующий день после выхода статьи Гана и Штрассмана, в Соединенные Штаты отплывал Нильс Бор. 16 января он сошел с корабля в Нью-Йоркском порту, еще не зная, что именно в этот день Отто Фриш отправил в редакцию «Nature» сразу две статьи: в одной из них «Разрушение урана нейтронами: новый тип ядерной реакции» (напечатана 18 февраля) Отто Фриш и Лизе Мейтнер объяснили суть открытия Гана и Штрассмана и впервые ввели термин «деление ядер», в другой Отто Фриш сообщал, что накануне
(13 января} он наблюдал осколки деления урана с помощью простейшей ионизационной камеры. (На многие годы в кругу друзей «деление» станет прозвищем Отто Фриша.)
Нильс Бор и Энрико Ферми встретились 26 января в Вашингтоне на конференции по теоретической физике, где Нильс Бор рассказал об открытиях последних недель. Реакция физиков была бурной и единодушной и очень напоминала реакцию самого Бора на рассказ Фриша: «Как мы могли не замечать этого так долго!» – сказал он тогда, хлопнув себя по лбу. В течение ближайших двух-трех дней открытие деления ядра было подтверждено по крайней мере в пяти лабораториях США, 26 января в этом убедился Жолио-Кюри в Париже (его заметка в Докладах Французской академии была напечатана уже 30 января), а к тому времени, когда вышла статья Фриша и Мейтнер, деление ядер уже наблюдали десятки исследователей в Копенгагене и Нью-Йорке, Вашингтоне и Париже, Ленинграде и Варшаве.
Выступая вслед за Бором, Энрико Ферми обратил внимание на то, что при делении ядер урана, кроме двух ядер-осколков, должно испускаться несколько нейтронов, которые в свою очередь могут вызвать последующие деления, то есть в уране возможна цепная реакция деления с выделением огромной энергии. Заключение Ферми было очень естественным (хотя в то время и не вполне очевидным: сами Фриш и Мейтнер, например, не заметили этого следствия своей гипотезы), однако противоречило наблюдаемым фактам: никто никогда не видел, чтобы кусок урана взрывался при облучении его нейтронами.
Размышляя над этим противоречием, Нильс Бор вспомнил, что четыре года назад Артур Демпстер с помощью своего


усовершенствованного масс-спектрометра обнаружил редкий изотоп урана 292U, причем оказалось, что природный уран на 99,28 % состоит из изотопа и лишь на 0,72 % – из изотопа 292U. Бор предположил, что медленными нейтронами делится уран-235, а быстрые нейтроны, которые при этом делении испускаются, сразу же поглощаются ядрами урана-238, поэтому нейтронная вспышка гаснет, как спичка, брошенная в поленницу сырых дров. Альфред Нир (р. 1911 г.) и Джон Даннинг (1907—1975) подтвердят эту гипотезу Бора только через год, 1 марта 1940 г., но поверили в нее сразу и во всех дальнейших исследованиях принимали ее во внимание.
Сразу же встало три новых вопроса: Сколько нейтронов и с какой энергией вылетает из ядра изотопа урана-235 при каждом делении? Что происходит с ядрами изотопа урана-238 после захвата нейтрона? При каких условиях возможно осуществить незатухающую цепную ядерную реакцию в уране?
Ответ на первый вопрос уже в середине марта получили сразу четыре группы исследователей: Фредерик Жолио-Кюри, Хальбан и Коварски во Франции, Флеров и Русинов в России, Ферми, Андерсон и Ханштейн, а также Сцилард и Зинн в США. Оказалось, что при каждом делении ядра урана-235 испускается примерно два-три вторичных нейтрона со средней энергией 1,3 МэВ. (Точное число нейтронов деления v=2,42, измеренное впоследствии, оставалось государственной тайной вплоть до 1950 г.)
При попытке ответить на второй вопрос вспомнили сразу одну из работ Мейтнер, Гана и Штрассмана. Еще в 1937 г., повторяя эксперименты группы Ферми, они заметили, что ядра урана особенно эффективно поглощают нейтроны с энергией 25 эВ (так тогда думали, в действительности – 6,8 эВ). Такое резонансное поглощение нейтронов всегда сопровождается 0-активностью с периодом полураспада 23 мин, в отличие от случая поглощения медленных «тепловых» нейтронов с энергией 0,04 эВ, когда наблюдается сложная смесь различных периодов полураспада. Теперь причина такого различия прояснилась: уран-235 наиболее эффективно делится медленными нейтронами (его сечение деления велико), и образующиеся в этом случае продукты деления имеют различные периоды полураспада. Напротив, при энергии нейтронов в несколько электрон-вольт сечение резонансного поглощения ураном-238 значительно превышает сечение деления урана-235, поэтому основным процессом является превращение урана-238 в нептуний-238 путем 0-распада.
| Таким образом, чтобы цепная реакция стала возможной, необходим замедлитель нейтронов, который дол | |
| жен, во-первых, уменьшить их энергию в 10 миллионов раз – от 1 МэВ, с которой они вылетают при делении ядра урана-235, до энергии 0,1 эВ – и, во-вторых, осуществить это так | |
| / | быстро, чтобы нейтроны успели замедлиться до того, как они столкнутся с ядром урана-238. Наконец, сам замедлитель не должен поглощать нейт |
| Я. Б. Зельдович | роны, то есть сечение захвата им нейтронов должно быть очень малым. |
| Наиболее эффективно замедляет нейтроны водород (это хорошо помнили после опытов Ферми 1934 г.), но, к несчастью, оказалось, что он сильно их поглощает: сечение реакции | |
d + Y,
в которой при столкновении нейтрона с протоном образуется тяжелый изотоп водорода дейтерий и испускается у-квант, равно о = 0,33 барн. Это значительно меньше, чем сечение резонансного захвата в уране-238, равное «10 000 барн, но все-таки слишком много.
Летом 1939 г. советские теоретики Яков Борисович Зельдович и Юлий Борисович Харитон проделали первый расчет кинетики цепной реакции деления в растворе урана с водой. Их выводы были неутешительными: такой гомогенный ядерный реактор будет работать только в том случае, если концентрацию изотопа урана-235 повысить до 2,5 % вместо тех 0,72 %, которые присутствуют в любом образце природного урана.
Так возникла первая большая проблема атомной энергетики: разделение изотопов урана. Вначале ее считали настолько неприступной, что в течение двух лет о ней практически не думали. В самом деле, казалось невероятным, что когда-нибудь удастся разделить химически совершенно идентичные атомы изотопов урана, массы ядер которых различаются всего на полтора процента. Но война меняет представления о границах возможного: уже в 1944 г. были построены и работали заводы по разделению изотопов урана – огромные четырехэтажные корпуса шириной в полкилометра и в километр длиной, потреблявшие энергию электростанции, равной по мощности Днепрогэсу. Технологические детали этого процесса до сих пор хранятся в секрете, но его идея – метод газовой диффузии – хорошо известна.

Если смесь двух газов пропустить сквозь пористую перегородку с отверстиями, которые чуть больше самих атомов, то за перегородкой легкого газа в смеси станет немного больше, чем до перегородки, и, повторяя этот процесс многократно, смесь газов можно в принципе разделить полностью. По удивительной прихоти природы среди примерно 200 соединений урана есть только одно газообразное – шестифтористый уран UF6 – ядовитый газ, который уже при 56° конденсируется в виде игольчатых кристаллов. Если этот газ пропустить через специальную пористую перегородку, то за ней урана-235 станет на 0,14 % больше, чем до нее, а поставив несколько тысяч таких перегородок, можно в конце концов отделить уран-235 от урана-238. Все это станет возможным, однако, только пять лет спустя, а летом 1939 г. ученые были озабочены другим: как осуществить незатухающую ядерную реакцию в природном уране?
Прежде всего, вместо воды следовало выбрать другой замедлитель. Выбор оказался небогатым: либо углерод (сечение захвата им нейтронов о = 0,0034 барн), либо тяжелая вода D2O, то есть вода, в которой водород замещен дейтерием (сечение захвата о = 0,0012 барн). Легко видеть, что тяжелая вода предпочтительнее. Однако ее очень трудно добывать: в литре обычной воды содержится всего 0,15 г тяжелой. К тому же в 1939 г. это умели делать только в одном месте в мире – в Норвегии, на небольшом заводе в Веморке. Из двух возможностей Жолио-Кюри и Гейзенберг независимо друг от друга выбрали тяжелую воду, в то время как Ферми, Сцилард и Курчатов решили попытать счастья с графитом.
. Условие, при котором цепная ядерная реакция возможна, принято записывать с помощью простой и знаменитой «формулы четырех сомножителей»:
^оо = т^ефО.
Коэффициент размножения – это число вторичных нейтронов, возникающих в реакторе бесконечных размеров на каждый первичный нейтрон деления. Ясно, что расходящаяся цепная реакция возможна лишь в том случае, если kOQ> 1, то есть в каждом последующем «поколении» нейтронов будет больше, чем в предыдущем.
Коэффициент ц – это число вторичных тепловых нейтронов в естественном уране, которое отличается от среднего числа нейтронов деления в чистом уране-235. Дело в том, что при захвате медленного нейтрона ядрами урана-235 они делятся только в 84 % случаев, а в остальных 16 % испускают у-квант и превращаются в ядра изотопа урана-236. Кроме того, даже тепловые нейтроны захватываются изотопом урана-238, хотя и много слабее, чем резонансные. Но в естественной смеси изотопов урана-238 в 149 раз больше, чем урана-235, поэтому для такой смеси коэффициент т) = 1,34 – много меньше исходного коэффициента размножения v = 2,42, хотя все еще и превышает единицу.
Коэффициент е учитывает то обстоятельство, что быстрые нейтроны деления, пока их энергия больше чем 1,5 МэВ, способны также делить и ядра урана-238, то есть реально увеличивают число вторичных нейтронов. Для уран-графитовых реакторов е=1,03.
Много хлопот доставил коэффициент ф – вероятность избежать резонансного захвата нейтронов в уране-238 в процессе их замедления. Если бы все нейтроны деления достигали тепловых энергий без потерь в уране-238, то коэффициент ф был бы равен единице. Как всякий идеал, значение ф=1 недостижимо, но можно пытаться к нему приблизиться. Способ увеличить коэффициент ф придумали почти сразу же, летом 1939 г.: во Франции, США и Германии независимо возникла идея гетерогенного реактора. Суть идеи проста и состоит в следующем: вместо того чтобы перемешивать равномерно уран и замедлитель, нужно разместить блоки урана в пространстве на некотором расстоянии друг от друга, наподобие атомов в кристаллической решетке, а затем уже заполнить этот объем замедлителем. В этом случае нейтроны деления, вылетая из блоков урана с энергией около 2 МэВ, большую часть пути будут проходить в замедлителе и к тому времени, когда они достигнут другого блока урана, уже минуют опасную резонансную область энергий. К тому же нейтроны деления, образовавшиеся в блоках урана с большой начальной энергией 2 МэВ, проходят его толщу, не успевая замедлиться до резонансных энергий, что еще более повышает эффективность такого гетерогенного реактора. (В работе Исая Исидоровича Гуревича и Исаака Яковлевича Померанчука, которая стала важным элементом советской урановой программы, это явление названо «блок-эффектом».) Должным образом подбирая расстояния между блоками урана, на этом пути достигли значения ф = 0,93 (для гомогенного реактора ф=0,65).
286
|
| И. Я. Померанчук |
нию с захватом в углероде, для которого озахв =0,0034 барн.) Таким образом, для уран-графитового гетерогенного реак
Коэффициент ft в «формуле четырех сомножителей» – это вероятность избежать захвата нейтрона в замедлителе и всевозможных примесях. Для чистого графита удалось повысить этот коэффициент до значения ft=0,84. Очень важно, чтобы графит был чистым: малейшая примесь, например, бора – всего 3—4 атома на миллион атомов углерода – делает его непригодным для замедлителя. (Сечение захвата нейтронов ядрами бора огромно: <тзахв = 755 барн, поэтому только при концентрации примеси примерно 10~6 захватом нейтронов в боре можно пренебречь по сравне-тора на естественном уране произведение четерех сомножителей
= necpft = 1,34 • 1,03 • 0,93 * 0,84 = 1,07,
то есть цепная ядерная реакция в бесконечно большом реакторе возможна.
В реальном реакторе конечных размеров часть нейтронов теряется, уходя из объема реактора наружу через его поверхность, поэтому действительный коэффициент размножения нейтронов k меньше и
& = р,
где коэффициент р зависит от размеров и формы реактора, но


всегда меньше единицы. Очевидно, существуют какие-то критические размеры реактора, при которых произведение k = kco р=1. Оставалось выяснить, насколько велики эти размеры.
В декабре 1940 г. Ганс Халбан и Лео Коварски в Англии, куда они после оккупации Франции эмигрировали со всем запасом урана и тяжелой воды, установили, что для осуществления незатухающей ядерной реакции достаточно взять около 5 т тяжелой воды и разместить в ней должным образом примерно столько же тонн урана. К аналогичному выводу пришел и Гейзенберг в Германии. Однако такого количества тяжелой воды не было тогда во всем мире, и трудно было ожидать, что она появится в ближайшее время. Поэтому Ферми пытался определить критические размеры уран-гр афитового реактора и в течение последующих двух лет достиг цели.
Итак, ядерный реактор построить можно. Но можно ли им управлять? Не взорвется ли он, как только значение коэффициента размножения нейтронов k превысит единицу? Оказалось, что природа и здесь пошла навстречу человеку.
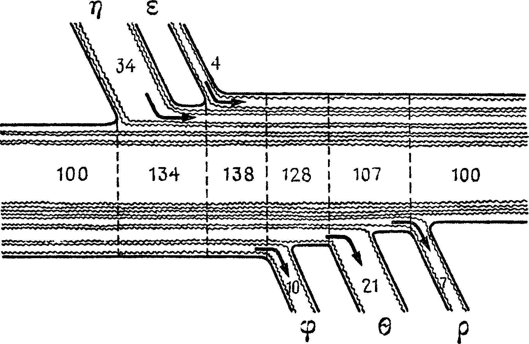
В лавине работ, которые появились сразу вслед за открытием деления урана, была одна, которую вначале не оценили должным образом. В марте 1939 г. Робертс, Мейер и Вонг из Колумбийского университета обнаружили, что примерно 1 % нейтронов вылетает при делении урана не вместе с осколками, а чуть позже – через 0,2, 0,9 и даже через 56 с. Физика этого явления вскоре стала понятной: запаздывающие нейтроны, в отличие от мгновенных, вылетают не из ядра урана, а из его осколков.
Осколки эти – свыше сотни изотопов около сорока различных элементов из середины таблицы Менделеева – отягощены избытком нейтронов и стремятся от них избавиться. Большая часть изотопов освобождается от нейтронов путем Р-распада, то есть превращая их в протоны,– точно так же, как это происходило в опытах Ферми по поглощению нейтронов ядрами. Однако небольшая часть образовавшихся изотопов, после некоторых колебаний, выбрасывает лишний нейтрон целиком, не расщепляя его на протон и электрон. Именно эти запаздывающие нейтроны, которые составляют всего 0,64 % от общего их числа, позволяют управлять работой ядерного реактора. В самом деле, если по какой-то причине число нейтронов в реакторе внезапно увеличится, то благодаря запаздывающим нейтронам они станут размножаться лавинообразно не сразу, а только через несколько 288
секунд. Этого времени вполне достаточно, чтобы погасить «атомный огонь» вручную, без всякой автоматики, погружая в толщу реактора стержни из бора или кадмия (сечения захвата нейтронов для них огромны: для кадмия, например, 0захв = 245О барн).









![Обложка: Честь Воина [CИ]](/files/books/110/no-cover.jpg)