Текст книги "Сытые годы (СИ)"
Автор книги: Влад Тарханов
Жанры:
Альтернативная история
,сообщить о нарушении
Текущая страница: 1 (всего у книги 16 страниц)
Сандро из Тифлиса-2. Сытые годы
Вступление
Мыс Святой Нос. Маяк (район Губы Лопское становище).
16 декабря 1889 года.
Михаил Михайлов, смотритель маяка (он же бывший ЕИВ Михаил Николаевич Романов)
Никогда не думал, что заключение может быть столь утомительным. Вот уже почти месяц ничего не писал. Здоровье моё стало хуже. Английский врач при осмотрах кривит губы, качает головой и сочувственно вздыхает и выкладывает передо мной очередную горсть пилюль.
Но чувствую, что он доволен: судя по всему, его ссылка вместе со мной скоро закончится. Надежда? Есть ли у меня надежда. Есть. Но очень слабенькая. Я просто не знаю, сможет ли Сандро до меня добраться. И вообще, я отрезан от информации и не знаю, что происходит в стране. Поэтому и не делаю никаких прогнозов. Взял привычку каждый день взбираться на маяк и смотреть на море. Тут такие ветра! Одеваюсь плотнее, кто-то из солдатиков меня сопровождает. Их командир пьет, а солдатушкам винная порция постоянно урезается. А тут иначе не согреться. Позавчера наш сержант шёл договариваться с англичанами о поставке дров или угля. Припасенный запас тает на глазах. Охоты тут никакой нет. А вот рыбку наши ребята умудрились ловить – берут за плату малую у местных лодку, так что на столе к казенным харчам есть небольшой приварок. Кстати, с аглицкими матросиками бартер замутили умудряются на что-то там из продовольствия менять. Самое паршивое, что совсем закончился чеснок, а лука осталось чуть-чуть и все. Так и до цинги недалеко. Но командир моего конвоя, Волков, к которому я обращался по этому поводу, только зверски на меня наорал, мол, не тот у меня статус, чтобы что-то от него, гвардейского поручика, требовать! Но ведь первыми от цинги будут страдать именно его солдатики! Однако, Волкову на это насрать. Одним словом – преторианец!
Надо было всё-таки гвардейские части разогнать к чертовой бабушке! Да ладно, чего не сделано, то уже не сделано. И Бог мне судья… скоро разберемся.
Часть первая
Возвращение Михаила
И вдруг меня охватывает несказанная печаль, которую несёт в себе время; оно течёт и течёт, и меняется, а когда оглянешься, ничего от прежнего уже не осталось. Да, прощание всегда тяжело, но возвращение иной раз ещё тяжелее.
(Эрих Мария Ремарк)
Глава первая
Тяжкие думы
Санкт-Петербург, Новомихайловский дворец
19 декабря 1889 года
Будьте внимательны к своим мыслям, они —
начало поступков.
(Лао Цзы)
Его Императорское Величество, соправитель Российской империи Александр Михайлович (Сандро)
Сандро, он же академик Михаил Николаевич Коняев, попавший в великого князя, а ныне императора-соправителя Российской империи никак не мог сосредоточиться на отчете, который лежал перед ним на столе. Все мысли улетели далеко-далеко: в экспедицию, которая отправилась на поиски его «отца» – императора Михаила Николаевича, в которого подселился его товарищ и ученик, Александр Михайлович Конюхов. Почему-то подумалось о парадоксе: в популярной литературе про попаданцев частенько одним из условий перемещения было совпадение имен и даже фамилий. А тут получилось совсем наоборот: Михаил Николаевич попал в Александра Михайловича, а Александр Михайлович наоборот, в Михаила Николаевича. То ли автор перемещения ошибся, то ли у него весьма изощренное чувство юмора. И кто его, этого некто, организовавший подобный катаклизм разберёт?
Отправив на поиск Николая Степановича Полковникова, еще одного «попаданца», с которым познакомился, когда решился принять участие в проекте «Вектор», Академик всё равно чувствовал какую-то неуверенность, слишком уж события ЭТОЙ реальности стали отличаться от тех, которые он изучал, будучи профессиональным историком[1]1
Об этом повествуется в серии книг «Михайловичи».
[Закрыть].
Всё началось с того, что его перенос закончился настоящей катастрофой. В результате в прошлое попало несколько человек, среди которых оказался и его ученик, Конюхов. Их взаимное опознание было чем-то вроде знаменитой сцены свидания из «Семнадцати мгновений весны». Ударом обуха по голове. А тут еще оказалось, что в НОВОЙ реальности взрыв Халтурина привел к гибели большей половины семьи Романовых, в том числе почти всей ветви Александровичей. И Михаил Николаевич по решению Земского собора был выбран на царство. Прогрессорствовали понемногу. Кое-что удалось сделать. Империя окрепла. Расширила границы, в том числе за счет подконтрольных территорий. В страну приехало некоторое количество талантливых ученых и изобретателей. Далеко не все, из тех, кого хотели привлечь. Но и это стало большим успехом. А потом состоялся удачный заговор против Михаила, когда тот, по официальным данным, был убит заговорщиками-гвардейцами. К власти пытались привести старшего сына Михаила, Николая. Но тут встала на дыбы армия. В результате в стране появилось два соправителя: Николай и Сандро. То есть я, Коняев. А потом пришлось тихо брать власть в свои руки. Когда удалось установить, что в могиле лежит не Михаил, то очень много сил бросили на его поиски. Случайно… да, примерное место его заточения установили случайно, но если бы не искали, то и случай вряд ли бы представился. Кто не ищет, тот ничего и не находит[2]2
Смотрите «Сандро из Тифлиса. Соправитель»
[Закрыть]. И сейчас именно спасательная экспедиция приковывала всё моё внимание.
Кое-что удалось выяснить – на одной мызе в губернии Финляндия появился таинственный больной, которого прямо там оперировал доктор с английского фрегата. Но секретность была таковой, что узнать что-то более подробно не удалось. Но вот данные о том, что наши заклятые друзья нагличане в деле вызвало у меня тревогу. И тогда была разработана операция прикрытия. Её спланировал и осуществил работу с основным фигурантом лично Николай Степанович. Кстати, тут он прикрылся тоже фамилией Полковников, оказывается, был такой дворянский род, давший империи плеяду весьма достойных офицеров. На то, как он будет трубиться над этой личностью, я наблюдал не без удовольствия. Он обещал разобраться по заветам железного Феликса, не замарав руки. Так и поступил. Господина Витте, который был председателем кабинета министров и ключевой фигурой заговора, осуществляющей контроль над Николаем и выполняющем все приказы заграничной закулисы, били смертным боем. Как и обещал Полковников, он обходился без рук – месил оппонента исключительно ногами. Замес был жёсткий, точнее, бескомпромиссно жестокий. Но иначе таких, как Сергей Юлиевич, и не сломить. При этом ни одного удара по лицу – для наших целей фотокарточка Витте должна была остаться безупречной. Как говорил герой Абдулова в одном фильме: «Не бейте меня по лицу, я им работаю»!
Жалко было другого – вот так замесить ногами Полусахалинского[3]3
В РИ прозвище Витте за бездарный мир с Японией, по которому отдал врагу половину Сахалина.
[Закрыть] – это была моя мечта, можно сказать, мечта детства. При этом, поначалу казалось, что Витте пойдет другим путём, под присмотром Михаила он показал себя весьма компетентным управленцем. Но алчность всё-таки победила. Сергей Юльевич отчетливо понимал, что при Михаиле он как коррупционер развернуться не сможет. Не даст ему этого Конюхов. Вот и решился перейти на сторону британского золота. Его предательство щедро оплатили. Ну что же, Буратино, ты сам себе враг! Но как хотелось этому негодяю добавить от себя, да в челюсть, да так, чтобы зубы повылетали, чтобы всю жизнь на стоматологов работал!
Но как-то я свои хищные устремления тогда утихомирил. А вот Полковников отработал стопроцентово. К Витте приставил телохранителя (охранника-соглядатая) совершенно звериного облика, из кавказских горцев-мусульман. Как он с Алиханом нашёл общий язык, не знаю, но Витте под тяжелым взглядом своего охранника сразу же терялся и становился шёлковым и послушным, таким мягким, хоть к ране прикладывай.
На следующий день после выхода из застенка Полковникова, Сергей Юлиевич напросился на конспиративную встречу с агентом британской разведки, которому сообщил (по большому секрету), что ему удалось «прогнуть» соправителя Александра Михайловича. Мол, юный недоимператор хочет избавиться от контроля со стороны военной клики Милютина и Скобелева. При этом Витте выговаривал англичанину за топорную попытку отравить вдовствующую императрицу Софью. Из-за чего Александр Михайлович не слишком доверяет англичанам и тормозит необходимые им преобразования, в том числе столь необходимый вывод военных баз из Швеции и Норвегии, а также предоставление независимости Персии. Но вот работа по введению «золотого стандарта» для рубля идёт полным ходом. В ближайшее время будут проработаны все детали законопроекта, уверен, он пройдёт все необходимые инстанции и Сандро его подпишет. После чего для краснощитовых баронов[4]4
Герб Ротшильдов – красный щит (Рот – красный, шильд – щит).
[Закрыть] наступит режим наибольшего благоприятствования в экономическом пространстве Российской империи.
Весь этот спектакль нужен для того, чтобы не дать англичанам повода убить Михаила пока к нему не подоспела помощь. В Полковникова и умение его людей Академик верил. Но не мог не волноваться: в такой экспедиции всегда есть место случайности. А нелепая пуля могла оборвать жизнь императора Михаила. И это было то, чего допустить нельзя никоим образом! Поэтому Коняев так сильно волновался. Но всё-таки он смог вернуться к докладу, который читал перед тем, как его отвлекли тяжкие думы.
Итак, его агент из Германии сообщал, что поставки турбин для гидроэлектростанций, которые разработала компания «Siemens» тормозятся происками тех же британских агентов. Правда, они действуют через своих контрагентов в правительстве Германии. Не смотря на общую доброжелательную направленность немецкой политики по отношению к России, в Берлине сильна английская партия. Вот она и имеет серьезное влияние на эту корпорацию. Доклад был весьма подробным, описывались все действующие лица заговора против империи, их связи между собой и с британскими представителями, тем более, что англичанка действовала через своих посольских сотрудников, защищаемых дипломатическим иммунитетом. Но это облегчало выявление связей.
Ну что же, придется воспользоваться связями Николая Владимировича Мезенцева. Его агентурная сеть никак не связана с российской разведкой, которая оказалась скомпрометирована из-за глупых поступков старшего брата. Это даст возможность урегулировать вопрос, думаю, даже самым показательно жестоким образом. Они там что, не смогут нанять какую-то серьезную банду? И пусть кто-то этих лихих парней подстрахует. Сандро, дабы не откладывать дела в долгий ящик, вызвал адъютанта и попросил пригласить Мезенцева на завтра, одиннадцать часов утра – в это время у него было окно, часа на полтора. Почему бы часть его не посвятить своему подчиненному?
А теперь докладная записка от адмирала Зеленого. Илья Александрович принадлежал к ближнему кругу великого князя Константина Николаевича, состоял при нем флаг-капитаном. Потрудился воспитателем сразу двух великих княжат: Дмитрия и Константина Константиновича.
После трагедии в Зимнем дворце был введен Михаилом Николаевичем в состав Государственного совета, стал одним из сотрудников так называемой «экспертной группы» по делам военно-морского флота, отличался либеральными взглядами, посещал Английский клуб, который покинул, как только были обнародованы документы о грязных делишках британской короны. Кроме того, дружил с покойным Федором Михайловичем Достоевским, а после смерти писателя оказывал поддержку его семье. «Отцом» характеризовался как очень достойный человек. И вот ему я поручил провести инспекцию состояния работ с беспроволочным телеграфом, над которым трудился Александр Степанович Попов с коллегами. Надо сказать, что в ЭТОЙ реальности они получили более чем щедрое финансирование на скорейшее внедрение своих работ (переплачивать иностранным фирмам за радиосвязь я лично не собирался).
Увы, доклад Зелено́го оказался более чем неприятным. Надо сказать, что к своим обязанностям Илья Александрович отнесся весьма ответственно: он не только указал общее состояние дел (в целом —неудовлетворительное), но и выяснил причины этого положения и наметил меры по их устранению. Увы, одной из главных причин такого состояния дел оказался… сам профессор Попов. Человек науки, он имел весьма своеобразное представление о секретности, конфиденциальности, а также производственной и научной дисциплине. О своих достижениях он трубил в частной переписке с ведущими учеными мира, так что неудивительно, что оформление привилегий на его имя столкнулось с тем, что никому не известный Маркони уже подобные патенты оформил в соответствующих органах ведущих европейских государств и САСШ, Кроме того, получив первые результаты, Александр Степанович к радиоделу охладел и увлеченно занялся исследованиями в других областях, на которые также увлеченно стал расходовать средства, выделенные на развитие радиосвязи. А при перевороте Николая Михайловича, даже получив сигнал «Конкорд», не стал ничего предпринимать. Посему чуть ли не единственными серьезными научными разработками, которые полностью «убежали» к нагличанам оказались именно наши достижения в столь необходимой радиосвязи. Было от чего беситься!
А вот меры, которые предлагал адмирал, меня лично не устроили от слова совсем. Слишком он мягок и либерален. Даже слишком либерален, черт бы его побрал. Объявить выговор! Поставить на вид! Выписать штраф. Это за деяния, которые однозначно можно трактовать как измена Родине? Подписку о неразглашении Попов, как и все сотрудники его лаборатории давал? Давал! Пусть и ответит по всей строгости закона. Ничего! Поработает в шарашке, мозги на место станут! Гений общечеловековский, бля, сил на таких нет! Да и другим послужит уроком, дабы неповадно было!
Но это в качестве репрессивных мер. Надо же подумать, как эту гору столкнуть с места? И что делать? Раз кто виноват, мы, со скрипом, установили. Вижу только один выход. Придется к этому делу приобщать Теслу. Никола почти закончил с очередными задачами, сейчас в свободном поиске, надо будет его пригласить. Тем более, что угроза ему и его работам миновала, а его поведение во время переворота было практически идеальным. Всё сделал согласно инструкциям. Но с кем ему работать? Хм… Вот ведь задачка. А как себя проявили во время мятежа сотрудники Попова? Стоп! А ведь и Дмитрий Семенович Троицкий, и Пётр Николаевич Рыбкин вели себя более чем достойно. То есть всё сделали согласно инструкциям, это Попов на всё забил, а эти постарались поступать как следует из инструкции. Вот! Троицкого смогли английские агенты перехватить, но он как-то выкрутился, ничего не сообщил, оказал сопротивление, был освобожден нарядом солдатиков. Молодец какой, кричал «пожар!», пока не прибежала подмога. Да! Кричал бы «грабят» – обыватели только порадовались бы, что не их! Ну да ладно. Этих привлекаем в обязательном порядке. Фёдор Яковлевич Капустин – под большим вопросом. Профессора не оставил, хотя англичанам ничего не выдал, молчал, как рыба. Хватило и того, что захватили у Попова. Вспомнил! Есть такой молодой мичман Константин Фёдорович Шульц, весьма деятельный молодой человек и к технике способности имеет. Да, Евгения Львовича Коринфского привлекаем в обязательном порядке, он еще и организатор неплохой, будет заместителем Теслы по производственной части. А вот Колбасьева Евгения Викторовича задействовать или нет, это надо хорошо обдумать. Он тут мне вполне годный проект подводной лодки принёс. Не бесспорный, конечно, но на этом уровне технического развития вполне реализуемый. Нет, тут надо еще раз всё взвесить. В конце-то концов, толковые инженеры для реализации проекта нашей субмарины будут более чем кстати, а идеи у Колбасьева вполне себе здравые.
Так… тогда надо собрать совещание… Вот, двадцать второго, в десять часов поутру. Есть время. Правда, совещание может затянуться. Но все вроде в Санкт-Петербурге? Надо бы уточнить. Вот пусть Саша-адъютант и выяснит, он уже привык, что надо всё уточнять, парень шустрый, пусть старается.
Глава вторая
Дайте людям радиво!
В фантастических романах главное это было радио. При нем ожидалось счастье человечества. Вот радио есть, а счастья нет.
(Илья Ильф).
Санкт-Петербург, Новомихайловский дворец
22 декабря 1889 года
Его Императорское Величество, соправитель Российской империи Александр Михайлович (Сандро)
Терпеть не могу скучных совещаний, тем не менее, постоянно приходится на них присутствовать. Эта карма меня преследовала всю прошлую жизнь (что может быть скучнее заседаний ученых-историков?), не отпускает и эту. К сожалению, избежать этого формата обмена информацией пока что не получается. Я стараюсь, но получается не очень. Надо, наверное, лучше стараться.
Сейчас мы собрались в помещении лаборатории Теслы, впрочем, эта небольшая конторка занимается таким количеством направлений, а у самого Николы столько идей, что, скорее всего, создам на его базе первый Научно-исследовательский институт проблем электротехники. Научный руководитель уже есть. В гении серба даже не приходится сомневаться. Я всего месяц назад подключил его к теме беспроводной связи, а у него уже есть несколько интересных идей, причем, воплощенных в прототипы. Надо сказать, что сам Никола человек увлекающийся и имеет возможность генерировать идеи в массовых количествах, а вот с доведением этих самых идей до конца у него всегда возникали проблемы. Поэтому у меня он работает с группой исследователей, главная задача которых – довести до ума мысли и чаяния своего руководителя. Хочу только заметить, что во время кризиса власти и действий по сигналу «Конкорд» Никола проявил себя более чем достойно, без истерик и прочей интеллигентной мути. Просто следовал инструкциям. Это ему в большой плюс!
Не слишком ли он молод? Для руководящей должности? Нет, молодость – это вообще ресурс, который слишком быстро расходуется, а в его случае, при наличии группы помощников и надо бы подобрать ему толкового заместителя по хозяйственной части, который сможет найти всё, что только угодно. И при таких условиях, уверен, Тесла сможет работать максимально эффективно. Главное – освободить его от кучи административной работы. Научный руководитель – это научный. Вот пусть наукой и руководит. Плюс в институт надо будет обязательно выделить токового патентного поверенного, чтобы он смог приоритеты и привилегии отстаивать по всему миру. Маркони? Хрен вам, а не повторение подвига Маркони, присвоившего себе чужие достижения, не защищенные патентом (никак не могу привыкнуть, что у нас, в России, патенты именуют привилегиями, а надо бы от иностранных слов-паразитов избавляться). И вообще, речь свою контролировать еще лучше. А то иногда вылезет что-то такое, что ставит всё моё окружение в недоумение. Извините, непереводимый морской слэнг!
Почему я сейчас вопросы связи ставлю в приоритет? Так это вполне естественно! Без надежной связи как без рук! Страна наша огромна, а без средств коммуникации, когда можно важные вопросы решать оперативно, быстро ее развитие будет невозможно! Я это прекрасно понимаю. Но тут не только вопрос коммуникации, но и вопросы пропаганды. Живое слово, которое донесут до человека по радио – это живое слово, до века телевидения радио держало уверенно пальму первенства в плане пропаганды. Именно потому что воздействовало непосредственно на человека, независимо от его уровня грамотности. Нет-нет, каждому в дом тарелку радио – это пока еще несбыточная мечта. Но установить радиоточки на площадях, на заводах и фабриках с тем, чтобы люди могли слушать важнейшие правительственные сообщения, новости, музыку, интервью с политиками, это очень надо, очень! При этом такую радиосеть я хотел получить бы не только в городах, но и больших селах и деревнях. Оптимально – в каждом, даже самом мелком населенном пункте. Но пока что будем строить планы из реальных возможностей. У нас еще не в каждом доме загорелась лампочка Ильича. Да и назовут ли ее в ЭТОМ мире лампочкой Ильича? Может быть, лампочкой Михайловича?
Кстати, если говорить о лампочках, то я пригласил Яблочкова, он уже создал свою первую электрическую лампочку освещения с угольным стержнем. Вот только этот продукт недолговечен. Читал, что, когда у Эдиссона получилось создать электролампу, которая светила пятьдесят часов подряд, так его сотрудники не хотели домой уходить, любовались этим чудом. А ларчик просто открывался, имея достаточное финансирование, американский ученый тривиально направил своих сотрудников на поиски материалов, которые бы были прочными и при этом светились. Ему привезли волокна какого-то бамбука, который и пошел на первые нити накалывания по классической схеме. Надо сказать, что Эдиссон был более удачным менеджером, чем ученым. Во-первых, он умел подобрать кадры (правда, в ЭТОЙ ветке истории Тесла ему не достался), во-вторых чувствовал, куда надо направить средства и тратил их достаточно щедро для получения быстрого и надежного результата. В-третьих, он бессовестно пользовался достижениями своих сотрудников, но выдавал не просто какое-то изобретение, но цельное решение, которое дело это отдельное изобретение сразу же коммерческим продуктом. Пример тому же те же лампочки накалывания: его контора создала не просто готовый продукт, вместе с технологической схемой его получения, приспособленной под массовый выпуск, но и весь комплекс решения: генератор переменного тока, систему передачи этого тока, систему подключения и выключения источника света, предохранители, счетчики потребляемой энергии (патрон и цоколь для лампочек практически в неизменном виде используют до сих пор). Ну а то, что он считал изобретения своих сотрудников, сделанные в его лабораториях своими – так надо внимательно договоры читать, когда нанимаешься на работу!
Я пригласил в лабораторию и Павла Николаевича Яблочкова, переживавшего в этот момент не самые лучшие времена. Он начинал с работы в телеграфном ведомстве, связанным с железной дорогой. Сумел там создать первый прожектор, который ночью освещал путь императорскому составу. Впоследствии создает с инженером Николаем Гавриловичем Глуховым свою лабораторию, где разрабатывает электромагнит оригинальной конструкции, открывает принцип электродуговой лампы, которую потом назовут лампочкой Яблочкова. Затем, когда он уезжает за границу, с целью демонстрации своего изобретения, начинается самый плодотворный период его жизни. Он совершенствует и внедряет свою систему освещения, его признают во всём мире, у него получаются прорывные изобретения: генератор и трансформатор переменного тока. Ознакомившись с изобретением Яблочкова Эдиссон запатентовал свою лампу (использовал обугленные нити бамбука, помещенные в вакуум), но борьбу против американского ученого-бизнесмена Павел Николаевич проиграл.
Последние годы Яблочков жил в Париже, где убедился, что его изобретение (электродуговая система освещения) окончательно проигрывает системе ламп с нитью накалывания Эдиссона, которые всё больше завоевывают мир. И находился в творческом кризисе. Он носился с идеей выкупа своих патентов и внедрения их в России. При этом готов был заплатить за них совершенно безумные деньги. От этого русского изобретателя отговорил мой агент в Париже. Ему предложили вернуться на родину, и я уже готовился создавать лабораторию под него в институте, которым будет руководить Тесла. Тут должно было состояться моё знакомство с изобретателем. Насколько я помнил, после выкупа патентов в МОЕЙ ветке истории Яблочков остался без средств к существованию и без поддержки, как со стороны государства, так и отечественных промышленников. Все эти перипетии его жизни и творческого пути привели к слишком ранней кончине – пытаясь добиться развития своих идей в России он окончательно подорвал здоровье и умер в довольно раннем возрасте.
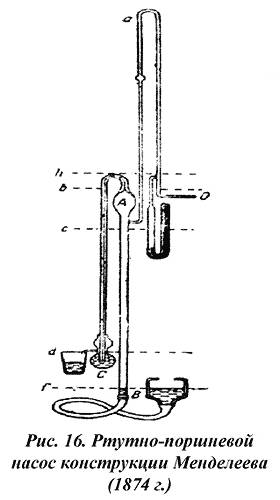
И вот я подхожу к стенду, около которого Яблочков и завис. А что тут такого? Всё такое привычное (для меня). Обычная лампочка с вольфрамовой нитью, которая горит в атмосфере смеси азота и аргона. Вот только путь к ее изобретению оказался не так прост, как кажется с самого первого взгляда. Вольфрам был известен и у нас, на территории современного Казахстана есть месторождение вольфрамовых руд с достаточно высоким содержанием металла для того, чтобы его добыча стала рентабельной. Второй серьезной проблемой было создание вакуума в стеклянной колбе, для этого был использован оригинальный прибор, разработанный в 1874 году Дмитрием Ивановичем Менделеевым – так называемый ртутно-поршневой вакуумный насос. Правда, этот прибор не годится для промышленного производства, слишком медленно он достигает той степени разреженности, которая гарантирует достаточно длинную работу лампы накаливания.

Впрочем, сотрудники химического комитета Менделеева уже работали над более совершенным прибором – ртутным вращательным насосом (в РИ аналог – насос Геде), который уже можно использовать в промышленности. Самой сложной проблемой стало заполнение стеклянной колбы инертным газом. По подсказке попаданцев, Химический комитет провел ряд опытов и открыл наличие аргона в воздухе, оценив его концентрацию в почти процент от общей воздушной массы. Трудность открытия аргона была в том, что этот газ не вступал в химические реакции, а вот пробы полученного азота из воздуха отличались по плотности. Путем сложной цепи химического улавливания аргона было доказано, что в воздухе присутствует инертный газ, с большей атомарной массой, нежели азот. Таким образом была заполнена еще одна клеточка периодической таблицы Менделеева. Но получение чистого аргона так и осталось крайне сложным химическим процессом, но нам и не требовался чистый аргон, нам требовалась азотно-аргоновая смесь, а она получалась при выделении азота из воздуха. Опытным путем была определена концентрация аргона в смеси, а дальше надо было только добиться определенного удельного веса полученной азотно-аргоновой смеси из воздуха. Правда, одно дело лабораторная программа, а совсем другое – промышленное производство.
Подхожу к стенду, там уже небольшое собрание известных ученых, занимавшихся проблемами электротехники. С Яблочковым ведет дискуссию Александр Николаевич Лодыгин, он тоже приехал из-за границы. Правда, у этого самородка была другая причина покинуть страну – он сочувствовал народовольцам. Спецслужба Мезенцева прекрасно знала о его роли в работе наших диссидентов, когда же начались аресты, Лодыгину дали возможность уйти от преследования. Но потом, уже в Париже, к нему подвели агента разведки, который и провёл вербовку изобретателя. Просто ему пообещали амнистию, а также возможность развивать свои изобретения. Тут, в этой лампе была реализована одна из идей Лодыгина – использование инертного газа в осветительной лампе.
Из Москвы приехал старый партнер Яблочкова – Николай Гаврилович Глухов, который в Москве занимался разработкой электрической динамо-машины. Его три года назад вызвали к государю, лучшие врачи подлечили его, и Николай Гаврилович стал одним из ведущих сотрудников лаборатории Теслы. Он внимательно слушал дискуссию, иногда вставляя пару слов. Рядом с этой группой стояла не менее интересная парочка: доцент кафедры физики и метеорологии Лесного института Дмитрий Александрович Лачинов и его друг, редактор журнала «Электричество» Владимир Николаевич Чикалёв. Лачинов одно время разрабатывал идеи передачи электричества на большие расстояния, но отсутствие финансирования не дало возможности продвинуть его опыты и превратить их во что-то более осязаемое. Хотя теоретическое обоснование того же трехфазного переменного тока как лучшего варианта для передачи на расстояние заслуживали большего внимания. Дмитрий Александрович тоже сейчас трудился у Теслы – хотя его отдел (фактически, отдельная лаборатория) находилась за пределами сего учреждения, как и самого Санкт-Петербурга. Чикалёв же продолжил заниматься электрическими прожекторами, необходимость которых особенно для флота и железных дорог России была огромна.
В сопровождении небольшой свиты (из четырех человек двое являлись телохранителями, вроде бы собрание ученых мужей, но требования Полковникова были весьма жесткими и мне пришлось на сие сопровождение согласиться) подошёл к компании электротехников. После обмена приветствиями поинтересовался произведенным эффектом от новой электрической лампочки. Надо сказать, что по чистоте и мощности света она превосходила и образцы Яблочкова, и Лодыгина, а уж по гарантийному сроку эксплуатации – тем более. Получил весьма лестные отзывы, после чего нашёл ещё одного сотрудника лаборатории Теслы (да, пора его уже переименовывать в НИИ) Михаила Осиповича Доливо-Добровольского, который в лаборатории сербского изобретателя занимался трехфазным электродвигателем. Спросил, как продвигается работа над его проектом, узнал о сроках демонстрации рабочего образца, в общем, обычные разговоры в кулуарах. Постарался уделить внимание всем ученым мужам, собравшимся здесь. Не так уж много их и было! Правда, были приглашены и бывшие сотрудники Попова: Троицкий и Рыбкин, мичман Шульц, и конечно, Коринфский, на которого у меня были особые планы.
Буквально перед выступлением промелькнула мысль, что при наличии дальней радиосвязи знал бы, что сейчас происходит в экспедиции Полковникова. Но как только появился Никола Тесла и занял свое место в зале, я вышел и встал за небольшую трибуну, прокашлялся и начал речь:
– Уважаемый Николай Милутинович[5]5
Отец Николы Теслы – Милутин Тесла, поэтому в русском варианте к нему и обращались: Николай Милутинович.
[Закрыть]! Дорогие гости и сотрудники лаборатории электротехники! Мы собрались здесь, чтобы обсудить важнейшие направления нашей будущей работы. Хочу поблагодарить всех, кто трудился всё это время над заданиями правительства и сумел проделать гигантскую работу – всех их ждут награды, в том числе денежные премии. Одновременно с этим хочу обратить внимание на проблему, которая была мною упущена, к сожалению, наши передовые разработки разошлись по миру, не принося пользы ни изобретателю, ни государству. В тоже время задача устойчивой радиосвязи на большие расстояния окончательно не решена. Сигнал имеет недостаточное покрытие, качеству приема мешает множество помех. К разработке возможности передачи голоса при помощи радиоволн предыдущие коллектив так и не приступил. По типу «итак сгодится». Это не наше решение, господа учёные мужи! Так мы работать и жить не намерены!
Я провел быстрым взглядом по залу, вроде бы все прониклись, хотя, раздолбаи те еще. В основном. Работникам лаборатории понятие научной и производственной дисциплины плюс режим секретности вдалбливали намертво. А тут такое дело… переворот! Бардак! Разногласия. А мне необходимо, чтобы рабочие проблемы решались таким же рабочим порядком, чтобы по моим подсказкам магистральное направление развития науки сохранялось именно так, как я себе это представляю.




























