Текст книги "История лазера. Научное издание"
Автор книги: Марио Бертолотти
Жанр:
Физика
сообщить о нарушении
Текущая страница: 21 (всего у книги 52 страниц)
Разумеется, РїСЂРё этом РІРѕР·РјРѕР¶РЅРѕ иметь положительные члены, которые соответствуют переходу РёР· состояния СЃ низшей энергии РІ состояние СЃ высшей энергией, который характеризуется поглощением фотона, Рё отрицательные члены, которые соответствуют обратному переходу СЃ высшего РЅР° низшее состояние, СЃ испусканием фотона. Отрицательный вклад добавляет Рє дисперсии то, что РјС‹ укажем как отрицательная дисперсия, РёР·-Р·Р° излучающих осцилляторов, Рё аналогичен отрицательному поглощению, представляемому коэффициентом Рйнштейна для вынужденного излучения. Рў.Рµ., как писал Крамере РІ своей работе РІ 1925 Рі.: Световые волны РЅР° этой частоте, РїСЂРѕС…РѕРґСЏ через большое число атомов РІ рассматриваемом состоянии, Р±СѓРґСѓС‚ увеличиваться РІ интенсивности.
Р�спользуя весьма изощренную спектроскопическую технику, Ладенбург Рё его сотрудники изучили эффект отрицательной дисперсии РІ 1926 Рё 1930 РіРі. Р’ РѕРґРЅРѕРј РёР· этих исследований, выполненных РІ сотрудничестве СЃ Р“. Копферманом (18951963), Ладенбург исследовал дисперсию газа неона вблизи его красных линий испускания. Неон возбуждался РІ стеклянной трубке электрическим разрядом, примерно так, как это делается сейчас РІ рекламных устройствах. Была измерена дисперсия как функция интенсивности РѕС‚ величины тока разряда. РћРЅРё обнаружили, что РїСЂРё увеличении тока выше некоторого значения, дисперсия уменьшается (С‚.Рµ. падает разница РѕС‚ показателя преломления, равного единице). Убедительно наблюдалось, что эффект отрицательной дисперсии РјРѕР¶РЅРѕ объяснить уменьшением дисперсии, поскольку увеличивалось число атомов РІ высшем состоянии. Рти эксперименты явились первым экспериментальным доказательством существования отрицательных членов РІ уравнении дисперсии. Если Р±С‹ эти измерения были Р±С‹ продолжены систематически, усиление Р·Р° счет вынужденного излучения, вероятно, могло Р±С‹ быть получено РІ то время.
Другие исследователи изучали эффекты вынужденного излучения. Одним из них был Дж. ван Флек (18991980), один из наиболее выдающихся американских физиков-теоретиков среди основателей современной теории твердого тела и, в частности, магнетизма. Он получил свою докторскую степень в Гарварде в 1922 г. за первую в Америке диссертацию по квантовой механике, и в 1977 г. получил вместе с Н. Ф. Мотом и П. В. Андерсоном Нобелевскую премию за квантово-механическое описание магнитных свойств вещества. Другим был американец Р. Толмен (18811948) специалист по теории относительности и статистической механики, который открыл эффект, демонстрирующий существование свободных электронов в металлах. Они наблюдали, что вынужденное излучение, названное ван Флеком индуцированным излучением может привести к отрицательному поглощению, и Толмен писал, что ...молекулы, находящиеся в верхнем состоянии, могут возвратиться в нижнее квантовое состояние таким образом, что первоначальный пучок усиливается за счет отрицательного поглощения. После столь ясной основы для изобретения лазера Толмен сказал, что в экспериментах по поглощению, которые обычно выполняются, величиной отрицательного поглощения можно пренебречь.
Причина, почему ученые считали, что явления, связанные СЃ вынужденным излучением, РЅРµ дают существенных экспериментальных эффектов, заключается РІ тех следствиях, которые получаются РїСЂРё использовании закона Максвелла-Больцмана (выведенного РІ конце 19 столетия), который устанавливает вероятность нахождения РїСЂРё равновесии системы, обладающей определенной энергией. Ртот закон, используемый РІ нашем случае для набора атомов, находящихся РІ термическом равновесии, РІ РѕСЃРЅРѕРІРЅРѕРј или РІ возбужденном состоянии, утверждает, что число атомов РІ возбужденном состоянии всегда РјРЅРѕРіРѕ меньше числа атомов, находящихся РІ РѕСЃРЅРѕРІРЅРѕРј состоянии. Р’ РїСЂРёСЂРѕРґРµ РІСЃРµ физические системы находятся РІ тепловом равновесии или очень мало отличаются РѕС‚ него Рё быстро РІ него возвращаются. Поэтому РІ случае атомов, следует ожидать, что число возбужденных атомов всегда будет малым РїРѕ сравнению СЃ атомами, находящимися РІ РѕСЃРЅРѕРІРЅРѕРј состоянии. Тем самым разумно полагать, что эффект вынужденного излучения, который требует наличия возбужденных атомов, будет очень мал.
Позднее, в 1940 г., российский ученый В. А. Фабрикант в своей докторской диссертации показал, что если число молекул в возбужденном состоянии могло быть больше, чем число молекул в основном состоянии, то могло бы быть усиление излучения. Однако эта диссертация не была опубликована и, кажется, не имела последствий даже в России. Его предположение стало известным только тогда, когда после изобретения мазера Фабрикант получил российский патент.
Р’ конце концов РІ 1947 Рі. РЈ. Лэмб (Рі. СЂ. 1913) Рё Р . Ризерфорд (Рі. СЂ. 1912) захотели проверить точность предсказания Поля Дирака РѕР± энергетических СѓСЂРѕРІРЅСЏС… Рё спектральных линиях РІРѕРґРѕСЂРѕРґР°. Предсказание Дирака утверждало, что атом РІРѕРґРѕСЂРѕРґР° имеет РґРІР° возможных состояния СЃ равными энергиями. Р’ знаменитом эксперименте, сделанном РїСЂРё изучении разряда РІ РІРѕРґРѕСЂРѕРґРµ, эти исследователи обнаружили, что имеется маленькое различие между этими энергетическими СѓСЂРѕРІРЅСЏРјРё. Ртот лэмбовский СЃРґРІРёРі показал, что РЅСѓР¶РЅР° ревизия теории взаимодействия электрона СЃ электромагнитным излучением. Р—Р° этот результат Лэмб РІ 1955 Рі. получил Нобелевскую премию РїРѕ физике, которую РѕРЅ разделил СЃ Поликарпом Куршем. Р’ приложении Рє своей работе, опубликованной РІ 1950 Рі., Лэмб Рё Ризерфорд, обсуждая результаты, указали, что РІ РёС… эксперименте могли быть осуществлены условия достижения инверсной населенности (С‚.Рµ. больше возбужденных атомов, чем атомов, находящихся РІ РѕСЃРЅРѕРІРЅРѕРј состоянии). Однако РѕРЅРё заключили, что РёС… расчеты были слишком оптимистичны, Рё РѕРЅРё РЅРµ предприняли усилий для дальнейших проверок. Позднее Лэмб писал, что РІ то время концепция отрицательного поглощения Рё ранние исследования были новыми для РЅРёС… Рё что РІ любом случае РёС… интересы были принципиально устремлены РЅР° изучение тех вещей, которые принесли ему Нобелевскую премию. РџРѕ этой причине РѕРЅРё РЅРµ исследовали тщательно аспекты проблемы, связанной СЃ вынужденным излучением.
ГЛАВА 7
М�КРОВОЛНЫ
Мы теперь возвращаемся к концу 19 столетия, во времена сразу же после публикации (1873 г.) знаменитой работы Treatise on Electricity and Magnetism Максвелла.
Несмотря на прогресс, сделанный Максвеллом и его первыми последователями в теории электромагнитных колебаний, связь между классической электродинамикой и теорией света не была найдена, кроме интуитивной идеи Максвелла, что электромагнитные волны и световые волны имеют одну природу. �рландский физик Джордж Френсис Фитцджеральд (1851 1901) заложил первый камень в 1882 г., указав, что если унификация, указанная Максвеллом, правильна, то должна быть возможность генерировать излучаемую энергию чисто электрическими способами. Он утверждал: Представляется высоко вероятным, что энергия переменных токов частично излучается в пространство и, тем самым, теряется для нас, обращая внимание только на отрицательную сторону явления, и описывал методы, с помощью которых можно было бы получить излучаемую энергию. Однако он замечал, что трудность лежит в обнаружении таких волн, когда они будут получены, поскольку подходящих детекторов еще не существовало.
Ркспериментальное открытие электромагнитных волн
Параллельно с теоретическими изучениями уравнений Максвелла проводились экспериментальные исследования по генерации электрических колебаний, получаемых при разряде обычного конденсатора в электрической цепи, и выявляемые как осциллирующий ток в этой цепи. С 1847 г. Герман фон Гельмгольц доказал, что в некоторых случаях разряд конденсатора должен носить колебательный характер. Вильям Томсон в 1853 г. дал математическую формулу, устанавливающую, при каких параметрах компонентов цепи в ней получаются колебания.
Работая с колебательными цепями такого вида, Генрих Герц, молодой и тогда неизвестный немец, добился успеха в генерировании и обнаружении электромагнитных волн.
Генрих Герц (18571894) родился в Гамбурге. Он был сыном прокурора, ставшего позднее сенатором. Будучи блестящим студентом, он в равной степени преуспевал и в гуманитарных дисциплинах, и в науках. Также он показал большие способности в проектировании и создании научной аппаратуры. Предполагалось, что молодой Герц последует традициям семьи в области права, но с десяти лет он стал интересоваться естественными науками и после обучения в ряде школ решил изучать инженерное дело в Дрезденском политехникуме в 1876 г. Когда ему исполнилось 20, он был призван в армию. После службы он решил закончить свое инженерное обучение в Мюнхене, но вскоре оставил инженерное поприще ради физики. В 1878 г. он поступил в Берлинский университет для работы под руководством Гельмгольца и Кирхгофа и в 1880 г. получил докторскую степень.
Герман фон Гельмгольц переехал РІ Берлин РІ 1870 Рі. РёР· Гейдельберга, сменив кафедру физиологии РЅР° кафедру физики. Р’ течение РјРЅРѕРіРёС… лет Гельмгольц интересовался физическими свойствами организмов Рё биологическими процессами, РІ частности процессами ощущений. Рти изучения убедили его РІ том, что полное описание процессов, касающихся нервной системы, требует понимания обмена энергией РІ живых телах, Рё важную роль играет термодинамика Рё электричество. Здесь СѓР¶Рµ были важные достижения, включающие закон сохранения энергии. РљРѕРіРґР° РѕРЅ приехал РІ Берлин, то начал серию исследований РІ области электричества, Рё Герц, который появился РІ 1878 Рі., РїСЂРёРЅСЏР» участия РІ этом деле. Ему посчастливилось обратить РЅР° себя внимание Гельмгольца, который, после получения Герцем ученой степени, назначил его СЃРІРѕРёРј ассистентом. Р’ 1883 Рі. Герц стал РїРѕ рекомендации Кирхгофа приват-доцентом Киле, Р° РІ 1885 Рі. стал профессором физики РІ Карлсруе. Для этого университета требовался кто-РЅРёР±СѓРґСЊ, кто РјРѕРі Р±С‹ преподавать электрические технологии. Р’ то время последние успехи РІ передаче энергии, электрический свет Рё РґСЂСѓРіРёРµ применения электричества сделали электричество принципиальной технологией. Работы Герца, СѓР¶Рµ сделанные РІ этой области, Р° также поддержка Гельмгольцем помогли ему получить это место. Герц скончался очень молодым РѕС‚ хронического заражения РєСЂРѕРІРё РІ тот Р¶Рµ РіРѕРґ, РІ который скончался его покровитель Гельмгольц.
Как часто случается, Герц пришел к открытию электромагнитных волн, первоначально не стремясь их обнаружить.
В 1879 г. Берлинская Академия наук установила награду за исследование проблемы экспериментально установить соотношение между изменяющимися электрическими полями и откликами материалов на эти поля (поляризуемость). В это время Герц занимался электромагнитными исследованиями в Берлинском Физико-техническом институте и его наставник Гельмгольц привлек его внимание к этой проблеме. Первоначально Герц подошел к изучению электрических колебаний, используя для их получения лейденскую банку (вид электрического конденсатора), но вскоре пришел к заключению, что только эффекты, лежащие за пределами наблюдений, могут быть интересны. Поэтому он подошел к проблеме с другой стороны, вернувшись к ней девятью годами спустя, в 1888 г., и успешно решив ее, как часть его классических экспериментальных работ по электромагнитным волнам. В 18861887 гг. он при выполнении некоторых экспериментов обнаружил что если кусок медной проволоки согнуть в виде прямоугольника так, чтобы между концами проволоки был маленький воздушный промежуток, и поместить этот прямоугольник рядом с искровым разрядом индукционной катушки (мы будем называть ее первичной цепью), то в промежутке открытой цепи прямоугольника проскакивает искра. Он правильно интерпретировал это явление, показав, что согнутая проволока (мы будем называть ее вторичной цепью) имеет такие размеры, которые делают свободный период колебаний в ней, почти равный периоду колебаний в первичной цепи.
Открытие, что в воздушном промежутке вторичной цепи могут возникать искры (при подходящих размерах для резонанса), давало метод наблюдения электрических эффектов в воздухе на расстоянии от первоначального возбудителя: детектор, требуемый Фитцджеральдом для наблюдения распространения электрических волн, теперь был в руках.
Неизвестный Герцу Давид Рдвард РҐСЊСЋР· (18301900) несколькими годами ранее опередил его. РћРЅ показал, что электрические РёСЃРєСЂС‹ РјРѕР¶РЅРѕ обнаружить РЅР° расстоянии РґРѕ около 500 Рј микрофоном (позднее РѕРЅ был назван когером), включенным РІ телефонную трубку. РћРЅ правильно утверждал, что эти сигналы были РѕС‚ электрических волн РІ РІРѕР·РґСѓС…Рµ. Р’ 18791980 РіРі. РѕРЅ продемонстрировал эти эксперименты президенту Королевского Общества СЃСЌСЂСѓ Джорджу Стоксу Рё Р’. РџСЂРёСЃСѓ Главному электрику Почтовой службы. Рљ сожалению, РѕРЅРё пришли Рє РґСЂСѓРіРѕРјСѓ объяснению этого явления, Рё РҐСЊСЋР·, разочаровавшись, РЅРµ опубликовал СЃРІРѕРёС… результатов, которые стали известными РјРЅРѕРіРѕ РїРѕР·Р¶Рµ.
После короткого перерыва, в течение которого Герц был занят изучением влияния облучения ультрафиолетовыми лучами на электрический разряд, проведя, тем самым, первые наблюдения фотоэлектрического эффекта, он в 1888 г. улучшил схему получения искр. Регистрируя эффект с помощью вторичной цепи, удалось продемонстрировать, что испускаются электромагнитные волны. Оливер Лодж (1851-1940) также в начале 1888 г. открыл электромагнитные волны. Он продемонстрировал их распространение и отражение вдоль проволок и выполнил точные измерения их длин волн. Однако, вместо того, чтобы немедленно опубликовать свои результаты, он отправился на отдых в Альпы, полагая, что его эксперименты произведут впечатление на очередном конгрессе Британской Ассоциации развития науки, который должен был быть в сентябре. На этом конгрессе, Фитцджеральд, который ничего не знал о работе Лоджа, громогласно объявил, что неизвестный немец Генрих Герц сумел генерировать и детектировать электромагнитные волны в воздухе.

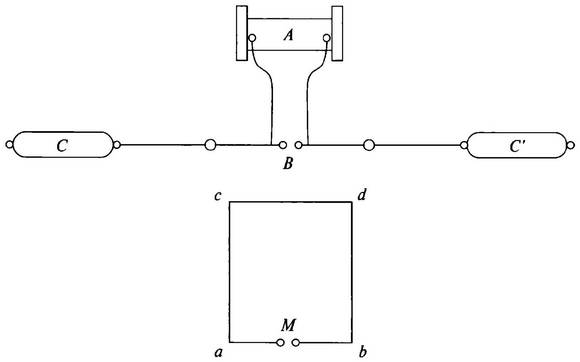
Рис. 24. На верхней части показан вибратор (осциллятор) Герца, а на нижней резонатор. А катушка Румкфорда, В два шарика, между которыми проскакивает искра; С и С два больших проводника, которые заряжаются от катушки. Цепь abcd резонатор Герца, а M два шарика, между которыми можно видеть искорку
Для получения СЃРІРѕРёС… РёСЃРєСЂ Герц использовал различные экспериментальные конфигурации. РћРґРЅР° РёР· РЅРёС… показана РЅР° СЂРёСЃ. 24. Две металлические сферы диаметром около 30 СЃРј были каждая РЅР° конце РїСЂСЏРјРѕР№ медной проволоки. Центры сфер были РЅР° расстоянии 1 Рј. Р’ середине проволока разрывалась СЃ РґРІСѓРјСЏ шариками РЅР° концах разрыва. Расстояние между этими шариками (несколько СЃРј РІ диаметре) РјРѕР¶РЅРѕ было регулировать РґРѕ типичного значения РїРѕСЂСЏРґРєР° 1 РјРј. Размеры были выбраны так, чтобы возникающие волны РјРѕР¶РЅРѕ было обнаружить вторичной цепью соответствующего размера. Для возбуждения цепи была использована катушка Румкорфа, СЃ помощью которой РґРІРµ сферы заряжались противоположным знаком. РџСЂРё достижении РЅСѓР¶РЅРѕРіРѕ напряжения РїСЂРѕРёСЃС…РѕРґРёР» РёСЃРєСЂРѕРІРѕР№ РїСЂРѕР±РѕР№, Рё РёСЃРєСЂР° проскакивала между шариками. РџСЂРё этом система разряжалась через СЂСЏРґ колебаний СЃ частотой, определяемой размерами сфер Рё РёС… взаимным расположением. Рти колебания затухали, РєРѕРіРґР° энергия, связанная СЃ первоначальным зарядом, испускалась РІ пространство РІ РІРёРґРµ электромагнитных волн. Рљ концу РіРѕРґР° Герц продемонстрировал сходство электромагнитных волн СЃРѕ светом, показав, что РѕРЅРё РјРѕРіСѓС‚ отражаться распространяться прямолинейно после прохождения отверстия РІ экране, испытывают дифракцию, Рё РґСЂСѓРіРёРµ свойства, подобные свету,
В первых экспериментах длина волны составляла несколько метров, но, в тот же год, Герц смог сгенерировать волны порядка 10 см. Парадоксально, но Герц не оценил возможное практическое применение своего открытия. Когда один немецкий техник высказал ему предположение, что открытые им волны можно использовать для беспроволочного телеграфа, Герц отверг эту идею, утверждая, что токи в его резонаторе совершают колебания в миллионы раз в секунду и не могут быть воспроизводимы в телефонном устройстве, которое работает с токами с частотой в несколько тысяч раз в секунду.

Рис. 25. Резонатор Риги был сделан из стеклянной посеребренной пластинки (как обычное зеркало). Слой серебра на стекле имеет тонкую щель 7, в результате которой получаются две металлические, проводящие части а и b изолированные друг от друга. Когда на такой резонатор по падают электромагнитные волны, в щели Т проскакивает искорка, которую можно увидеть в темноте
Рксперименты Герца были продолжены итальянцем Аугусто Р РёРіРё (1850-1921), профессором физики РІ университете Болоньи. РћРЅ сумел генерировать волны длиной РІ несколько СЃРј Рё регистрировать РёС… СЃ помощью резонатора, который РѕРЅ сделал РёР· прямоугольной полости станиолевой фольги, закрепленной РЅР° стеклянной пластине. Р’ середине фольги делался очень тонкий разрез, РІ котором могла появляться РёСЃРєСЂР° (СЂРёСЃ. 25).
Риги родился в Болонье и после окончания технической школы поступил в 1867 г. на математический факультет Университета Болоньи. Получил степень в 1872 г. в области инженерной специальности. В рамках своей диссертации по гражданской инженерии (единственной в то время) он построил электростатическую машину для измерения очень малых электрических зарядов. Ее можно рассматривать как уменьшенный аналог знаменитого ускорителя частиц, построенного в 1930-х гг. Робертом ван дер Графом (19001967). Еще в школе Риги проявил большие способности в физике. �спользуя школьную лабораторию, он сумел улучшить телефон, разработанный в то время А. Г. Беллом (18471922), создал и запатентовал первый микрофон с проводящим порошком, а также громкоговоритель, который он представил на Всемирной выставке в Париже в 1878 г. Он начал свою университетскую карьеру в Палермо (18801885), а затем в Падуе. В 1889 г. он вернулся в Болонью, где был профессором физики вплоть до своей кончины. Здесь он проводил свои исследования по оптическим свойствам электромагнитных волн. В Болонье он организовал �нститут современной физики. Риги первым наблюдал гистерезисный цикл в магнитных материалах. Он изучал электрические разряды в газах, магнитные эффекты света и был одним из первых, кто исследовал фотоэлектрический эффект, построив фотоэлектрическое устройство.




























