Текст книги "Ремонт часов"
Автор книги: И. Беляков
Соавторы: П. Сурин,С. Крепс
Жанр:
Хобби и ремесла
сообщить о нарушении
Текущая страница: 4 (всего у книги 13 страниц)

Рис. 56. Швейцарская десятичная мерка
Во время измерения достаточно, чтобы губки штангенциркуля плотно подошли к измеряемой детали, но не следует их прижимать с большим усилием.
Если ножки (4 – 5) плотно прилегают одна к другой и нулевые линии (риски) совпадают одна с другой совершенно точно, без просвета по всей их длине, значит штангенциркуль исправен.
Чтобы штангенциркуль был в полной исправности, следует держать его в кожаном или брезентовом футляре. Его нельзя бросать, держать вместе с другими инструментами, так как неосторожный, хотя бы легкий удар по рабочей части ножек может его повредить.

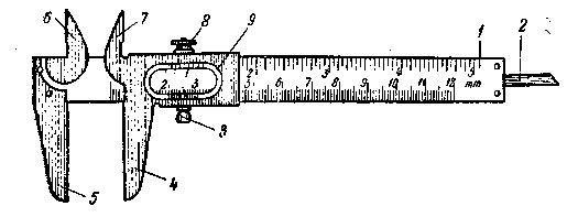
Рис. 57. Штангенциркуль «Колумбус»:
1 – основная линейка; 2 – выдвижная линейка-нутромер– 3 – головка для передвижки ножки; 4 – ножка передвижная; 5 – ножка непередвижная-6 – левая острая ножка; 7 – правая острая ножка; S – гайка для закрепления ножки; 9 – вырез с нониусом
Опиловка и полировка-цапф. Для доводки и исправления цапф осей служат мелкий бархатный .напильник, а для полиров-ки – воронило. Каждый из указанных инструментов имеет две рабочие стороны. Одна сторона, с прямыми острыми углами, предназначается для доводки, исправления и полировки цапф трибов и других деталей с прямыми основаниями, другая, овальная, – для доводки, исправления и полировки цапф оси баланса.
Во время работы воронило смазывают маслом. Чтобы масло не окатывалось, на ворониле делают мельчайшую насечку, проводя воронилом по наждачной бумаге.
Шлифовка и полировка винтов и плоских деталей. Стальные детали (винты, пружины и др.) шлифуют на матовом стекле, покрытом мелким наждачным порошком с маслом. Можно также шлифовать на специальном мелкозернистом камне.
При шлифовке и полировке винтов их закрепляют в специальном пинцете (рис. 58).
Ремонтуарные колеса с углублениями закрепляют шеллаком в специальной державке и шлифуют на токарном станке, вращающемся в одну сторону. Колесо шлифуют палочкой, на которую набирают наждачный порошок, смешанный с маслом; полируют также палочкой, на которую набран диамантин с маслом или крокус с маслом.
Окончательную отделку детали получают при полировке мягкой кожей или замшей с незначительным количеством крокуса.

Рис. 58. Пинцет для шлифовки и полировки винтов:
1 – паз в пинцете для удержания винта; 2 – направляющий штифт с отверстием на противоположной стороне для устойчивости пинцета

Рис. 59. Приспособление для шлифовки – наждачная бумага «двух-нолька», наклеенная на деревянную пластинку
Шлифуют также очень мелкой наждачной бумагой, наклеенной столярным или другим клеем на деревянную дощечку (рис. 59).
Нарезание резьбы. Для нарезания наружной резьбы пользуются плашками или винтовальной доской. Чтобы нарезать винт или наружную .резьбу (например, на заводном валике), надо взять материал, диаметр которого был бы несколько больше диаметра данной детали.
Место нарезаемой резьбы обильно смазывают маслом. Если нарезаемая деталь вращается туго, то ее следует медленно поворачивать то в одну, то в другую сторону. Конец нарезаемой детали делают коническим, что облегчает начало нарезания резьбы. После нарезания конус стачивают. Внутреннюю резьбу нарезают метчиком, который делают с тремя или четырьмя канавками, если позволяет толщина метчика. Конец метчика затачивают на небольшой конус (рис. 60).

Рис. 60. Метчики для нарезания резьбы
В винтовальной доске должно быть два ряда отверстий с одинаковой резьбой. Один ряд – для предварительной, а другой для окончательной нарезки резьбы (рис. 61).

Рис. 61. Винтовальная доска:
1 – для черновой нарезки; 2 – для чистовой нарезки
При необходимости изготовить винт с левой резьбой следует сначала изготовить винтовальную доску. Для этого при помощи винтовальной доски с лравой резьбой нарезают метчик, а затем опиливают его с двух сторон, придавая овальную форму (рис. 62). Оставшаяся по бокам нарезка должна быть тонкой, как лезвие ножа. Такой метчик вводят в отверстие стальной пластинки толщиной до 2 мм, затем, вращая метчик влево, нарезают левую резьбу. После этого пластинку закаливают и отпускают до светло-соломенного цвета. Пользуясь такой пластинкой, как винтовальной доской, можно нарезать левый винт. Для нарезания в отверстиях левой резьбы мелкие правые метчики опиливают с двух сторон на плоскость и, вращая влево, вводят в отверстия.

Рис. 62. Метчик для винтов с левой резьбой
Сверление. При отсутствии стандартных сверл нужного размера их можно изготовить самому. Для сверления твердых металлов обычно применяют перовые сверла (рис. 63).
Рабочая часть сверла, применяемого для сверления мелких отверстий (например, для цапф оси баланса или триба), должна быть тонкой и короткой, а хвостовик сверла – в два-три раза толще, чтобы сверло было достаточно устойчивым.
Сверла изготовляют из круглой стали-серебрянки. При изготовлении болванки сверла оба конца опиливают на конус для образования центров, если сверло обтачивают на токарном станке. После этого один конец заготовки сверла опиливают в виде плоской лопаточки, одновременно опиливая и режущие кромки. У сверл малых размеров для получения лопаточки конец расплющивают молотком, но перед этим конец немного опиливают, чтобы при осаживании металла не появились трещины.
После изготовления сверло закаливают в масле и отпускают до светло-соломенного цвета.

Рис. 63. Три вида перовых сверл: 1 – одностороннее перовое сверло, режущее в одну сторону; 2 – двустороннее сверло, режущее в обе стороны; 3 – полукруглое сверло для сверловки твердых металлов
При ремонте часов отверстия сверлят различными способами. Когда сверло находится в вертикальном положении, то есть деталь лежит на верстаке, сверло закрепляют в ручной детали или в ручных тисочках и вращают его в разные стороны. При сверлении на токарном станке сверла закрепляют или в патроне задней бабки, или в ручных тисочках, лежащих на подручнике токарного станка. В заднем торце просверливаемой детали должен быть конус, который входит в спицу станка.

Рис. 64. Приспособление (флажок) для сверления отверстий в цапфах осей
Приспособление, называемое флажком (рис. 64), применяется главным образом при сверлении отверстий в цапфах осей крупных часов. Флажок состоит из плоской закаленной и отшлифованной стальной пластинки, в которой просверлено несколько отверстий различного диаметра, причем каждое отверстие раззенковано-на конус.
Флажок ставят на токарном станке вместо подручника так чтобы одно из его отверстий соответствующего диаметра находилось против центра задней спицы токарного станка. При сверлении торец детали, в которой просверливают отверстие, должен плотно входить в раззенкованное углубление, причем между, стенками отверстия и сверлом должен быть небольшой зазор. При сверлении с помощью флажка сверло и триб должны быть устойчиво закреплены.
При сверлении вручную вращают сверло, а при сверлении на станке вращают обрабатываемую деталь, пользуясь для этого смычком, надетым на ролик, в котором закреплена деталь. Чтобы облегчить сверление и дать возможность выйти стружке, сверло во время сверления вращают в обе стороны, часто вынимая его для очистки от стружки. Место сверления обильно смазывают маслом, так как смазка облегчает сверление и уменьшает износ сверла. Особое внимание следует обращать на правильное положение сверла, которое при вращении не должно «бить» или менять направление вращения, так как изменение направления сверла вызывает его поломку.

Рис. 65. Плоское сверло – отвертка
Сверла надо затачивать на специальных микрокорундовых камнях типа арканзас или Миссисипи, делая это особенно внимательно и тщательно. Сверло с хорошо заточенными режущими кромками, с ровной, плоской и гладкой поверхностью (без выпуклостей) и режущими кромками одинаковой длины дает правильное отверстие и служит долго.
При работе с маховиком, который действует в одну сторону, применяют те же перовые сверла, но заточенные только с двух противоположных сторон. Можно также использовать готовые спиральные сверла, но сверло нужно заранее укоротить не меньше чем на половину, для того чтобы оно было устойчиво и не вибрировало.
Если нужно исправить боковые стенки или дно цилиндрического отверстия, применяют плоское сверло, у которого затачивают конец и боковые грани (рис. 65).
Для развертывания отверстий и их исправления, например отверстия моста механизма, применяется сверло с направляющей осью (рис. 66). Ось должна быть правильной цилиндрической формы и входить в направляющее отверстие возможно более плотно.
Причины плохой работы при сверлении могут быть следующие:
а) сверло плохо закалено или неправильно заточено;
б) лопатка сверла узка, а шейка толста, что мешает нормаль-лому выходу стружки из отверстия;
в) сверло перекалено, от чего оно стало хрупким;
г) обрабатываемая деталь плохо отпущена и чрезмерно тверда;
д) намеченный для сверления центр «заполировался», что ука-зывает на слишком сильный нажим при сверлении; при сильном нажиме затупилась режущая кромка сверла.

Рис. 66. Сверло с направляющей осью
Термическая обработка. Существует три вида термической обработки стали – отжиг, закалка и отпуск.
Отжиг – вид термической обработки, при которой сталь нагревают до 700 – 800° С, т. е. до тех пор, пока она примет светло-красный цвет, и постепенно охлаждают вместе с металлической пластинкой, на которой производят нагрев.
В условиях часовых мастерских мелкие и тонкие детали чаще всего отжигают на металлической пластинке над пламенем спиртовки или посредством дутья в февку.
Второй вид термической обработки – закалка, которая заключается в том, что деталь нагревают до 700-800°С, причем нагревание следует начинать не с рабочей части. После этого деталь быстро опускают в закалочную жидкость. Для закалки применяют масла – вазелиновое, олифу или воду.
Мелкие и тонкие детали, особенно сверла, хорошо закаливаются от быстрого погружения в стеарин, мягкое мыло или воск. Часто используют воздушную закалку, размахивая нагретой деталью. После закалки на детали появляется окалина темного цвета, и деталь становится хрупкой. Необходимо тотчас же очистить деталь от окалины мелким напильником, наждаком, штихелем или протереть щеткой с набранным на нее маслом с точильного камня. Чтобы на отжигаемой стали не появилась окалина, можно ее перед закалкой покрыть тонким слоем ядрового мыла.
Деталь после очистки от окалины кладут на пластинку и подвергают отпуску, т. е. приводят в такое состояние, чтобы деталь не была хрупкой и не ломалась и в то же время сохраняла требуемую твердость. Температуру нагрева мастер устанавливает в зависимости от степени твердости, какую необходимо сохранить у обрабатываемой детали, и определяет нагрев по цветам побежалости, т е. от светло-соломенного до темно-синего цвета, соответствующих температуре 220 – 300° С.
Различные плоские пружинки и рычажки изготовляют из отходов пружин будильников, настенных, карманных и наручных часов, а также из поделочной стали.
Применяемая сталь должна быть достаточно мягкой, чтобы она сравнительно легко поддавалась механической обработке, для чего-необходимо отпуск производить два раза, т. е. отпустить, отшлифовать, а затем еще раз отпустить до нужного цвета.
Припои и паяние. Припоями называются металлы и их сплавы, применяемые для соединения отдельных частей. Эту работу начинают с того, что спаиваемые места тщательно очищают от грязи, масла, ржавчины каким-либо острым инструментом или наждачной бумагой, смазывают паяльной кислотой или накладывают канифоль. После этого на спаиваемые места накладывают мелкие кусочки припоя; при этом соединяемые детали должны быть плотно приложены друг к другу.
Лучше всего паять на спиртовой горелке, не дающей копоти. Пламя горелки направляют только на спаиваемое место.
После пайки деталь необходимо тщательно очистить от остатков кислоты, вызывающей появление коррозии на стали или зеленой пленки окисла на латуни. Для этого деталь промывают нашатырным спиртом, затем бензином, после чего смазывают маслом. Для защиты нагреваемой поверхности от окисления припайке лучше применять канифоль, измельченную в порошок, посыпая им нагретую поверхность соединяемых деталей.
В качестве припоя употребляют сплавы олова и свинца – третник, состоящий из двух частей свинца и одной части олова, или: половинник, содержащий равные количества свинца и олова.
Паяльную кислоту можно приготовить следующим образом: в неочищенную соляную кислоту, содержащуюся в стеклянной посуде, опускают небольшие кусочки цинка, растворяющиеся в кислоте.
После насыщения кислоты цинком в нее добавляют несколько капель нашатырного спирта и тщательно фильтруют. Полученную паяльную кислоту необходимо держать в стеклянной посуде с притертой пробкой.
Размагничивание. Намагниченность часового механизма или отдельных деталей определяется при помощи чувствительного компаса. Намагниченные части часового механизма следует размагнитить.
Для размагничивания применяют катушку, состоящую из кольцеобразно расположенных одна над другой тонких полос мягкого-железа, на которые намотана обмотка медного эмалированного провода (рис. 67).
Катушку включают в осветительную сеть переменного тока.

Рис. 67. Катушка для размагничивания деталей часов
На одну-две секунды деталь вводят в магнитное поле и быстрым рывком отводят обратно. Если необходимо, операция повторяется. Спираль рекомендуется размагничивать уже надетой на баланс, положив его спиралью вниз на дно коробки. Собранный механизм часов размагничивать не рекомендуется.
ГЛАВА V
РЕМОНТ НАРУЧНЫХ И КАРМАННЫХ ЧАСОВ
I. ПОСЛЕДОВАТЕЛЬНОСТЬ ОПЕРАЦИЙ ПРИ РЕМОНТЕ
Обычно (ремонт начинают с разборки часов. Снимают или отвинчивают крышку часов и, придерживая одной рукой заводную головку, другой рукой с помощью пинцета, отвертки или путц-гольца отводят собачку барабанного колеса и медленно спускают пружину. Затем, сняв ободок со стеклом, отвертывают винты корпуса, ослабляют винт переводного рычага и извлекают заводной валик. После этого механизм помещают «а подставку и разбирают, последовательно снимая узел баланса, стрелки и циферблат, колеса стрелочного механизма, анкерную вилку, анкерное, секундное, промежуточное и барабанное колеса, барабанный мост, барабан, центральное колесо и детали заводного механизма.
2. КОРПУС
Ободок стекла и крышку карманных и наручных часов рекомендуется снимать с помощью специального ножа, но так, чтобы не испортить внешний вид корпуса; открывать только в тех местах ранта и крышки, где имеется специальная щель или надпиловка для вставки лезвия ножа. Если крышка имеет резьбовое соединение с корпусом, нужно пользоваться универсальным ключом (рис. 68). Ключ этот можно изготовить в условиях часовой мастерской.
Если крышка завернута туго и не поддается отвертыванию от руки, то ее можно отвернуть при помощи тисков. Для этого в мастерской необходимо иметь специальные гладкие латунные или алюминиевые уголки, которые надеваются на губки тисок. Часы закрепляют в тисках, прикладывают плотно ключ и отвинчивают крышку.

Рис. 68. Универсальный ключ для отвинчивания крышки корпуса
Для выравнивания измятой или согнутой крышки корпуса в тисках укрепляют деревянный или стальной грибок, кладут на него крышку и легко ударяют по ней деревянным молотком (рис. 69).

Рис. 69. Грибки для выравнивания корпуса часов
В устаревших конструкциях часов встречается шарнирное крепление крышки, легко поддающееся деформациям, вследствие чего крышка перекашивается и плохо закрывается.

Рис. 70. Исправление тонкой крышки тыльной стороной щетки для чистки часов
Для выравнивания крышки, несколько отогнутой назад от своего правильного положения, возле шарниров, между основавшем крышки и каркасом кладут ороволо.ку, по толщине равную шарнирному штифту. Затем крышку осторожно закрывают и открывают несколько раз подряд, не доводя ее до упора.
Так поступают, пока крышка не выпрямится.
Если крышка отогнута сильно, нужно пуансоном выбить шарнирный штифт, при этом для удержания пуансона на шарнирном штифте делают зенковку. Выбивают шарнир справа налево, держа в левой руке корпус и пуансон, а в правой молоток. Затем разверткой исправляют отверстие шарнира, выравнивают крышку, выпиливают новый шарнирный штифт и собирают корпус так, чтобы шарнир крышки относительно плотно поворачивался на штифте.
Если крышка часов тонка и легко деформируется, следует по-.ложить крышку наружной частью на верстак или на совершенно плоскую дощечку, а затем с внутренней стороны крышки слегка нажимать на нее, водя по всей крышке тыльной частью щетки, пока крышка не станет устойчивой. Тыльная часть щетки должна быть овальной формы и гладко отполирована (рис. 70).
Деформированный ободок стекла выравнивают плоскогубцами, круглогубцами или деревянным молотком с помощью маленького грибка, укрепленного в тисках. Одновременно следует слегка пройти штихелем кольцевой конический паз, в который вставляется стекло.
Необходимо также проверить состояние корпусного кольца, его форму, посадочные места, на которых укрепляется ободок и крышка.
Стекло слабо держится в ободке, когда его паз недостаточно глубок. В этом случае паз углубляют острием штихеля. При необходимости стекло проклеивают белым или бесцветным лаком.
Иногда механизм часов сидит в корпусе слабо, хотя сам корпус исправен. Тогда следует проверить винты, крепящие механизм. Если все же механизм имеет большой радиальный и вертикальный зазоры, необходимо высверлить в боковой части платины-(ближе к желобку заводного вала) отверстие, вколотить туда толстый латунный штифт и разрезать его пополам так, чтобы разрез входил в выступ корпусного кольца, на котором сидит механизм.
Когда серьга (в корпусе карм-анных часов) разработала гнездо в шейке корпуса и держится плохо, следует приточить в шейку корпуса два латунных футера и вставить кольцо.
Серебряные корпуса рекомендуется чистить порошком мела, разведенным нашатырным спиртом, а затем очищать щеткой, Очень грязный корпус рекомендуется сначала положить на некоторое время в специальный состав-растворитель (трихлорэтилен, ацетон, бензин).
3. ДЕТАЛИ УЗЛА БАЛАНСА
Накладные камни и накладки (верхняя и нижняя). Если сорвана резьба винтов, удерживающих накладки, нужно нарезать новую большую резьбу и завернуть новый винт.
Накладной камень, свободно сидящий в гнезде, необходимо закрепить или подобрать новый. Мастеру приходится иногда закреплять камни шеллаком, накладывая кусочки шеллака на накладку и подогревая их.
Для нагрева лучше всего использовать приспособление (рис. 71), на которое после предварительного прогрева следует наложить накладку.
Если накладной камень имеет повреждения, необходимо его заменить. Вновь подбирать камень надо так, чтобы был обязательно обеспечен зазор для масла между накладным и сквозным камнями.
Градусник (регулятор). Слабо закрепленный градусник может произвольно перемещаться под влиянием волоска во время хода часов или при их встряхивании, что может нарушить точность хода.
Такой градусник необходимо закрепить затягиванием винтов накладки, если этого будет недостаточно, то сменить накладку или градусник. При замене градусника следует обратить внимание на то, чтобы расстояние между штифтами градусника было не больше, чем полторы толщины ленты волоска.
В случае большого расстояния между замком и штифтами или между штифтами необходимо их сблизить, изгибая штифты, но так, чтобы при переводе градусника волосок не деформировался, л также, чтобы не была нарушена параллельность штифтов на участке, соприкасающемся с волоском.

Рис. 71. Приспособление для наклейки разных камней шеллаком посредством нагрева
Слабо сидящие и качающиеся штифты градусника необходимо закрепить. Если штифт сломан, нужно поставить новый, выбив -оставшийся в градуснике кусок штифта острым пуансоном снизу вверх или высверлив его. Новый штифт вставляют сверху вниз, предварительно зачистив отверстие разверткой.
Штифты градусника следует изготовлять из латуни. Они не должны быть чрезмерно тонки или толсты, так как в первом случае они могут изогнуться под усилием спирали, во втором случае может оказаться, что второй оборот спирали будет соприкасаться со штифтом градусника.
Если сломан выступ замка (сапожка) градусника, следует изготовить новый замок. Можно исправить старый замок, для чего следует слегка его укоротить и напаять легкоплавким припоем новый выступ из тонкой листовой латуни, опилив последний до надлежащей формы. После этого прокипятить регулятор в нашатырном спирте, промыть в бензине и тщательно очистить-щеткой.
Чтобы следующие за первым оборотом витки волоска во время встряски часов не могли заскочить за штифт градусника, штифт внизу должен плотно прилегать к выступу замка, а волосок следует установить несколько выше конца штифта и выступа замка.
Если замок градусника задевает баланс, необходимо его немного спилить внизу наискось от выступа вверх.
Колонка волоска. Для извлечения колонки из отверстия моста рекомендуется изготовить пинцет (рис. 72). На одной стороне пинцета сделана прорезь, куда входит колонка, на другой стороне просверлено отверстие, куда запрессован стальной штифт, выдавливающий колонку.
Заштифтовывать волосок в колонку рекомендуется непосредственно на мосту баланса (рис. 73).
Если в колонке повреждено отверстие для волоска, следует изготовить новую колонку.
Если колонка держится слабо, то в мосту с нижией его стороны стягивают отверстие для колонки специальным пуансоном,

Рис. 72. Пинцет для снятия колонки волоска
образующим вокруг отверстия кольцеобразную керновку. Если колонка закрепляется винтом, а его резьба повреждена, то ставят новый винт.
При неисправной резьбе в отверстии его необходимо слегка развернуть колизваром, а затем пройти метчиком несколько большего размера и поставить новый винт.
При необходимости изготовления новой колонки обточить на токарном станке пруток и, опилив его по требуемой форме, высверлить отверстие для волоска.
Если колонка закреплена низко, что задевает баланс или винт баланса, ее опиливают снизу по всей плоскости или только уголок.

Рис. 73. Закрепление волоска в колонке
Колодка волоска. Снимать колодку с волоском отверткой очень трудно, особенно если баланс компенсационный, поэтому рекомендуется использовать для этой цели рычаг, показанный на рис. 74. Если такого рычага нет в наличии, то его может изготовить сам мастер.
Рычаг делают из стального прутка и вставляют в ручку от отвертки.
Если в колодке прорвано отверстие для закрепления волоска, следует просверлить отверстие в другом месте или изготовить новую колодку.
При изготовлении новой колодки на торце латунного прутка делают небольшую зенковку, а сам пруток обтачивают на токарном станке по диаметру до надлежащего размера. Отверстие просверливают по центру зенковки, затем делают прорезь в колодке тонкой ножовкой и просверливают отверстие для волоска так, чтобы конец его мог свободно войти в отверстие. Размеры колодки должны соответствовать диаметру и высоте посадочного уступа оси баланса, на который она насаживается. Колодка волоска должна насаживаться так, чтобы предотвратить свободное ее проворачивание на оси, но в то же время не туго, чтобы можно было, не снимая с оси, передвигать ее отверткой в ту или другую сторону, вставляя отвертку в разрез колодки.
Если колодка оказалась высокой, ее следует надеть на чурку и спилить мелким наждачным оселком.

Рис. 74. Рычаг для снятия волоска с баланса
Волосок. При замене волоска необходимо тщательно выбрать его по сечению (толщине и ширине), чтобы не вызвать значительного изменения периода колебания баланса.

Рис. 75. Положение волоска: 1 – неправильное; 2 – правильное
Диаметр волоска не должен превышать половину внешнего диаметра баланса (без балансовых винтов). Волосок, насаженный на баланс, должен иметь необходимые вертикальные и горизонтальные зазоры. Особенное внимание следует обращать на волосок малого сечения, имеющий много витков. Если у волоска не будут установлены необходимые зазоры, то при малейшем сотрясении вибрирующие наружные витки будут ударяться о перекладину баланса, центральное колесо, колонку, и в часах резко изменится ход.
При перекошенном волоске нельзя обеспечить постоянного и точного хода часов. Волосок должен быть расположен так, чтобы он лежал в одной плоскости параллельно балансу и мосту (рис. 75).
Если волосок разворачивается эксцентрично, т. е. больше в одном направлении, вследствие того, что он неправильно расположен относительно колодки, то такой волосок создает боковое давление на цапфы оси баланса. Хорошо установленный волосок должен разворачиваться концентрично, т. е. одинаково во все стороны.
Первый внутренний виток волоска не должен прилегать к колодке в месте его закрепления, но в то же время не должен далеко отходить от нее (рис. 76). Как внутренний конец волоска, так и штифт не должны выступать наружу. Внутренний и наружный концы волоска должны быть хорошо закреплены штифтами.

Рис. 76. Закрепление волоска:
1 – неправильное; 2 – правильное
Точки закрепления обоих концов будут расположены правильно, если они находятся на одном уровне. Внутренний конец волоска не должен иметь смещений относительно плоскости волоска.
Наружный виток волоска вблизи колонки выгибается таким образом, чтобы при перемещении градусника волосок не прижимался к его замку или штифту.

Рис. 77. Тонкий пинцет для работы с волоском
Перемещение («игра») воло-ска в замке или штифтах градусника должно быть одинаково с обеих сторон и независимо от положения градусника.
Для работы с волоском применяют наиболее тонкие пинцеты (рис. 77).
Волосок Бреге. Колено волоска Бреге чаще всего выгибает сам мастер. Чтобы правильно изогнуть волосок, необходимо первый его виток несколько отодвинуть в сторону, затем, крепко зажав пинцетом первый виток в таком месте, чтобы было обеспечено 2/з оборота первого витка, отгибают первое колено волоска, слегка нажимая о твердую деревянную пластинку. Затем волосок переворачивают и проделывают аналогичную операцию с другой стороны (рис. 78), после чего волосок приобретает окончательную форму.
Высота колена волоска Бреге зависит от высоты моста баланса. Колено волоска должно быть на такой высоте, чтобы оставалось достаточное расстояние для всей плоскости волоска между балансом, замком градусника и центральным колесом. В остальном установка и работа с волоском Бреге производится так же, как и с плоским волоском.

Рис. 78. Изгиб первого витка волоска Бреге:
1 – вытягивание первого витка; 2 – изгиб первого колена; 3 – изгиб второго колена; 4 – волосок Бреге в готовом виде
Выправление и подбор волоска. Часто приходится выправлять изогнутый или смятый волосок. Правку волоска нужно начинать с внутреннего витка. Если волосок погнут до половины своего диаметра, то его необходимо вытянуть пинцетами в прямую линию, после чего вновь свернуть один виток за другим по всей плоскости (рис. 79). Опытные мастера выравнивают волосок, не растягивая его двумя пинцетами. Выравнивают волосок на стеклянной пластинке, а для лучшей видимости подкладывают под пластинку белую бумагу.

Рис. 79. Выправление согнутого волоска:
1 – горизонтально согнутый волосок; 2 – вертикально согнутый вЬлосок; 3 – выравнивание волоска горизонтально; 4 – выравнивание волоска вертикально; 5 – вытянутый виток; 6 – чурка
Все витми волоска в радиальном направлении должны отстоять друг от друга на одинаковом расстоянии.
Просветы в исправленных витках должны точно равняться расстоянию между исправными внутренними витками. При колебании баланса витки не должны касаться друг друга; при этом все витки должны быть расположены точно в одной плоскости. Волосок необходимо установить на мосту баланса и окончательно выровнять.
Рекомендуется поставить баланс на циркуль (восьмерку) вместе с волоском и, вращая баланс, проверить работу волоска.
Чтобы распустить спутанный волосок, следует обязательно снять его с колонки и с внутренней стороны иголкой провести по виткам по направлению к наружному витку.
Волосок, хотя бы слегка покрытый коррозией, следует заменить. Если нет нового, то прежний прогревают в масле, а затем чуркой аккуратно снимают слой коррозии.
При подборе нового волоска необходимо прежде всего укрепить подобранный волосок на балансе, закрепив его в колодке, или сделать из воска шарик диаметром около 1 мм, закрепить шарик на цапфе баланса, внутренний же конец волоска нужно укрепить на шарике. Затем, захватив пинцетом волосок, на расстоянии примерно меньше полуоборота до наружного конца, тянуть полосок кверху, пока баланс не подымется. Если баланс тяжел, подбирают такой волосок, чтобы высота конуса равнялась диаметру баланса. Если баланс относительно легок, то подбирают такой волосок, чтобы высота конуса была наполовину больше диаметра баланса. При этом учитывается, что волосок после укрепления его на колонке должен иметь в запасе не менее полуоборота. Если мастер считает, что волосок соответствует балансу, он укрепляет его на колодке. Для этого волосок снимают с шарика, а шарик с цапфы, отламывают требуемое количество витков с расчетом свободного размещения колодки, выгибают внутренний конец волоска и закрепляют его в колодке.

Рис. 80. Закрепление спирали в колодке
Для закрепления волоска в колодке необходимо иметь пятигранный запиленный стержень (на него надевают колодку), одна из граней которого попадает в разрез колодки и не дает ей вращаться во время вставки штифта. На штифте делают плоскую лы-ску, которая обеспечивает волоску место в отверстии колодки. Волосок вводят одновременно со штифтом (рис. 80), при этом внутренний конец должен прилегать к колодке. Штифт следует плотно вставить и отрезать его недалеко от колодки, затем пинцетом довести конец штифта до уровня со стенкой колодки, а выступающий с противоположной стороны конец штифта отрезать у самой стенки колодки, не задевая волоска. Для удобства рекомендуется указанный конец штифта заранее надрезать. Резать штифт можно лезвием безопасной бритвы или откусывать пинцетом-кусачками (рис. 81).

Рис. 81. Пинцет-кусачки
Волосок укрепляют на балансе. Для регулировки периода колебаний баланс ставят на стекло часов против секундной стрелки (рис. 82), резким движением от руки приводят баланс в колебательное движение и, пропустив несколько первых колебаний, начинают счет, следя за секундной стрелкой часов и за балансом.. Баланс должен сделать 150 двойных колебаний в минуту. Волосок, оказавшийся значительно слабее или сильнее требуемого, укорачивают или удлиняют, передвигая пинцет, и продолжают испытание тем же способом. Если на десятую секунду баланс будет делать 25 двойных колебаний, волосок считается вполне пригодным, при условии, что у него остается запас не менее полуоборота. Затем укрепляют волосок в колонке и устанавливают его на мосту баланса.



























