Текст книги "Ремонт часов"
Автор книги: И. Беляков
Соавторы: П. Сурин,С. Крепс
Жанр:
Хобби и ремесла
сообщить о нарушении
Текущая страница: 2 (всего у книги 13 страниц)
Потерянный путь существует в часовых механизмах для компенсации следующих погрешностей: ходовое колесо выполнено неточно, например оно бьет, так как посажено на триб эксцентрично, его зубья имеют погрешность или загустело масло на импульсной плоскости зубьев колеса или палеты; зуб ходового колеса может задержаться на палете, и часы остановятся.
Однако при наличии потерянного пути вилка после падения зуба не сразу упирается в ограничительный штифт, а проходит некоторый так называемый потерянный путь. Угол потерянного пути равен от 1/3 до 1/4 полного угла покоя на палете.
Угол покоя. Когда вилка прижата к ограничительному штифту, эллипс, входя в паз вилки, поворачивает ее. В свою очередь вилка, поворачиваясь, освобождает палету из-под зуба, давая возможность ходовому колесу, совершив отход назад, встать зубом на начало плоскости импульса палеты. Угол, на который поворачивается в это время вилка от ограничительного штифта до того положения, когда зуб встанет в начало плоскости импульса палеты, называется полным углом покоя, или углом освобождения.
Полный угол покоя равен углу покоя плюс угол потерянного пути. Например, если угол покоя равен 1°30', а угол потерянного пути – 0030', то полный угол покоя будет равен 2°.
Угол импульса. Когда анкерная вилка прошла угол освобождения, т. е. острие зуба ходового колеса соприкоснулось с началом плоскости импульса палеты, колесо, получив возможность вращения, начинает поворачивать вилку, сообщая ей импульс.
Угол, на который поворачивается анкерная вилка, начиная с положения, когда острие зуба колеса соприкоснулось с началом плоскости импульса, и до того момента, пока пятка зуба не покинет эту плоскость, – называется углом импульса. Сумму угла покоя и угла импульса называют углом подъема анкерной вилки. Таким образом, весь узел анкерной вилки служит связующим звеном между узлом баланса-и анкерным колесом (рис.25). Зазор между ограничительными штифтами, копьем и предохранительным роликом с обеих сторон должен быть совершенно одинаковым. Необходимо, чтобы зазор между предохранительным роликом и копьем был бы меньше, чем зазор между эллипсом и рожком вилки. Это нужно для беспрепятственного прохода эллипса в паз рожков вилки.
Зазор между эллипсом и рожком должен быть больше потерянного пути.
Ходовое колесо. Для передачи движения анкерной вилке служит ходовое колесо. Оно состоит из втулки, спиц, обода и зубьев и закреплено на оси, изготовленной вместе с трибом из одного прутка. Зубья колеса имеют своеобразную форму (рис. 26). Рабочая часть зуба состоит из четырех элементов: вершины (острие) зуба, пятки зуба, плоскости импульса и плоскости покоя.

Рис. 25. Комплекс узлов хода и регулятора, собранных полностью (вид сверху)

Рис. 26. Зуб ходового колеса:
1 – острие зуба; 2 – пятка зуба; 3 – плоскость покоя; 4 – плоскость импульса; 5 – фаска
Ходовое колесо обычно изготовляют из латуни. Для часов улучшенного качества эти колеса изготовляют из стали и бериллиевой бронзы. Стальное колесо подвергают термической обработке – закалке и отпуску. Рабочие поверхности колеса тщательно шлифуют. Верхнюю плоскость колеса полируют, а нижнюю шлифуют.

Рис. 27. Последовательные периоды работы анкерного хода
Находясь во взаимодействии с налетами, зубья ходового колеса касаются плоскости покоя палет своими вершинами и пятками. Когда зуб соприкасается вначале с плоскостью импульса палет, он упирается в нее также вершиной зуба, когда зуб проходит по плоскости импульса палет, он касается ее пяткой зуба, но в конце, перед выходом зуба из-под палеты, острие палеты скользит по плоскости импульса зуба. Падая на плоскость импульса, зуб ходового колеса ляжет не в самом начале угла импульса палет, а несколько впереди.
Ось ходового колеса своими цапфами входит в отверстия платины и моста. На оси нарезан триб, который имеет шесть, иногда восемь зубьев.
Отход назад. В начале движения анкерной вилки и ее отрыва от ограничительного штифта до того момента, когда зуб попадет на импульсную плоскость, палета отодвигает ходовое колесо несколько назад от направления своего вращения, давая этим самым возможность палете освободиться от притяжки зубом ходового колеса.
Вершина зуба ходового колеса под действием заводной пружины падает на плоскость импульса палеты, отбрасывая анкерную вилку, которая своим рожком догоняет эллипс и, ударяя по нему, сообщает импульс балансу. Вилка же, благодаря притяжке, плотно прижмется к ограничительному штифту.
Таким образом во время работы хода происходит мгновенный обмен скоростями между балансом и анкерной вилкой. На рис. 27 показаны последовательные периоды работы анкерного хода.
6. КОЛЕСНАЯ ПЕРЕДАЧА МЕХАНИЗМА (АНГРЕНАЖ)
Как было сказано выше, весь узел баланса все время нахо-. дится в движении до тех пор, пока полностью не израсходуется накопленная энергия в заведенной пружине. Вся же остальная часть механизма определенные промежутки времени не работает.
Так, например, в карманных часах «Молния» зубчатая передача находится в движении в течение суток только 1 час 13,8 мин, а 22 час 46,2 мин колеса остаются неподвижными. Следовательно, за один период колебания баланса детали зубчатой передачи находятся в движении всего 0,0159 сек, и за этот короткий промежуток времени зубчатая передача в часах несет большую нагрузку, так как заводная пружина всю свою накопленную энергию передает через зубчатую передачу узлу хода и стрелочной части механизма. Отсюда ясно, почему требуется высокое качество зубчатой передачи часов.
Назначение зубчатых колес состоит в передаче движения и силы от одной оси механизма к другой, причем все колеса различаются между собой диаметром и числом зубьев.
Колесо большого диаметра, как правило, является ведущим, а малое (имеющее до 20 зубьев), так называется триб, – ведомым.
Барабан, центральное, промежуточное и секундное колеса являются ведущими, триб центрального колеса и все остальные трибы – ведомые. Число оборотов ведомого триба во столько раз больше числа оборотов ведущего колеса, во сколько рчз число зубьев ведущего колеса больше числа зубьев триба.
Отношение числа зубьев ведущего колеса к числу зубьев ведомого называется передаточным числом. Передача вращения и усилий зубчатого зацепления осуществляется в месте соприкосновения зубьев колеса и триба по так называемой начальной окружности.
В каждом колесе или трибе различают три окружности: окружность выступов, окружность впадин и начальную окружность. Окружность, описанная из центра колеса радиусом, ограниченным вершиной головки зуба, называется окружностью выступов. Окружность, описанная, из центра колеса и проходящая через основания зубьев колеса, называется окружностью зпадин. Окружность, на базе которой строятся зубья и, следовательно, по которой проходит зацепление колеса и триба, называется начальной окружностью.
При правильном зацеплении окружности колеса и триба касаются друг друга. При глубоком зацеплении они пересекаются.
Расстояние между двумя соседними зубьями, измеренное по начальной окружности, называется шагом зубчатого зацепления.
Частное от деления шага на 3,14 называется модулем зубчатого зацепления. Модуль также равен диаметру начальной окружности, разделенному на число зубьев данного колеса или триба.
Наружные диаметры колес и трибов измеряют микрометрами или калибрами, а диаметры начальных окружностей определяют расчетом или по таблицам.
Расстояние, измеряемое по прямой линии между центрами зацепляющихся между собою колес и трибов, называется межцентровым расстоянием.
Прямая линия, соединяющая центры вращения двух сцепляющихся между собой зубчатых колес (или колеса и триба), называется линией центров.
Общее передаточное число для любого количества зубчатых пар, входящих в зацепление, равняется произведению передаточных чисел всех пар или равняется отношению произведения числа зубьев колес к произведению числа зубьев трибов.
Зубчатая передача работает правильно, если величина передаваемого крутящего момента не меняется и потери на трение в передаче являются минимальными. Изменение величины передаваемого крутящего момента зависит от состояния профиля зубьев, от правильного выбора профиля зацепления. В карманных, наручных, настенных и настольных часах в основной зубчатой передаче применяется циклоидальное или корригированное (исправленное) циклоидальное зацепление. Обычные профили зубьев такого зацепления изображены на рис. 28.

Рис. 28. Четыре разновидности зубьев колес и трибов. Сцепление колеса с трибом:
1 – ножка; 2 – головка; 3 – впадина; 4 – начальная окружность
К зубчатым зацеплениям часовых механизмов предъявляются следующие основные требования:
1) минимальное трение в зубьях, что достигается высоким качеством изготовления колес и трибов;
2) большие радиальные и боковые зазоры в зубьях для предотвращения заклинивания колес и трибов и остановки механизма при попадании пыли.
Размер колес подбирается исходя из общих размеров механизма.
Каждое колесо вращается вокруг своей оси на двух цапфах – нижней и верхней, входящих в отверстия платины и моста. Если механизм часов собран на камнях, то цапфы осей входят в отверстия камней. Чем ближе стоит колесо к пружине, тем оно толще и зубья крупнее, соответственно толще трибы и цапфы.
Правильное зацепление зубьев колеса и триба такое, когда зубья соприкасаются друг с другом не глубже и не мельче начальной окружности, т. е. в точках, где зубья переходят в закругления головки.
7. КОНСТРУКЦИЯ ДВИГАТЕЛЯ
Барабан. Для помещения и закрепления заводной пружины, а также для передачи вращательного движения центральному колесу служит барабан.
Зубья в барабане толще, чем в колесах. Зазор между зубьями барабана и трибом центрального колеса должен быть минимальным.
Барабан имеет соответствующую выточку, в которую плотно входит крышка. В центре барабана и крышки имеются отверстия, в которые входит вал барабана. В стенке барабана выдавлен выступ (крючок) для закрепления наружного конца пружины.
В других конструкциях стенка барабана или снабжена уступом, или дно барабана и крышка имеют отверстия для закрепления замка наружного витка заводной пружины.
Вал барабана изготовлен из стали. Одна из цапф вала имеет квадрат для установки барабанного колеса. Для закрепления барабанного колеса цапфа имеет отверстие с резьбой для винта.
На боковой поверхности вала имеется крючок, который входит в отверстие внутреннего конца пружины.
Пружина. В карманных и наручных часах двигательной силой является упругость закрученной стальной пружины (стальной ленты, свернутой в виде спирали). Заводная пружина служит для приведения в движение колесной передачи и поддержания колебаний баланса.
Внешний конец пружины с замком или отверстием прикреплен к барабану, а внутренний конец пружины с отверстием – к крючку вала барабана.
При заводке часов пружина постепенно плотно навивается на вал барабана и, стремясь развернуться, вращает барабан вместе с колесной передачей.
Таким образом, пружина разворачивается по мере хода часов и в спущенном состоянии опять прилегает к стене барабана. Сила пружины должна быть такой, чтобы волосок баланса относительно легко «вырывал» анкерную вилку из-под зуба ходового колеса, обеспечивая давление зуба ходового колеса на палету анкерной вилки с силой, равной примерно 0,24 г (в часах калибром 17 – 18 линий). Калибр часов определяется посадочным диаметром платины, выраженным в миллиметрах или французских линиях (одна французская линия равна 2,256 мм}. Так как во время удара эллипса о рожок вилки баланс теряет скорость, то, если пружина будет более сильной, чем это необходимо для данных часов, анкерная вилка не освободится, так как зуб анкерного колеса давит на палету сильнее, чем следует. Чтобы пружина могла свободно сворачиваться и разворачиваться, ширина ее должна быть минимум на 0,1 мм меньше внутренней высоты барабана (до выточки в крышке).
Сила пружины, т. е. создаваемый ею крутящий момент, по мере раскручивания постепенно ослабевает. В отдельных случаях, спустя 26 – 28 час после завода, сила упругости пружины теряется почти вдвое.
Для того, чтобы часы ходили правильно, пружина должна обеспечить за сутки 3,5 – 4 оборота барабана.
Однако выпускаются часы, в которых барабан делает до 6 оборотов. Такие часы могут ходить от одной заводки пружины 36 – 42 час.
Крутящий момент пружины в таких часах более стабилен, что способствует более точному ходу часов.
8. КОНСТРУКЦИЯ УЗЛА ЗАВОДА ЧАСОВ И ПЕРЕВОДА СТРЕЛОК

Рис. 29. Заводной валик:
1 – цапфа; 2 – грань; 3 – направляющий поясок; 4 – выточка для переводного рычага; 5 – резьба
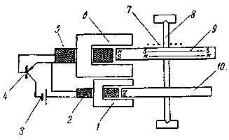
Механизм завода часов и перевода стрелок. Узел завода часов и перевода стрелок – ремонтуар – имеет различные конструктивные особенности, отличающиеся количеством деталей, формой и их расположением; принцип же работы этого устройства почти одинаковый во всех конструкциях. Механизм ремонтуара обычно расположен под циферблатом. Заводной валик – деталь сложной конструкции (рис. 29). Самая распространенная за последнее время конструкция ремонтуара – заводной механизм с переводным рычагом.
В механизм ремонтуара (рис. 30) входит заводная головка 1, закрепленная на резьбе заводного валика, заводной триб 2 (полубочонок), надетый «а заплечик заводного валика, кулачковая муфта 3 (бочонок), надетая на квадрат заводного валика, заводной рычаг 4, входящий в выем кулачковой муфты 5, в который нижним концом упирается двусторонняя пружина 5, прижимающая муфту к заводному трибу 2. При этом косые зубья кулачковой муфты 3 плотно сцепляются с косыми зубьями заводного триба 2.
Прямые зубья заводного триба выступают наружу в вырез моста и сцепляются с зубьями заводного колеса. Заводное колесо в свою очередь сцепляется с барабанным колесом, закрепленным на валу барабана.

Рис. 30. Схема узла завода и перевода стрелок:
1 – головка с заводным валом; 2 – заводной триб (полубочонок); 3 – кулачковая муфта (бочонок); 4 – заводной рычаг; 5 – пружина заводного рычага; 6 – вексельное колесо; 7 – триб вексельного колеса; 8 – минутный триб; 9 – часовое колесо; 10 – колеса перевода стрелок; 11 – фиксаторная пружина моста; 12 – переводной рычаг (вытяжка); 13 – винт переводного рычага
Таким образом, поворотом заводной головки вправо квадрат заводного валика поворачивает кулачковую муфту 3. Муфта поворачивает заводной триб 2 и все связанные с ним заводные колеса, которые заводят пружину. Чтобы при заводе часов пружина не могла вернуться в обратное положение, в барабанное колесо упирается собачка с фиксирующей пружинкой.
При обратном вращении заводной головки все ремонтуарные колеса стоят неподвижно, вращается только кулачковая муфта.
Стрелочные колеса и ремонтуар во время перевода стрелок. При вытягивании заводной головки (рис. 31) заводной валик 1 и переводной рычаг 2 перемещаются. Нижняя часть переводного рычага упирается своей второй канавкой в фиксатор 3, который не дает возможности переводному рычагу произвольно переходить из одного положения в другое без применения силы. Другим концом переводной рычаг упирается в заводной рычаг 4, который входит в паз кулачковой муфты 5. В этот момент прямые зубья кулачковой муфты 5 входят в зацепление с зубьями переводного колеса 6. При повороте заводной головки зубья кулачковой муфты вращают переводные колеса, которые поворачивают вексельное колесо и минутный триб с укрепленной на нем минутной стрелкой. Одновременно через триб вексельного колеса вращается часовое колесо, свободно сидящее на минутном трибе. На трубке часового колеса установлена часовая стрелка. Установив стрелки в надлежащем положении, надавливают на заводную головку и перемещают заводной валик в первоначальное положение.

Рис. 31. Узел ремонтуара в положении перевода стрелок:
1 – головка и валик; 2 – переводной рычаг; 3 – фиксатор; 4 – заводной рычаг; 5 – кулачковая муфта; 6 – колесо перевода стрелок

Рис. 32. Минутный триб:
1 – минутный триб; 2 – ось центрального триба для установки минутного триба; 3 – минутный триб на оси центрального триба
Минутный триб. Деталь, соединяющая стрелочный механизм с колесной передачей и закрепляемая на оси центрального колеса, называется минутным трибом (рис. 32).
На удлиненном, проходящем сквозь платину конце оси триба центрального колеса имеется выточка, а в центре минутного триба – вдавленный во внутрь уступ. Благодаря уступу, входящему в выточку оси сравнительно плотно, минутный триб в процессе перестановки стрелок проскальзывает на оси.
Во время работы часового механизма минутный триб движется вместе с осью триба центрального колеса; в противном случае при отсутствии такой фрикционной связи этих элементов часы могут идти, а стрелки будут стоять на месте.
В устаревших конструкциях часов минутный триб насажен на валик, вставленный свободно в сквозное отверстие триба центрального колеса, а минутная стрелка укреплена на валике, который выступает несколько выше минутного триба. При повороте минутного триба вместе с ним поворачивается валик.
Также в устаревших конструкциях часов вместо переводного рычага применяется подавка (рис. 33). В этом случае заводной валик 1 закрепляется винтом или стальным мостом. Для перестановки стрелок вместо вытягивания заводного валика нажимают кнопку 2 (подавку), которая упирается в заводной рычаг 3, заставляя его передвинуться и тем самым переместить кулачковую муфту к переводному колесу. В исходное положение механизм возвращается под действием пружины 4.
9. КРЕПЛЕНИЕ МЕХАНИЗМА И ЦИФЕРБЛАТА
Механизм в корпусе часов закреплен двумя винтами, расположенными друг против друга, или одним винтом, находящимся у края платины, или с помощью переходного пружинного кольца, или же просто тугой посадкой в крышке корпуса (последнее обычно применяется в женских наручных часах).

Рис. 33. Перестановка стрелок подавкой:
1 – заводной валик; 2 – подавка; 3 – за« водной рычаг; 4 – пружина
Циферблат закрепляют тремя способами.
1. На боковой поверхности платины в диаметрально противоположных местах имеются два-три отверстия с резьбой, куда» ввернуты винты, зажимающие ножки циферблата.
2. Циферблат привинчен к платине двумя винтами.
3. Ножки циферблата, расположенные диаметрально друг другу, имеют продольные пропилы или надрезы. В платине имеются два отверстия для входа ножек циферблата. Рядом с каждым отверстием ввинчены винты с выступами, которые при поворачивании входят выступами в надрезы -ножек циферблата. Этот последний способ можно встретить только в устаревших конструкциях.
10. ПРОТИВОУДАРНОЕ УСТРОЙСТВО В НАРУЧНЫХ ЧАСАХ
Амортизация опор оси баланса применяется с целью исключения поломки цапф при ударах, которым могут подвергаться часы при эксплуатации. На рис. 34 показан узел амортизации оси ба-ланса для часов марки АЧХ (авиационные часы хронофлейт).
Рассмотрим устройство этого узла. Сквозной камень 1 запрессован в бушон 2, помещенный на внутреннем конусе накладки баланса 3, которая в свою очередь жестко соединена с мостом баланса 5 винтом 4. Верхняя накладка закреплена двумя винтами... Балансовый накладной камень 6 вставлен с легким натягом в бушон 2.
Бушон и накладной камень удерживаются в накладке фиксирующей пружинкой 7. Эта пружинка обладает такой упругостью, которая дает возможность бушону иметь при ударе и толчке небольшие горизонтальные и вертикальные перемещения, что-смягчает удар и предохраняет цапфы и камни от разрушений.
После удара бушон возвращается в первоначальное положение. Как видно из рисунка, бушон имеет конические опорные фаскит а накладка является коническим гнездом для бушона. Это сделано для того, чтобы происходило самоцентрирование бушона при скольжении его по внутренней конической поверхности накладки. Вид -сверху показывает, что фиксирующая пружинка 7 одним своим концом (усиками) входит в специальный паз накладки, а другим разрезным концом скользит по направляющей накладке 8.

Рис. 34. Узел баланса с амортизатором опор оси баланса
На рис. 35 изображен этот амортизатор в трех положениях.
Сопротивляемость тонких цапф и камней ударам и толчкам достигается: за счет эластичности крепления камневых опор, позволяющих камням вместе с осью баланса смещаться при сотрясении, так как толчок воспринимается специальной накладкой с коническими направляющими и амортизационной пружинкой (I); удар воспринимается дополнительно утолщенной частью оси-баланса (II), осевой амортизацией, когда камни вместе с осью при ударе опустились вниз (III). Накладку укрепляют винтами либо дугообразным штифтом – брошью.
Иногда в часах амортизируют весь механизм относительно корпуса часов. В этих случаях механизм охватывается тонким стальным кольцом, имеющим пять – восемь пружинящих лапок, упирающихся в крышку корпуса. При закрытой крышке механизм оказывается прижатым к корпусу и при ударе несколько смещается за счет деформации пружинящих лапок кольца, чем и смягчается влияние удара.
Указанный амортизатор не гарантирует в полной мере сохранность от поломки цапф и камней в часовом механизме.
Имеется и другой вид амортизатора, применяемый дополнительно к амортизатору с коническими направляющими и с эластичной пружинкой (фиксатором). На механизм, свободно вложенный в корпус, надевается тонкая пружинящая шайба (рис. 36), а крышка корпуса часов упирается в нее, создавая амортизацию, предохраняющую часы от удара.

Рис. 35. Амортизатор в различных положениях
1 – ось и амортизатор смещены вверх; II – ось и амортизатор смещены по горизонтали влево и за-плечик оси баланса принял на себя удар; III – ось баланса и амортизатор сместились по вертикали вниз

Рис. 36. Амортизатор в виде тонкой пружинящей крышки:
1 – вид сверху; 2 – вид сбоку
11. АВТОМАТИЧЕСКИЙ ЗАВОД В НАРУЧНЫХ ЧАСАХ
Основное назначение автоматического завода в часах – сохранение относительного постоянства крутящего момента заводной пружины, что влечет за собою улучшение ходовых качеств часов. Специальный грузовой сектор перемещается от качательных движений руки. Перемещение грузового сектора через кинематическую цепь вызывает вращательное движение барабанного колеса., а следовательно, и заводного валика, который накручивает на себя заводную пружину.

Рис. 37. Кинематическая схема часов с автоматическим заводом
Конструктивных вариантов устройств автоматического завода: наручных часов существует много, но смысл их сводится к тому, чтобы грузовой сектор обеспечил завод пружины хода с минимальными потерями силы в кинематической цепи передачи. В этом узле должно быть минимальное трение в цапфах, плавный скат колес (не допуская стираний и заеданий в зубчатых колесах) и отсутствовать торцовое биение колес.
В процессе производства и эксплуатации автоматических часов;, выявились следующие их преимущества по сравнению с обычными механическими часами:
1) часы во время их ношения не нуждаются в заводе;
2) пружина заводится непрерывно, чем обеспечивается постоянство крутящего момента пружины и, как следствие этого, повышается точность хода часов;
3) устраняется опасность перекручивания пружины;
4) облегчается задача осуществления полной герметизации-корпуса часов.
Кинематическая схема часов марки «Родина» с автоматическим заводом и с центральной секундной стрелкой лишь незначительно отличается от схемы обычных наручных часов (рис. 37).
Грузовой сектор 1, жестко связанный с колесом 2, при качании ;;руки передает вращательное движение через зубчатую передачу 2 – 6 барабанному колесу 7. Между барабанным колесом 7 и барабаном 9 находится пружинящая скоба 8, через которую барабанное колесо 7 вращает барабан 9, заключающий в себе заводную пружину.
При отклонении грузового сектора в направлении вращения часовой стрелки (см. рис. 37) скоба проскальзывает по косым зубьям на плоскости барабанного колеса и барабана; при обратном отклонении сектора скоба, упираясь в эти зубья, обеспечивает совместное вращение барабанного колеса и барабана.
Заводные пружины для механизма с автоматическим заводом снабжены специальным фрикционным креплением, устраняющим разрыв пружины при перекручивании. Этот фрикцион изготовляют из закаленной стальной ленты, выгнутой по определенной кривой.
12. КОНСТРУКТИВНАЯ СХЕМА НАРУЧНЫХ ЭЛЕКТРИЧЕСКИХ ЧАСОВ
В последнее десятилетие в большинстве стран с высокоразвитой приборостроительной промышленностью ведутся интенсивные работы по созданию принципиально новой конструкции наручных часов – так называемых наручных электрических.
Поводом к созданию часов с электрическим регулятором колебаний явилась их способность работать с более высокой точностью, что объясняется применением в этих часах такого стабильного источника энергии, как электрическая батарейка.
Применяемые в часах электрические батарейки выполняются на основе окиснортутных соединений и обладают очень плавной разрядной характеристикой, сохраняя напряжение в течение периода работы практически постоянным. Вполне очевидно, что по сравнению с пружинным двигателем, обычно применяющимся в часах, электрический привод, питаемый таким стабильным источником энергии, обеспечивает высокую стабильность импульсов, что и способствует повышению точности хода часов.
Помимо указанного существенного преимущества, в наручных электрических часах значительно улучшена герметизация их корпуса, что также упрощает их обслуживание, исключая необходимость ежесуточной заводки.
В настоящее время известно несколько конструктивных вариантов наручных электрических часов, не имеющих в основном принципиальных конструктивных различий. Подобные часы выпускаются некоторыми фирмами США, Франции, Швейцарии и ФРГ.
Принципиальная схема наиболее распространенной конструкции наручных электрических часов показана на рис. 38.

Рис. 38. Принципиальная схема наручных электрических часов
В этой конструкции применен винтовой монометаллический баланс 1, обод которого имеет прорезь, в которой установлена треугольная миниатюрная катушка 10 с проводом толщиной неболее 15 мк. Один конец этой катушки соединен через волосок баланса с массой механизма, другой конец, изолированный oт массы, – с контактным штифтом, установленным в ролике, закрепленном на оси баланса (на схеме -не видны). Источник тока – батарейка 4 – установлен в гнезде платины 7 с помощью байонетной пружины 3, концы которой заведены в отверстия крепежных колонок 5 и 2. Корпус батарейки, являющийся одним из ее выводов, соединяется непосредственно с массой механизма, крышка батарейки, являющаяся вторым ее выводом и изолированная от корпуса батарейки, – с токосъемной пружинкой, изолированно закрепленной на платине механизма.
В электрическую цепь батарейка – катушка введены контакты 8, закрепляемые на платине часов специальным мостом 6.
На платине часов укреплен также магнитопровод 9, снабженный двумя цилиндрическими постоянными магнитами, выполненными из специального платино-колебательного сплава, что позволяет при относительно малых размерах магнита достигать весьма большой напряженности магнитного поля в зазоре магнитопровода.
При колебаниях баланса катушка, закрепленная на нем, проходит в зазоре магнитопровода. В тот момент, когда катушка входит в зазор, контактная пластина замыкается с контактным штифтом, установленным на оси баланса, и в катушку поступает ток от батарейки, создавая вокруг катушки электромагнитное поле. Взаимодействие этого поля с полем постоянных магнитов магнитопровода сообщает балансу импульс, поддерживающий его колебания.

Рис. 39. Бесконтактные электрические часы на триодах (принципиальная схема)

Рис. 40. Принципиальная схема камертонных часов
В наручных электрических часах баланс не только регулирует ход часов, но и является двигателем стрелочного механизма часов. С этой целью на балансе с помощью ролика закреплен эллипс аналогично тому, как это выполнено в обычных механических часах. При колебаниях баланса эллипс, взаимодействуя с зубцами миниатюрного храпового колеса, занимающего место ходового колеса в обычном механизме, вращает храповик, который с помощью обычной зубчатой передачи сообщает вращение стрелкам часов. Положение храповика фиксирует в этих часах миниатюрный постоянный магнит, установленный в платине часов, взаимодействующий с проходящими над ним зубцами стального храповика.
В заключение настоящей главы следует указать также на два новых типа электрических наручных часов, разработка -которых в настоящее время проводится весьма интенсивно. Это так называемые бесконтактные, или электронные наручные часы, известные пока по многочисленным литературным источникам, и яаручные камертонные часы, выпускаемые американской фирмой «Бюлов».
Бесконтактные часы созданы на базе миниатюрных полупроводниковых триодов, заменяющих в этих часах контакты, которые в вышеописанных электрических часах являются слабым конструктивным узлом механизма. На рис. 39 показана принципиальная схема бесконтактных часов фирмы «Филлипс». В этой конструкции баланс образован двумя магнитными дисками 9 и 10, закрепленными на общей оси 8, снабженной волоском 7. При колебаниях баланса диски проходят в зазорах сердечников 1 и 6, соответственно несущих катушки 2 и 5. При прохождении магнитного полюса диска 9 в зазоре сердечника 6 в катушке 5 наводится э.д.с., поступающая на базу полупроводникового триода 4.
База полупроводникового триода по принципу своей работы аналогична сетке обычной электронной лампы. При поступлении эдс на базу триод разрывается и пропускает ток от источника тока 3 в катушку 2, на которой создается электромагнитное поле.
Это поле взаимодействует с диском 10, сообщая балансу импульс. Колебания баланса в бесконтактных часах могут передаваться на вращение стрелок часов таким же способом, как и в контактных электрических часах.
На рис 40 показана принципиальная схема камертонных часов фирмы «Бюлова». На ножках камертона 1 укреплены стакано-образные магнитопроводы 2 к 3 с постоянными магнитами 4.
В зазор обоих магнитопроводов введены соленоидные катушки 5. При колебаниях камертона пружинка 6 перемещает храповое колесо 7 с фрикционной фиксирующей пружинкой 8.
Колебания камертона поддерживаются с помощью генераторной схемы, образованной конденсатором 9, сопротивлением 10, обмотками соленоидных катушек 11 и 12, включенными в цепь полупроводникового триода 13. Схема получает питание от источника тока 14.
Работа подобной схемы аналогична работе схемы бесконтактных часов. При сообщении камертону возбуждения в катушке 11 постоянный магнит наводит э.д.с., приложенную к базе триода 13, который проводит ток от источника 14 в катушку 12. Магнитное поле этой катушки, воздействуя на постоянный магнит камертона, поддерживает его колебания.



























