Текст книги "Записки строителя"
Автор книги: Александр Комаровский
Жанры:
Биографии и мемуары
,сообщить о нарушении
Текущая страница: 15 (всего у книги 15 страниц)
Приложение № 1
МЕТОД ЭЛЕКТРОГИДРОДИНАМИЧЕСКИХ АНАЛОГИЙ (ЭГДА)
Метод «ЭГДА» основан на аналогии, существующей между напорным движением грунтовых вод и движением электрического тока в проводнике.
Модель подземного водонепроницаемого контура гидротехнического сооружения вырезается из станиолевой пластинки и наклеивается на картон. В начале контура со стороны верхнего бьефа и в конце его со стороны нижнего бьефа (на пластинке) задаются электрические потенциалы от четырехвольтового аккумулятора (см. схему прибора).

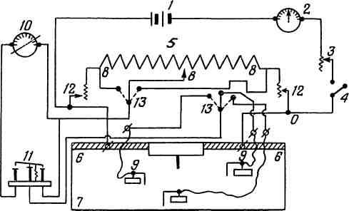
Схема установки «ЭГДА»:
1 – четырехвольтовый аккумулятор: 2 – амперметр; 3 – реостат; 4 – рубильник; 5 – реохорд (вращающееся градуированное сопротивление); 6 – зажимные шины; 7 – исследуемая пластинка (станиоль на картоне); 8 – подвижные контакты реохорда; 9 – стальные иглы в эбонитовой оправе для измерения потенциала; 10 – гальванометр; 11 – ключ с тремя контактами; 12 – реостат; 13 – переключатели
Изменением потенциала в любых точках контура и ниже его (т. е. в толще фильтрующей среды) определяется относительная картина распределения фильтрационного напора. Это измерение проводится путем вкалывания в интересующую точку иглы, соединенной проводом через схему мостика Уитстона (применяемую обычно для измерения сопротивлений) с гальванометром. Нажатием ключа гальванометр включается в цепь мостика. Последовательными передвижениями подвижного контура по обмотке реохорда стрелка гальванометра выводится на «0». Показание шкалы реохорда дает непосредственно величину фильтрационного напора в данной точке в долях полного напора на сооружение.
Процесс описанной работы не сложен, но требует большой тщательности. При проверке результатов ряда опытов (параллельным исследованием аналогичного профиля в гидравлическом фильтрационном лотке) расхождение с методом «ЭГДА» получалось от 5 до 10%. Таким образом, построение эпюр фильтрационного давления, полученного по методу «ЭГДА», дает материал, который может быть с успехом использован для практических целей.
Приложение № 2
ГАЗОЗОЛОБЕТОН
(по опыту строительства в Ангарске)
Состав газозолобетона (в кг на 1 м3): зола-унос черемховских углей – 600; портландцемент (марки 400) – 250; известь молотая – 25; гипс – 10; алюминиевая пудра ПАК-3 – 0,170; хлористый кальций (безводная соль) – 6—7; вода – 420.
Приготовление газозолобетона: в бегуны или растворомешалки емкостью 0,9 м3 загружают цемент, молотую известь, гипс и золу, заливают подогретую воду и раствор хлористого кальция. Вода подогревается настолько, чтобы обеспечить температуру смеси 35—40° С в момент формовки газозолобетона. Смесь перемешивается в течение 4 мин., после чего в смеситель заливается суспензия алюминиевой пудры, и смесь дополнительно перемешивается в течение 1 мин. до полной однородности, определяемой по исчезновению видимых следов алюминиевой пудры. Готовая смесь текучей консистенции в течение 5—6 мин. доставляется к подготовленным формам. Заливка смеси в формы в зависимости от объема панелей производится в 2—3 приема.
После формовки изделия выдерживаются в течение 1—1,5 часа. За это время происходит основная часть процесса газовыделения. Вспученная часть («горбушка») срезается с помощью металлической струны или уголка, поверхность затирается, производится электропрогрев изделий.
Электропрогрев изделий из газозолобетона осуществляется так: электроток подводится к обогреваемым панелям через поддон, который служит нижним электродом, и накладываемые на лицевую поверхность стальные сетки, являющиеся верхним электродом. Для обеспечения плотного контакта верхний электрод укладывается по слою полукокса, смоченного раствором хлористого кальция.
Режим электротеплообработки изделий: подъем температуры до 100° C в течение 4—6 часов и выдержка при этой температуре 10—12 часов.
Максимально допустимая температура прогрева газозолобетона 105° C, минимальная 90° C. Прогрев при температуре 90° C допускается как исключение, и длительность прогрева при этом увеличивается. К концу электропрогрева боковые грани, углы изделия и места около закладных частей должны быть по виду сухими. После окончания прогрева ток выключается. Верхняя плоскость изделий освобождается от электродов и тщательно очищается от контактного слоя. Снятый полукокс используется при последующих прогревах изделий.
Ангарский газозолобетон имеет следующие свойства:
– прочность на сжатие после электропрогрева не менее 50 кг/см2, спустя три месяца – 75—90 кг/см2;
– объемный вес в сухом состоянии 910—970 кг/м3;
– морозостойкость – не менее 25 циклов;
– влажность в воздушно-сухом состоянии не более 12—15%; максимальное водопоглощение (после 60—70-суточных погружений образцов в воду) 38—39%.
Известково-зольный безавтоклавный газозолобетон, используемый в Ангарске для производства теплоизоляционных плит, состоит (кг на 1 м3): зола-унос – 230; известь молотая – 150; алюминиевая пудра ПАК-3 – 0,6. Перемешанную массу с пластичностью гипсового теста и температурой 15—20° C заливают слоем 18—20 см в формы размером 1×0,7×0,45 м. В течение 15—20 мин. масса, вспучиваясь, заполняет форму на всю высоту. В последующие 40—45 мин. температура массы повышается до 40—50° C, и она приобретает первичную прочность, позволяющую резать блок на плиты.
Известково-зольный газозолобетон имеет объемный вес в сухом состоянии 400—500 кг/м3, прочность при сжатии 5—7 кг/см2.
Приложение № 3
ТЕХНОЛОГИЯ ПРОИЗВОДСТВА ИЗДЕЛИЙ ИЗ БУМАЖНОЙ МАССЫ
Для приготовления 1 кг бумажной массы (мастики) берется (в г):
Мел молотый – 450
Клей казеиновый марки ОБ – 200
Олифа натуральная – 100
Канифоль – 20
Бумажная пыль (кноп) – 200
Квасцы алюминиевые – 15
Глицерин технический – 15
В горячую кипяченую воду всыпают сухой казеиновый клей (половину нормы) и тщательно размешивают до исчезновения комков; засыпают мел, вливают олифу (половину нормы) и все тщательно перемешивают до получения сметанообразной однородной массы. Затем высыпают бумажную пыль (кноп) и остаток олифы с предварительно растворенной в ней канифолью; все вторично размешивают до получения однородной массы (канифоль перед смешиванием с олифой должна быть расплавлена). Затем вливают остатки разведенного в воде казеинового клея, растворенные в воде квасцы, глицерин и тальк. Смесь тщательно перемешивают, и масса готова.
Весь процесс замеса, который производится в тестомешалке или мешалке другого типа, длится 50—60 мин. Масса, покрытая мокрой тряпкой, может храниться в металлической таре 2—4 дня.
Для изготовления детали берут нужное количество мастики, месят ее с добавкой мела до получения густого теста и раскатывают в листы толщиной от 3 до 6 мм, в зависимости от рельефа детали. Затем листы поступают в формы. Формы могут быть клеевые и формопластовые. Клеевые формы предварительно смазывают стеарино-керосиновым раствором; формы из формопласта смазки не требуют. Раскроенный по размерам лист накладывают на форму и осторожно проминают пальцами по всему ее рельефу. Затем накатывают мастичные валики и прокладывают их в углубленные части рельефа и наиболее тонкие места. При необходимости (например, для вентиляционных решеток) закладывают проволочную арматуру, втапливая ее в мастику.
Для большей прочности тыльная сторона мастичных изделий оклеивается бумагой; в состав клейстера входит (на 1 кг) мучной смёт – 300 г, казеиновый клей ОБ – 100 г и вода – 600 г.
Пустоту, образовавшуюся с тыльной стороны детали, засыпают сухими опилками; накладывают щиток из фанеры и переворачивают форму вместе с изделием. Затем форму снимают, и изделие помещают в сушильную камеру. Сушка длится 8 час. при температуре 50—60°. После просушки деталь зачищается мелкой шкуркой.
Приложение № 4
СООРУЖЕНИЕ СКУЛЬПТУР, ОБЛИЦОВАННЫХ ЛИТЫМ КАМНЕМ
Изготовление крупных скульптур из железобетонных оболочек и металлического каркаса, облицованных литым белым камнем, представляет технический интерес из-за новизны как материала, так и методов изготовления самих скульптур.

Плитки из литого камня для облицовки скульптур
В главном корпусе МГУ на ризалитах (выше 100 м от земли) установлены четыре такие скульптуры – две статуи рабочего и две – колхозницы (высота их соответственно 7,6 и 9 м). В качестве облицовки применялись фасонные плитки из белого литого камня, изготовлявшиеся в мастерских управления отделочных работ. Для скульптур потребовалось 11 типов таких плиток.
Первоначально скульптуры были изготовлены в мастерских в натуральную величину из глины. С глиняных моделей были сняты обратные гипсовые формы с толщиной стенок 150 мм. Для удобства монтажа формы были разделены на восемь поясов высотой 90—95 см, разрезанных в свою очередь на 8—16 кусков. Куски форм для жесткости армировались проволокой, для соединения их между собой имелись направляющие замки и скобы.
После очистки от пыли и грязи внутренняя поверхность гипсовых форм выкладывалась плитками из литого камня. Они приклеивались к формам мастикой, состоящей из двух частей белого гипса и одной части растворенного в воде технического желатина. Гипс, вытесненный из швов между плитками, тщательно счищался, а пустые швы заделывались не на полную глубину раствором белого цемента и люберецкого песка.
Подготовленная таким образом черновая гипсовая форма, оклеенная плитками из литого камня, являлась наружной опалубкой для железобетонного остова скульптуры. Собиралась эта опалубка по поясам, которые при установке скреплялись вязальной проволокой. Швы между поясами заклеивались теми же плитками из литого камня и с наружной стороны загипсовывались. Во избежание распора свежим бетоном форма с наружной стороны, примерно на середине высоты пояса, охватывалась деревянным наружным кольцом из досок.
По мере установки на место поясов черновой формы монтировался внутренний металлический каркас из круглого арматурного железа. Стык арматуры делался внахлестку. Одновременно устанавливалась опалубка внутренней стороны оболочки из строительной фанеры по обычным дощатым кружалам.

Арматура верхней части железобетонного остова скульптуры
Для бетонирования оболочки применялся бетон прочностью 250 кг/см2 (с водоцементным отношением до 0,45; осадка конуса – 12 см), в узких сечениях – цементно-песчаный раствор 1 : 1. Бетон и раствор к месту укладки подавались скороподъемником в тачке с небольшим бункером. Перед укладкой производился электропрогрев бетона.
Бетонирование велось по поясам, причем установка форм и арматуры каждого верхнего пояса делалась после достаточного упрочнения бетона нижнего пояса. Уплотнение бетона велось глубинным вибрированием, а в узких местах – штыкованием. После окончания бетонирования четвертого пояса черновые формы нижних трех поясов разбивались.
Головы скульптур собирались и бетонировались отдельно, в теплом помещении (на 28-м этаже здания) и затем устанавливались на место с помощью крана.
Окончательная отделка скульптур производилась в теплое время и заключалась в очистке, заделке швов, вставке на растворе белого цемента отдельных плиток и т. д.
Приложение № 5
ЭЛЕКТРОСИЛИКАТИЗАЦИЯ
(применялась на строительстве в Навои)
В грунт непосредственно у обреза просадочного фундамента с помощью пневматических молотков забиваются пять инъекционных труб в одну линию в метре друг от друга на глубину 2,5—3,0 м.
К крайним трубам, т. е. к первой и пятой, присоединяются отрицательные полюса источника постоянного тока (например, умформер обычного сварочного аппарата, имеющий напряжение под нагрузкой 30—40 в). Положительные полюса этого же источника тока присоединяются ко второй и четвертой трубам.
Во все пять труб нагнетается при давлении от 1 до 3 атмосфер раствор силикатонатрия (удельный вес 1,13 г/см3). Роль второго компонента силикатизации в данном случае выполняют соли грунта. Гелеобразование заканчивается примерно через 2—3 часа, когда поры почти полностью закупориваются гелем и проницаемость грунта резко падает. После окончания нагнетания и извлечения труб скважины тщательно тампонируются.
В результате химической реакции на частицах грунта в пределах пор мгновенно образуется пленка геля кремнекислоты, которая интенсивно упрочняется через 15 суток и полностью затвердевает через 30 суток.
Радиус закрепления грунта вокруг одной трубы-инъектора зависит от коэффициента фильтрации грунта. Для ориентировки может служить следующая таблица:

Количество закрепляющего раствора в литрах Q, расходуемого на одну заходку инъектора, определяется по формуле Q = V3hk3, где V3 – объем закрепляемого грунта, h – пористость грунта в %, k3 – коэффициент (для песков – 5, для лессовых грунтов – 8, для плывунов – 15).
После окончания нагнетания первой захватки из пяти труб, т. е. примерно через 2—3 часа после начала нагнетания, трубы вытаскиваются и забиваются на те же расстояния далее по периметру фундамента.




























