Текст книги "О станках и калибрах"
Автор книги: Зигмунд Перля
сообщить о нарушении
Текущая страница: 12 (всего у книги 14 страниц)
Если мы располагаем неравноплечим рычагом с соотношением плеч 1 : 10, то перемещение конечной точке меньшего плеча на 0,1 миллиметра вызовет перемещение конечной точки большего плеча на 1 миллиметр. Легко представить себе, что таким путем можно получить и большие точности отсчета.

Внешний вид индикатора
Этот принцип был использован в конце XIX века для изготовления особого измерительного прибора – индикатора. Усовершенствование индикатора привело к созданию миниметра; этот прибор позволил проверять размеры с точностью до тысячных долей миллиметра. Он не указывает прямо размера той или иной измеряемой детали, а показывает лишь, насколько ее размер отклонился от заданного по чертежу, или отмечает совпадение размеров.
Измерение с помощью индикатора производится следующим образом. Индикатор закрепляют на стойке и под его мерительный шрифт подводят набор мерительных плиток с общим размером, равным размеру измеряемой детали, и путем регулировки устанавливают стрелку на нулевое деление шкалы. Затем плитки убирают и на их место устанавливают измеряемую деталь. Отклонение стрелки индикатора вправо или влево на определенное число делений показывает, насколько размер детали отклоняется от заданного.
Шкала миниметра имеет 20 либо 60 делений, которые нанесены черными штрихами на белом поле на расстоянии одного миллиметра друг от друга. В зависимости от условий работы, для которой предназначен прибор, «цена {152} деления» на шкале колеблется. Цена деления – это значение (в миллиметрах) отклонения величины измеряемого изделия от заданной, соответствующее передвижению указателя шкалы на промежуток между двумя соседними штрихами. Если цену одного деления прибора умножить на общее количество делений шкалы, то получается наибольшая величина отклонения, отмечаемая прибором. Для прибора с 20 делениями цена деления может равняться 0,02; 0,01; 0,005; 0,002 и 0,001 миллиметра. Соответственно величина отклонений размеров составляет 0,4; 0,2; 0,1; 0,04; 0,02 миллиметра. Для прибора с 60 делениями цена деления может равняться 0,01; 0,005; 0,002 миллиметра, а наибольшая величина отмечаемых отклонений размеров соответственно 0,6; 0,3 и 0,12 миллиметра.
Конструкция прибора основана на принципе использования рычажной передачи. Металлическая колодка снабжена У-образными канавками на верхней и нижней поверхностях, смещенными в отношении друг друга. В эти канавки сверху упирается неподвижная призма, а снизу – верхний конец мерительного стержня. Если мерительный стержень движется кверху, то происходит перекос колодки, и величина подъема стерженька будет показана на шкале движением стрелки, причем передвижение ее будет во столько раз больше передвижения стерженька, во сколько ее длина больше расстояния между осями мерительного стержня и неподвижной призмы. Все детали мерительного механизма отличаются высокой твердостью.
Шкала прибора не имеет нулевого деления, и исходным может быть любое положение стрелки на шкале. Прибор устанавливается по размеру проверяемого изделия с помощью калибра или образцового, точно {153} изготовленного изделия.

Схема устройства миниметра
Затем при проверке уже других, изготовленных по калибру изделий отклонение стрелки от начального положения показывает, на сколько фактический размер изделия отклонился от заданного. Как уже было сказано, наименьшая цена одного деления шкалы миниметра (может равняться 0,001 миллиметра. Фактический размер деления равняется одному миллиметру, поэтому легко отмечать отклонения, равные половине деления. Это дает точность измерения отклонения до 0,0005 миллиметра.
Наиболее употребителен в практической работе миниметр на колонке с плоской поверхностью установочного столика. Он служит для проверки призматических и цилиндрических деталей. Работа выполняется следующим образом. Контрольную плитку или калибр кладут на столик прибора. Держатель миниметра с мерительной головкой передвигают по колонке до тех пор, пока мерительный стерженек подойдет почти вплотную к калибру. Тогда держатель жестко закрепляется. После этого подают столик кверху с помощью нижнего микрометрического винта до тех пор, пока стрелка миниметра не установится на определенном делении шкалы. Специальный рычаг служит для приподымания мерительного стерженька перед установкой проверяемого объекта. Делается это осторожно. Когда прибор отрегулирован на определенное деление, калибр удаляют, и на столик устанавливают проверяемую деталь. Если деталь изготовлена точно, стрелка указателя покажет то же деление, на которое прибор отрегулирован. Если деталь «полнее», стерженек поднимется кверху, и стрелка отклонится вправо; если деталь меньше заданного размера, стерженек опустится, л стрелка отклонится влево. Если у данного прибора цена деления равняется 0,002 миллиметра, а стрелка отклонилась в ту или иную сторону, скажем, на десять делений, то это значит, что размер детали отклоняется от основного на плюс или минус 0,02 миллиметра. Если эти отклонения не выходят за пределы заданных отклонений, деталь годна; в противном случае деталь бракуется. Пределы отклонений от заданного размера обозначаются по обе стороны от деления шкалы специальными стрелками – указателями.
Цилиндрические детали просто прокатываются под стерженьком по столику, причем наибольшее отклонение {154} стрелки показывает, насколько диаметр изделия отклонился от заданного.
Для измерения листового металла применяется установочный столик шаровой формы, а для измерения проволоки применяется столик цилиндрический. Кроме того, в этом случае стерженек оканчивается не шариком, а правильной плоской поверхностью.

Ортотест – рычажный прибор с ценой деления 0,001 миллиметра
Этот прибор и другие, устроенные по такому же принципу, предназначены для наиболее быстрой и точной проверки, насколько правильны размеры массовой партии одноименных деталей.
Для деталей малых размеров применяются измерительные приборы, основанные большей частью на использовании и принципа рычага и оптического способа отсчета показаний.
Таким прибором, в котором использован оптический принцип измерения, является так называемый оптиметр. Источник света через сферическую линзу освещает шкалу с делениями. Отразившись, лучи проходят через призму, преломляются книзу и попадают на поверхность поворотного зеркала. В зависимости от передвижения стерженька прибора угол установки зеркала меняется, и лучи света возвращаются тем же путем в объектив, неся с собой изображение шкалы. Если поворотное зеркало находится в исходном положении, нулевое деление шкалы совпадает с контрольной меткой на окуляре. Если же поворотное зеркало качнется вокруг своей оси и займет новое положение, нулевое деление шкалы окажется где-нибудь вправо или влево от метки, а сама метка отложит на шкале величину (количество делений) отклонения.
Величина плеча рычага между опорной точкой мерительного стержня и осью качания зеркала и расстояние шкалы от зеркала подобраны таким образом, что перемещение мерительного стержня на один микрон {155} вызывает перемещение луча на шкале на одно деление, А это деление, в свою очередь, благодаря увеличительному приспособлению, представляется наблюдателю равным одному миллиметру. В результате микрон – одна тысячная доля миллиметра – отсчитывается по шкале с той же четкостью, с какой производится отсчет миллиметров. Наблюдатель может с достаточной точностью производить на глаз отсчет между миллиметровыми делениями. Поэтому на оптиметре доступна точность в одну пятую часть микрона или в две десятитысячных миллиметра.


Схема устройства и общий вид оптиметра
Существуют оптиметры с дополнительным проекционным приспособлением, которое позволяет наблюдать результат измерения на открытой шкале невооруженным глазом благодаря еще большему увеличению размеров делений шкалы. Прибор производит измерения деталей размером до 200 миллиметров. Для измерения деталей больших размеров тот же оптический принцип применяется в специальной мерительной машине с приспособлением для сравнения двух длин между собой. {156}
Следует отметить еще один прибор, применяемый главным образом для сравнительных измерений (как миниметр) и тоже соединяющий в себе два принципа – и механический рычажный и оптический. Этот прибор пригоден не только для лабораторных измерений, но и для обычного производственного контроля деталей в массовом производстве, например в автомобильном в том случае, когда необходимо соблюсти особо высокую степень точности обработки.


Схема устройства и общий вид микролюкса
Деталь устанавливается на специальную сменную подставку, которая меняется в зависимости от формы изделия. Мерительный стержень при подъеме или опускании действует на устройство, состоящее из системы рычагов, оптического стекла и вогнутого зеркала. Электролампочка слабого напряжения служит источником света, лучи которого собираются оптическим стеклом, направляются на вогнутую поверхность зеркала, отражаются от нее и попадают на матовый экран, «рисуя» на нем круглый яркий «зайчик», разделенный в середине черной горизонтальной чертой. «Зайчик» может «играть» и по всей длине экрана. На экране устанавливаются два указателя, которые на специальной шкале отмечают пределы допускаемых отклонений. Мерительный стерженек так отрегулирован, что при проходе под ним годные по размерам {157} детали вызывают игру «зайчика» в поле между указателями, а негодные – вне этого поля.
При контроле однородных по типу и размерам деталей даже малоквалифицированный рабочий в состоянии вести проверку со значительной быстротой. Система рычагов и оптических приспособлений обеспечивает тысячекратное увеличение показаний мерительного стерженька. Это значит, что движение стерженька вверх на 0,001 миллиметра отражается передвижением черты «зайчика» на полный миллиметр по шкале. Так как по ней также можно отсчитывать части миллиметра, то и на этом приборе доступно достижение точности, выражаемой десятитысячными долями миллиметра.
Новые средства точностиНо и на этом не остановилось развитие измерительной техники, особенно в нашей стране. Там, на крайнем западе Европы и в США капиталист-хозяин прикидывает, выгодно или невыгодно лично ему улучшить измерительную технику на своем предприятии. А наши машиностроители, наращивая темпы производства, озабочены тем, чтобы уже в процессе изготовления достигалась необходимая степень точности, чтобы на конечных участках была обеспечена самая надежная проверка готового изделия. Поэтому они требуют и получают от отечественной науки и техники все новые и новые средства точнейших измерений.
В столице нашей Родины успешно работает научное учреждение станкостроительной промышленности – «Научно-исследовательское бюро взаимозаменяемости». Оно чутко прислушивается к нуждам советского машиностроения и следит за тем, чтобы точность измерения не отставала от точности обработки. Пусть еще больше возрастут скорости резания, еще больше увеличится производительность автоматических линий станков, еще более разительны будут при этом требования к точности изготовления – и все же измерительные устройства должны «успевать ловить» малейшие отклонения от чертежа, точно определять их величину и с неумолимой строгостью отправлять в брак те изделия, размеры которых вышли за пределы допусков.
«Враг» точности – мерительная поверхность инструмента или прибора. В процессе измерения она изнашивается. {158} Приходится тщательно следить за тем, чтобы в какой-то момент инструмент или прибор не начал пропускать брак.
Но ведь как будто не существует неизнашивающихся поверхностей. Можно лишь уменьшить, замедлить процесс их износа, изготовив конечную часть мерительного стержня из наиболее твердого материала (алмаза или сверхтвердого сплава). Так обычно и поступают, если необходимо обеспечить длительную и надежную работу измерительного устройства.
Но оказалось, что можно вовсе устранить вредное влияние износа мерительной поверхности. Советские машиностроители создали прибор, в котором мерительная поверхность заменена... воздушной струей.
Все измерительные приборы обязательно располагают; пожалуй, самой главной своей частью – той, которая «ощупывает» измеряемые детали. Ее и называют иногда «щупом». Таким прибором невозможно измерять какой-нибудь размер во время работы детали или деталей, например, вала во время его вращения. Ведь движение детали через щуп будет в какой-то мере передаваться измерительному прибору, сотрясать его, результат измерения получится искаженным. Особенно недопустимо такое искажение, когда измеряется очень малая величина, выраженная всего лишь единичными микронами – самое ничтожное искажение превысит величину допускаемой неточности. Поэтому и в таких случаях лучше отказаться от прибора со щупом и воспользоваться той же воздушной струей. Вот почему машиностроители создали своего рода «воздушный микрометр».
Мы уже знаем, что в нашей стране для небольших машин с особо быстро вращающимися валами созданы «воздушные» подшипники – вал вращается в воздухе, между ним и стенками подшипника – тончайшая воздушная прослойка, зазор, своего рода воздушная «смазка». Толщина воздушной прослойки меняется во время работы вала и колеблется в пределах между 3 и 15 микронами. Допустим, что нам надо измерить эту толщину в тот момент, когда она достигла наименьшей величины – 3 микрона. Возможная ошибка, неточность измерения должна быть меньше одной десятой части этой величины, меньше 0,3 микрона. Вот с какой точностью должен работать воздушный микрометр при измерении зазора между валом и подшипником. {159}
Еще не так давно, когда хотели изобразить разительно малую длину, сравнивали ее с толщиной человеческого волоса. Это сравнение потеряло всякую убедительность. Ведь величина зазора в нашем подшипнике почти в 20 раз меньше толщины человеческого волоса, а величина допускаемой при измерении неточности – в 200 раз.
Как устроен воздушный микрометр?

Схема работы микрометра с воздушным поплавком: 1 – подвод воздуха; 2 – воздушный поплавок; 3 – конический сосуд; 4 – шкала
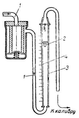
Представьте себе стеклянный сосуд в виде усеченного конуса.
Сосуд расширяется кверху. Снизу через систему регулирующих устройств подводится воздух под определенным и постоянным давлением. В сосуде струя воздуха расширяется и теряет давление – оно тем меньше, чем выше и больше каждое сечение конического сосуда. Внутри сосуда может перемещаться своего рода воздушный поплавок – он напоминает парашют: струя подведенного воздуха «дует» под его купол и заставляет «плавать» на каком-то определенном уровне без касания к стенкам сосуда.
Сверху от сосуда отходит трубка, которая через последующую систему регуляторов подводит воздух к измерительной головке и сквозь нее до выходного отверстия – сопла.
Предположим, нам надо проверить размер изделия в 5 миллиметров; верхний допуск – плюс 5 микронов, а нижний – минус 10 микронов. Из притертых мерительных плиток составляется сначала размер 5,005 миллиметра. Блок этих плиток подводится под измерительную головку таким образом, чтобы остался малый зазор определенной величины (например, в 1 миллиметр).
Теперь начинается подача воздуха от компрессора, и открывается отверстие выходного сопла. Расход воздуха через это сопло и зазор уменьшают величину давления воздуха в коническом сосуде и поплавок устанавливается на каком-то другом определенном уровне. Рядом с {160} коническим сосудом, параллельно его оси, расположена измерительная шкала и можно отметить то ее деление, на котором поплавок «замер».
После этого набор плиток убирается; составляется другой набор размером в 4,990 миллиметра и подводится под измерительную головку. Теперь зазор между срезом сопла и верхней поверхностью набора плиток увеличился на 10 микронов – значит, и скорость истечения воздуха из сопла увеличилась, а поэтому еще раз изменится давление в коническом сосуде; оно уменьшится, поплавок опустится еще ниже и «замрет» на другом уровне, а на шкале отметится соответствующее деление.
Получилось так, что на шкале отмечены пределы допусков измеряемой величины. Осталось убрать второй набор плиток и вместо него ввести под измерительную головку проверяемую деталь. Зазор между соплом и ее верхней поверхностью изменится в какую-то сторону – уменьшится или увеличится – и поплавок немедленно «почувствует» это, он переместится по оси конического сосуда и «замрет» на новом уровне. Если соответствующее деление измерительной шкалы окажется между двумя ранее отмеченными ее штрихами,– все в порядке, деталь правильно изготовлена; если же поплавок «подскочит» выше верхней отметки или «нырнет» ниже другой отметки, деталь неправильно изготовлена: в первом случае она «полнее» и ее еще можно «довести» до правильного размера, а во втором – она «запорота» и пойдет в брак.
Машиностроители научились сопоставлять величину перемещения поплавка по шкале с размерами измеряемых деталей (такое сопоставление называется «градуировкой» шкалы). Благодаря этому шкала воздушного микрометра не только показывает, насколько правильно, по допускам, изготовлена деталь, но и дает ее прямой размер. И, самое главное, этот размер указывается с удивительной точностью.
Вспомните, как работают рычажные и рычажно-оптические измерительные приборы. Они так устроены, что ничтожное изменение размера проверяемой детали вызывает в 50, 100, 200, 500 и даже в 1000 раз большее передвижение стрелки указателя по измерительной шкале. Поэтому легко отсчитываются изменения размеров даже в 0,5 микрона. Существуют и такие рычажно-оптические {161} приборы, в которых перемещение указателя в 16 000 раз больше величины изменения размера проверяемой детали Это значит, что можно отсчитывать изменение размера с точностью до 0,000025 миллиметра (до 1/ 40доли микрона, или до 25 миллимикронов).

Воздушный микрометр с окрашенным водяным столбиком (вместо воздушного поплавка): 1 – головка с выходным отверстием для воздушной струи; 2 – универсальная стойка; 3 – душный микрометр и проверяемый предмет; 4 – столик для проверяемых деталей; 5 – шкала; 6 – трубка с водяным столбиком
Воздушный микрометр отличается тем, что его поплавок также перемещается по шкале на расстояние, в 10—12 тысяч раз большее, чем величина, на которую изменился зазор между срезом сопла измерительной головки и поверхностью проверяемой детали. Поэтому и этот прибор измеряет с такой же точностью.
Бывают и такие воз душные микрометры, в устройстве которых поплавок заменен подкрашенной водой в тонкой трубке. Эта трубка соединена с сосудом, в котором меняется давление подаваемого воздуха; уровень воды – в зависимости от этого давления – понижается или повышается. Рядом с трубкой – градуированная шкала. Величина перемещения уровня воды в трубке отмечается делениями шкалы. Именно такой воздушный микрометр и применяется, когда необходимо измерить величину той тончайшей воздушной прослойки, которая служит «смазкой» в подшипнике машины, о которой шла речь. {162}
Еще в начале XX столетия для тончайших измерений в физике понадобилась единица измерения пространства, с помощью которой можно было бы выражать величины расстояний между атомами внутри вещества, длины световых волн и, особенно, рентгеновых лучей. Такая единица измерения была установлена размером в одну десяти-миллионную миллиметра – ее назвали «ангстрем». Так, например, длину волны красного света кадмия, равную 0,644 микрона, удобнее выразить в ангстремах: 6,44 ангстрема. Казалось, что применяемые в технике измерительные приборы никогда не «дойдут» до такой точности. Однако в наше время показания наиболее чувствительных рычажно-оптических приборов и воздушных микрометров можно выразить и в ангстремах. В самом деле, ведь 0,000025 миллиметра – это 250 ангстремов.
Остановилась ли на этом техника измерительного дела в (машиностроении? Практически, да! Даже для самых тонких измерений в промышленности нет нужды в большей точности. Но возможности измерительной техники позволяют еще и еще увеличивать степень точности.
Как-то недавно в американских газетах и журналах появилась крикливая реклама одной фирмы, занимающейся производством измерительных приборов для промышленности. На все лады расхваливался новый рычажно-оптический прибор, в котором изменение проверяемого размера отмечалось перемещением указателя по шкале на расстояние, которое было в 6 000 000 раз больше. Так как глаз опытного наблюдателя-контролера довольно легко мог «отметить» перемещение указателя на 1/ 4миллиметра, то это означало, что можно было осуществлять измерения с точностью до 1/24 000 000 миллиметра, или до 0,4 ангстрема (приближенно).
Но так случилось, что и у нас в СССР понадобился прибор такого же назначения, но еще более точный. И в научно-исследовательском бюро взаимозаменяемости было создано измерительное устройство, в котором каждому микроскопическому изменению размера соответствовало перемещение указателя по шкале на расстояние в 12 000 000 раз большее. Американская сверхточность была превзойдена в два раза. Если бы возникла практическая необходимость, советский прибор мог бы измерять с точностью до 1/48 000 000 миллиметра, или до 0,2 ангстрема. Величина этой точности в 1 500 000 раз меньше толщины человеческого волоса. {163}
Так наступило время, когда возможная точность измерения не только не отстает от точности изготовления деталей машин, но и намного опережает ее.
Машиностроители искали и находили много других способов точного измерения, особенно для затруднительных случаев, когда измеряемая величина трудно доступна или вовсе недоступна с помощью обычных инструментов и приборов. Они применяют для этой цели электрические и электромагнитные способы измерения и даже рентгеновские лучи и технику ультразвука. Рассказа обо всех этих чудесах измерительной техники нет в этой книжке. Автор не ставил перед собой цель описывать все виды измерительной техники или подробно растолковывать устройство тех приборов, о которых шла речь. Исключение сделано лишь для очень распространенных измерительных инструментов и приборов, которыми приходится пользоваться на каждом шагу в цехе, в мастерской.
Но о роли электричества в измерительной технике машиностроителей следует рассказать подробнее. Электричество оказалось наибольшей силой в деле создания высокопроизводительных автоматических линий станков. И оно же наилучшим образом приспособило к этим линиям измерительную технику, позволило создать «автоматических контролеров», сверхбыстрых и сверхточных.




























