Текст книги "О станках и калибрах"
Автор книги: Зигмунд Перля
сообщить о нарушении
Текущая страница: 11 (всего у книги 14 страниц)
В нашей стране часто бывает, что завод, которому поручено изготовление сложной машины с большим количеством входящих в нее трудоемких деталей, нуждается в помощи других заводов. Эти заводы-«помощники» непосредственно не связаны ни с основным заводом, ни между собой. Их связывают только чертежи заказанных деталей. И все же, когда чуть ли не с 10–15 заводов детали приходят на основной завод, из них легко собирают сложную машину. Такая сборка может быть осуществлена только благодаря тому, что размеры частей на чертежах снабжены «допусками». Что же такое «допуск»?
В повседневной жизни, определяя значения каких-либо величин (возраст, цена, размер, вес), мы часто {135} употребляем слово «около». Например: «Ему около сорока лет». Говоря так, мы заранее допускаем возможность ошибки в определении. Обычно в таких случаях подразумевается и допускается некоторое отклонение. Это отклонение не является строго определенным.
В технике же граница допускаемого отклонения устанавливается очень жестко. Делается это так.
В результате расчета получают размер нужной детали какой-либо машины. Это и есть номинальный размер. Изготовить деталь точно с помощью нормального калибра по номинальному размеру невозможно. Размер всегда получится несколько больше или меньше номинального. Чтобы отклонение не вышло из пределов, допускаемых в каждом отдельном случае, мы сами обычно назначаем допускаемые пределы отклонений в обе стороны. Зная верхний и нижний пределы данного размера, мы можем соответственно назначить и допуска для размера сопрягаемой детали и этим обеспечить взаимозаменяемость.
Если для размера валика диаметром в 15 миллиметров мы назначили допускаемые отклонения +0,05 миллиметра и –0,05 миллиметра, то это значит, что годными будут все валики, диаметры которых уложатся в промежуток между 14,95 и 15,05 миллиметра. Остальные попадут в брак, так как они либо не войдут в отверстие сопрягаемой детали, либо будут «болтаться» в нем больше, чем это позволяют условия удовлетворительной работы машины. Размеры «15,05» и «14,95» называются предельными размерами валика. Разность между двумя предельными размерами (а также сумма величин отклонений) называется «допуском» (общим). В нашем случае допуск равен: 15,05–14,95 = 0,1 миллиметра (или 0,05 + 0,05 = 0,1 миллиметра), а это значит, что можно позволить колебания в точности изготовления валика в пределах одной десятой миллиметра. Записывают размер так:
15 +0,05 –0,05
Учение о допусках не так уж молодо. Оно насчитывает около 60 лет своего существования. Постепенно стройная система допусков стала внедряться в промышленность. Но только с начала империалистической войны (1914–1918 годов) вместе с ростом производства на военных заводах внедрение работы по допускам пошло быстрыми темпами. У нас в СССР введена своя {136} система допусков, основанная на учете всего большого отечественного опыта.
Каким же образом «поймать» заданный в пределах допуска размер? Вот тут-то и приходит на помощь предельный калибр – измерительный инструмент, позволяющий «ловить» размер в пределах допускаемых отклонений даже в тех случаях, если эти отклонения выражаются в микронах.
Допуск в действииПредставим себе инструмент, похожий на букву X. В средней части этого инструмента обозначено 40,0 у одной из дуг – 0, а у другой минус 0,050. Это и есть предельный калибр – «скоба» – для измерения диаметров, номинальный размер которых равен 40 миллиметрам, допускаемое верхнее отклонение равно нулю, а нижнее – минус пятьдесят тысячных миллиметра, или 50 микронов. Весь допуск, таким образом, равен: 40,0 – 39,950 = 0,050 миллиметра, или 50 микронов. Расстояние между губками скобы с той стороны, где помечено 0, равно 40 миллиметрам, а с другой стороны – 39,950 миллиметра. Первая сторона называется проходной, вторая – непроходной, или браковочной. Валик годен, если скоба, повернутая к изделию проходной стороной, легко под тяжестью собственного веса надвигается сверху на валик, а повернутая непроходной стороной не надвигается, а только «закусывает» и не идет дальше (если скоба надвигается не сверху, необходимо очень легкое усилие). С помощью такой скобы рабочий и контролер имеют возможность, не обладая особой квалификацией, легко и быстро проверять размеры деталей. Если очень точно измерить забракованные с помощью предельной скобы изделия, то окажется, что их диаметры либо «полнее» 40, либо меньше 39,950 миллиметра.

Двусторонняя предельная скоба
Внутренний диаметр отверстий также проверяется предельным калибром-пробкой. Этот калибр состоит из двух измерительных пробок, насаженных на один {137} стержень-рукоятку. На средней части рукоятки нанесен номинальный размер, а на концах – допускаемые отклонения. Диаметр одной из пробок равен наибольшему предельному размеру кольца, диаметр второй – наименьшему предельному размеру. И здесь годными окажутся только те кольца, в которые первая (непроходная пробка) под тяжестью собственного веса калибра не войдет, а вторая (проходная) при тех же условиях войдет свободно.

Измерение предельной скобой; справа—проходная сторона скобы под тяжестью своего веса надвинулась на валик; слева—непроходная сторона скобы лишь „закусила” поверхность валика и дальше не пошла
Для каждого номинального размера с определенными допускаемыми отклонениями необходим специальный калибр (скоба или пробка), который уже не годится для того же номинального размера, но с другими допускаемыми отклонениями. В отличие от универсального инструмента (штангенциркуль, микрометр) эти калибры относятся к жестким измерительным инструментам. Первыми можно измерять большое количество разных по размеру деталей – они универсальны, вторыми же – детали одного размера, да еще с определенными допускаемыми отклонениями. Если рабочий, даже малоквалифицированный, пользуясь этим инструментом, точно выполняет правила обращения с ним, он не наделает ошибок.
Но существуют и нежесткие, переставные калибры-скобы и так называемые внутренние калибры, заменяющие пробки (их еще называют «регулируемые» калибры). {138} Переставные скобы широко применяются и дают возможность измерять несколько номинальных размеров (правда, в небольших пределах). Мерительные стерженьки этих скоб могут быть отрегулированы (переставлены) с помощью очень точных микрометрических винтов. Установочными винтами можно перемещать каждый мерительный стержень для получения нужного размера. Чтобы не допускать самовольной перестановки стерженьков, все устройство закрепляется таким образом, чтобы нельзя было сдвинуть винт.
Предельные калибры появились приблизительно между 1895—1900 годами. Примерно в это же время работа по новым калибрам была внедрена в России одним из крупнейших русских инженеров А. П. Бородиным.
Точность в 0,5 миллиметраМы уже знаем, что существуют не только «жесткие» мерительные инструменты – скобы и пробки, но и «универсальные», такие, которыми можно измерять различные размеры.

Размеры, проверяемые в изделиях различной формы
Такие инструменты нужны станочнику в цеховой обстановке на каждом шагу. В работе ему приходится проверять много различных по величине промежуточных размеров, а ведь калибры преимущественно служат {139} только для проверки окончательных размеров. Кроме того, жесткие калибры удобны, когда изготовляются в большом количестве одни и те же детали. Если же приходится в небольшой мастерской изготовлять единичные и различные изделия, удобнее пользоваться универсальным инструментом.
В зависимости от необходимой при этом степени точности применяется и разный универсальный измерительный инструмент.
* * *
Первым и простейшим таким инструментом еще в глубокую старину была линейка. В дальнейшем общая длина линейки стала все точнее соответствовать представляемой ею мере, а наносимые на нее деления становились мельче. Этим инструментом пользовались для измерения длины на протяжении многих веков. Применяют его и в наши дни.
Но линейка обладала недостатками, которые делали ее не вполне пригодной даже для нужд примитивной техники средних веков. Измерение с помощью линейки требовало очень кропотливой работы: нужно было очень тщательно прикладывать ее к измеряемому предмету, чтобы сколько-нибудь точно установить расстояние между предельными точками. Еще более трудно было измерять линейкой наружный и внутренний диаметры цилиндрического тела.
Эти затруднения послужили толчком к изобретению (в помощь линейке) кронциркуля и нутромера – двух мерительных инструментов, которыми уже располагали и древние мастера. Обе ножки кронциркуля подвижны вокруг общего шарнира и могут быть закреплены винтом в определенном положении одна относительно другой. Для измерения толщины или диаметра применяют кронциркуль, у которого ножки изогнуты вовнутрь. А нутромер развился из кронциркуля путем изгиба концов обеих ножек в противоположные стороны.
В настоящее время эти инструменты даже в усовершенствованном виде используются только для грубых измерений.
Доступная точность измерения с помощью линейки ограничивается величиной наименьшего ее деления – миллиметра. Если конечная точка измеряемой длины
{140}





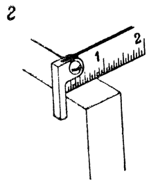
Измерение линейкой: а – линейку следует прикладывать ребром, а не плоскостью (под прямым углом); б – при измерении внутреннего диаметра цилиндрической детали ребро линейки должно пересечь центр окружности и край ее не должен при этом „уходить” ниже кромки отверстия; в – при измерении длины цилиндра – приложить линейку точно параллельно его оси; г – измерение малых толщин (буртиков, заплечиков, фланцев) производится с помощью линейки, снабженной скобой; д – для измерения глубины выемок, отверстий, пазов линейку соединяют со скользящей по ней колодкой
{141}
оказывается между двумя соседними делениями линейки, то приходится пренебречь неточностью и принять какое-нибудь одно из двух соседних показаний, или «на глаз» решить, какую часть деления следует учесть для более точного определения искомого размера. Обычно удается таким образом повысить точность линейки до половины величины ее наименьшего деления – до 0,5 миллиметра. Это и есть характерная степень точности современной линейки. И все же удается применить ее, пусть для грубых, но самых разнообразных измерений.

а

б

в
Измерение кронциркулем и нутромером: а – одну ножку кронциркуля прикладывают к начальному срезу линейки и отмечают штрих, которого коснулась другая ножка; б – чтобы установить нутромер на проверяемый размер, упирают одну ножку в плоскость у конечного среза линейки (приставленную под прямым углом), затем вращают установочный винт до тех пор, пока другая ножка не попадет на штрих того деления, которое отмечает заданный размер; в – при измерении диаметра отверстия разводят ножки нутромера до легкого касания со стенками
* * *
Самолеты и автомобили, тепловозы и корабли, тракторы и комбайны, турбины и двигатели внутреннего {142} сгорания, текстильные, обувные и другие рабочие машины – все они зарождаются и живут в воображении конструкторов до тех пор, пока их очертания не нанесены на бумагу в виде точно выполненных чертежей. Эти чертежи служат руководством и модельщику, который изготовляет модели для будущих отливок – заготовок деталей машины, и для самого литейщика, который по моделям будет отливать эти детали, и наконец, для рабочего-станочника, который обработает заготовку, превратит грубо намеченные в ней очертания будущей детали в точный ее профиль, соответствующий чертежу и проставленным на нем размерам. Этот профиль, соотношения размеров частей детали и их взаимное расположение – все это может быть выражено каким-то количеством проставленных на чертеже размеров. В цех к станку спускается рабочий чертеж – он служит руководством к обработке поданной заготовки или материала. На чертеже для некоторых изделий указывается не только их величина, но и степень точности допуска. Если размер выражен целым числом миллиметров или целым числом с половиной, его можно проверить линейкой.
Этот инструмент представляет собой узкую и тонкую стальную пластину. На одной из ее поверхностей – измерительная шкала, разделенная на миллиметры. Линия начального среза линейки принимается за нуль. Далее, через 10 делений, проставлены в последовательном порядке числа, обозначающие количество сантиметров.
Обычно пользуются линейками со шкалами в 20, 30 и 50 сантиметров (200,300 и 500 миллиметров). Бывает, что на них наносится и вторая такая же шкала, но в помощь глазам станочника ее миллиметровые деления разбиты средним штрихом на две половины по 0,5 миллиметра.
Точность в 0,1 миллиметраВ древние и средние века измерительная техника улучшалась очень медленно. Только в период мануфактур требования к точности измерительных инструментов несколько повысились. То, что не существовало такого инструмента, с помощью которого можно было бы непосредственно измерять величины, меньшие, чем самые малые деления линейки, очень задерживало развитие металлообработки. Нужда в таком инструменте ощущалась {143} остро. В первой половине XVII века появилось для этой цели очень простое и в то же время очень остроумное приспособление. Его назвали «нониус» по имени португальского монаха Нуньеса. Вне Португалии это имя произносилось – Нониус. Этот монах – ученый XVI столетия – предложил способ разделения на части угловой меры – градуса. Ничего общего этот способ не имеет с тем приспособлением, которое впоследствии позволило измерять доли наименьшего деления. Но... так случилось, что за этим приспособлением осталось название «нониус».

Штангенциркуль: 1 – основная линейка; 2 и 3 – губки линейки; 4 – рамка с нониусом; 5 и 6 – губки рамки; 7 – нониус; 8 – зажим рамки; 9 – микрометрическая подача рамки
В конце XVII века удалось создать усовершенствованную измерительную линейку – штангенциркуль. В те времена этот инструмент был еще очень грубым по своему устройству и изготовлению. Но он оказался предком современного штангенциркуля, с помощью которого машиностроители овладели точностью до 0,1 миллиметра.
На основной стержень штангенциркуля – линейку – нанесены сантиметровые и миллиметровые деления. Когда понадобилась еще большая точность, то по закону десятичности метрической системы пришлось разделить миллиметр на его десятые доли. Эта задача и решена путем соединения штангенциркуля с нониусом.
В чем же заключается способ измерения с помощью нониуса? {144}
Нагляднее всего его можно усвоить из примера измерения длины с помощью простейшего штангенциркуля с нониусом. Сначала ознакомимся с устройством этого инструмента. На стальной масштабной линейке с неподвижной губкой на конце скользит подвижная рамка, так называемый «движок», со второй губкой. В движке имеется прорезь или четырехугольное окошечко, которое позволяет видеть основную шкалу линейки. На краю нижней кромки окошечка (прорези) нанесена вторая маленькая шкала, состоящая всего из 10 делений; каждое из них по длине равно 9/ 10миллиметра, а длина всей шкалы, следовательно, равняется девяти миллиметрам. Это и есть нониус. Первый же штрих – нулевой – нанесен таким образом, что при сомкнутых губках он точно совпадает с нулевым штрихом основной шкалы и, следовательно, десятое деление нониуса совпадает с девятым делением основной шкалы. Вообще, если нулевое деление нониуса поставить против одного из любых штрихов линейки, то десятое его деление совпадает с девятым по счету от этого штриха делением линейки.
Если определяется размер какого-нибудь предмета, предположим, диаметр валика, то губки раздвигаются, валик вводится в просвет между ними; после этого подвижная губка подводится к валику до легкого соприкосновения с его поверхностью. Стопорный винт движка закрепляет губки в этом положении. Нулевая отметка нониуса укажет на основной линейке величину диаметра валика. Если эта отметка точно показывает целое количество миллиметров, то она и является результатом измерения.
Допустим, что нулевая отметка нониуса точно совпадала с восьмым миллиметром по основной шкале. Это значит, что диаметр валика равен 8 миллиметрам. Но если нулевая отметка нониуса окажется где-то между восьмым и девятым делением, то для установления размера приходится обратиться к помощи нониуса. Очень легко доказать, что все же какая-либо другая из десяти отметок нониуса обязательно совпадет с одной из отметок основное линейки.
Предположим, что размер валика нам известен и равен 8,6 миллиметра. Значит, первый (после нулевого) штрих нониуса отметит на основной линейке 9,5 миллиметра, второй – 10,4, третий – 11,3, четвертый – 12,2; пятый – 13,1 и, наконец, шестой – 14 миллиметров. Это {145} значит, что штрих шестого деления нониуса совпадет со штрихом 14-го деления основной шкалы. Если бы диаметр валика равнялся 8,8 миллиметра, то с каким-либо из делений основной шкалы совпало бы именно восьмое деление нониуса.

При сомкнутых губках штангенциркуля нулевое деление нониуса совпадает с нулевым делением основной шкалы
Отсюда вывод: если нулевая отметка нониуса не совпадает с целым числом миллиметров, то количество десятых долей миллиметра, входящих в измеряемую длину, определяется порядковым номером того деления шкалы нониуса, которое совпадает с каким-либо из делений основной шкалы. Измерив валик и установив, что нулевая отметка нониуса пришлась между 8-м и 9-м миллиметрами основной шкалы, определяем, какое деление нониуса совпало с делением основной шкалы, и, если таким делением нониуса оказалось именно шестое, говорим что диаметр валика равен 8,6 миллиметра. Справедливость этого можно доказать очень просто. Мы произвели наше примерное измерение и установили (для данного случая), что шестое деление нониуса совпало с 14-м делением линейки. Можно утверждать что «14» больше искомого диаметра валика на шесть делений нониуса. Но 6 × 0,9 = 5,4 миллиметра, следовательно, искомый размер равен: 14—5,4 = 8,6 миллиметра.
После того как глаза привыкают быстро читать показания инструмента, следует овладеть еще одним мастерством: когда опытный станочник или слесарь окончательно устанавливает подвижную губку с помощью регулировочного винта, он выполняет это легким движением большого и указательного пальцев. Как только подвижная ножка коснется поверхности измеряемой детали, пальцы чувствуют это и как бы сигнализируют мозгу: «стоп, довольно, дальнейшая подача ножки не только не нужна, но может исказить показание инструмента и даже повредить его». Развитие такого чувства меры – дело практики.
Штангенциркуль с нониусом – очень распространенный универсальный измерительный инструмент и в наши дни. С его помощью можно получить и большую степень точности – до сотых долей миллиметра, разбив шкалу нониуса на большее число делений. Но в основном историческая роль нониуса в развитии измерительной техники сводится к тому, что с его помощью мир приобрел возможность получать точность измерений до 0,1 миллиметра.
Точность в 0,01 миллиметраЕсли усовершенствованная масштабная линейка измеряет с точностью до 0,5 миллиметра, а обычный штангенциркуль с нониусом – до 0,1 миллиметра, го точность в 0,01 миллиметра достигается измерением с помощью микрометра. Это – измерительный инструмент, в конструкции которого используется микрометрический винт – винт с очень точно изготовленной нарезкой и очень малым шагом (расстояние между вершинами двух последовательных витков резьбы). Если гайка делает полный оборот по винту, она совершает линейное перемещение вдоль оси винта, равное его шагу; если же гайка повертывается, к примеру, только на 1/ 50долю полного оборота, она продвинется по оси на 1/ 50долю шага. При большой точности изготовления такого винта обеспечена и высокая точность соответствия между долей оборота гайки и линейным его перемещением. Этим и воспользовались машиностроители. Примерно в середине прошлого столетия они создали новый измерительный инструмент – микрометр, оказавшийся настолько совершенным, что его высокая точность даже опередила потребности машиностроителей того времени. {147} Этим, а также и трудностью его изготовления следует объяснить, что в течение 25 лет им почти не пользовались. Только с последней четверти прошлого века этот инструмент нашел широкое применение в измерительной технике. В значительной степени это было обусловлено теми требованиями, которые выдвигались развитием производства взаимозаменяемых деталей машин.

Измерение микрометром
Как устроен и работает микрометр? На одном конце стальной жесткой скобы вмонтирована закаленная «пятка» с очень точно обработанной мерительной поверхностью. Другой конец скобы переходит в цилиндрическую втулку – ее называют «стебель» микрометра. На внутренней поверхности стебля нарезаны витки очень точной мелкой резьбы. Стебель служит гайкой для микрометрического винта, который и перемещается внутри него. Таким образом, в микрометре гайка неподвижна, а винт вращается и перемещается по прямой линии. Ненарезанная часть этого винта (в виде цилиндрического стержня) проходит сквозь стебель и может передвигаться или по направлению к неподвижной пятке или, наоборот, уходить от нее. Срез стержня также представляет собой очень точно обработанную закаленную мерительную поверхность. Другой конец винта несет на себе жестко скрепленную с ним втулку; ее называют «барабан». Эта деталь вращается вместе с микрометрическим винтом.
Измеряемую деталь помещают в скобу микрометра между мерительной пяткой и торцом подвижного стержня. Вращая барабан, передвигают стержень к измеряемой детали до соприкосновения с нею.
Один оборот винта передвигает мерительный стержень на длину шага микрометрической резьбы – на 0,5 миллиметра. Всего на винте 50 витков такой резьбы: это значит, что мерительная поверхность стержня может переместиться на 25 миллиметров от своего исходного положения (такое положение бывает или тогда, когда микрометр раскрыт на полную величину своего предела измерения – 25 миллиметров, – или, когда мерительные поверхности стержня и пятки правильно сомкнуты). Чтобы можно было видеть, на сколько оборотов винта стержень удален от пятки, поверхность стебля разделена продольной горизонтальной чертой, а по ее обеим сторонам нанесены две шкалы. Одна из них – основная – состоит из 25 делений ценою каждое {148} в 1 миллиметр; другая – из 24 таких же делений, но ее штрихи смещены относительно делений первой шкалы на 0,5 миллиметра. Получается так, что каждый штрих второй шкалы разбивает на две половины каждое деление основной шкалы. За один оборот винта стержень перемещается на длину его шага – на 0,5 миллиметра – или на половину деления основной шкалы. На этой шкале первый штрих обозначен нулем. Далее (последовательно) обозначен своим порядковым числом конечный штрих каждого пятого деления; получается ряд цифр: 0—5—10—15—25.


Микрометрический винт (справа) и устройство круговой шкалы (слева)
Если представить себе полный виток резьбы микрометрического винта в развернутом виде, мы получим прямую линию; ее можно разделить на 50 равных частей. Один оборот винта – его вращение по одному витку резьбы – передвигает стержень на всю длину шага (на 0,5 миллиметра); если же повернуть винт только на 1/50 оборота или на 1/50 часть развернутой линии витка, то и перемещение стержня окажется в 50 раз меньше, оно будет равно 0,5:50 = 0,01 миллиметра.
50 делений окружности одного витка резьбы нанесены в виде шкалы на скосе барабана. Каждый из штрихов этой шкалы может быть совмещен с продольной линией на стебле микрометра. После этого поворот барабана на одно деление собственной шкалы передвинет стержень на 0,01 миллиметра. Теперь можно приступить к отсчету показаний микрометра. {149}
С продольной линией на стебле совпал один из штрихов круговой шкалы барабана. Начинаем с чтения показания шкалы на стебле: срез барабана как бы отсек определенную часть шкалы. Допустим, что ближайшее к срезу число на основной шкале «10»; затем на ней же видно еще два целых деления. Значит, уже ясно, что данный размер содержит 10 + 2 = 12 миллиметров. После 12-го деления, еще ближе к срезу барабана, едва виден штрих второй шкалы – значит, надо прибавить еще 0,5 миллиметра.
На глаз могло бы показаться, что это и есть точное показание микрометра – линия среза барабана как будто совпадает с линией штриха второй шкалы на стебле. Но... круговая шкала барабана во-время подсказывает станочнику, что глаза его обманывают. (Ведь тот штрих круговой шкалы, который отмечен нулем, не совпал с продольной линией на стебле. На сколько? На одно деление! Вот, если мы повернули бы барабан по часовой стрелке на это одно деление, тогда получилось бы полное совпадение линии среза барабана со штрихом второй шкалы. При этом отсеченный участок шкалы на стебле уменьшился бы на длину, соответствующую вращению микрометрического винта на 1/50 его оборота – на 0,01 миллиметра. Тогда и можно было бы считать, что результат измерения – 12,5 миллиметра. И во всех случаях, когда нулевой штрих круговой шкалы совпадает с продольной линией на стебле, результат измерения выражается или целым числом миллиметров или целым числом с половиной.
Но в нашем случае это не так: налицо несовпадение на одно деление, а это значит, что к величине 12 + 0,5 миллиметра следует прибавить еще 0,01 миллиметра; получится конечный результат: 12 + 0,5 + 0,01 = 12,51 миллиметра.
Бывают случаи, когда нужно измерить микрометром деталь, размер которой больше 25 миллиметров. Кроме того, приходится измерять иногда две и больше деталей в совмещенном виде, а их общий размер больше 25 или даже 50 миллиметров. Во всех таких случаях применяются микрометры с большим пределом измерения. Если деталь больше 25, но меньше 50 миллиметров, применяется микрометр с расстоянием в 50 миллиметров между пяткой и исходным положением стержня. Если деталь больше 50, но меньше 75 миллиметров {150} соответствующее расстояние равняется 75 миллиметрам. Могут, конечно, применяться микрометры и с большими пределами измерения. Но во всех случаях остаются только 50 витков резьбы с шагом в 0,5 миллиметра, и стержень выдвигается по направлению к пятке лишь на 25 миллиметров. Получается так: в обыкновенном малом микрометре мерительная поверхность стержня перемещается от 0 до 25 миллиметров; в микрометре с пределом измерения до 50 миллиметров и больше – га клее от 0 до 25, но к результату добавляется то чисто миллиметров, на какое величина предела измерения больше 25.
В устройстве современных микрометров предусмотрена на конце рукоятки стопорная гайка – небольшая накатанная деталь с пружинным и зубчатым механизмами внутри. Эту деталь называют «трещоткой». Вращая барабан, доводят мерительный стержень до наибольшего приближения к поверхности измеряемого предмета, но без контакта с нею; затем прекращают вращение барабана и начинают вращать трещотку, которая продвигает стержень ровно настолько, чтобы произошло правильное касание с измеряемым предметом. Как только усилие прижима стержня к этому предмету достигнет допускаемой величины, трещотка, сколько бы ее ни вращали, не продвинет дальше винта – она будет вращаться вхолостую.
Для того чтобы можно было закрепить мерительный стержень в каком-либо одном положении, служит особая деталь микрометра – зажимное кольцо.
Бывают микрометры для измерения ширины пазов или диаметра внутренних размеров деталей, для измерения глубины отверстий и пазов. Но устройство и способы применения всех разновидностей этого инструмента в основном очень схожи. С помощью микрометра можно «уловить» даже 0,001 миллиметра.
Но в цеховой обстановке для отдельных измерений такая точность редко может понадобиться; кроме того, для такой точности существуют другие, более совершенные, измерительные средства – приборы, о которых речь будет впереди. Поэтому микрометр был и остается основным инструментом для измерения с точностью до 0,01 миллиметра.
{151}




























