Текст книги "Круглые суда адмирала Попова"
Автор книги: Владимир Андриенко
Жанры:
История
,сообщить о нарушении
Текущая страница: 2 (всего у книги 4 страниц)
Общее устройство и особенности конструкции поповки
Набор корпуса «Новгорода» был выполнен по бракетной клетчатой системе и состоял из одинаковых радиальных шпангоутов и «круговых внутренних килей» – стрингеров. Закрытые внутренней и наружной железными обшивками они образовывали водонепроницаемое двойное дно, а с внутренней круговой переборкой – такой же борт, обеспечивая высокий, по тем временам, уровень непотопляемости корабля. Часть набора, специально усиленного, служила фундаментом для механизмов и котлов. Пояса наружной обшивки располагались вдоль, а внутренней – поперек судна, что позволило использовать при сборке обычные стандартные узкие листы, не прибегая к раскрою «из дорогостоящих больших листов». Броневые плиты борта ставились двумя поясами: нижний состоял из 178-мм плит, верхний – из 229-мм. Для упрощения подгонки плит по обводу корпуса, имевшему «двуйную погибь», их ставили вертикально, с одинаковой кривизной и снаружи обшивали деревянными чаками. Броня крепилась к обшивке на металлические швеллеры («коробчатое железо») и тиковую подкладку, приравненные по «силе сопротивления» к 51-мм плитам.
Круглый остов корпуса, с единственным выступом в корме, накрывался выпуклой палубой, состоящей из трех слоев железных листов. Внутренние листы имели толщину 19 мм, остальные – по 25,4 мм. Для удобства передвижения по палубе наружные ее листы получили специальную насечку. В центре монтировался круговой барбет, именовавшийся во всех документах «неподвижной открытой башней». Бронирование его осуществлялось аналогично верхнему поясу борта. Здесь устанавливались два 26-тонные 280-мм нарезные орудия конструкции Круппа. Каждая артиллерийская установка могла наводиться и стрелять самостоятельно; подача боезапаса производилась через центральный люк («трубу») в центре барбета, вокруг которого станки и перемещались, по специальным платформам.
В носовой части поповки возвышалась эллиптическая железная надстройка, игравшая роль небронированного надводного борта. В ней находились жилые помещения для команды, кают-компания и каюта командира, остальные моряки размещались на навесной палубе под надстройкой. Каюты механиков устроили прямо под башней. Боевой рубки поповка не имела. Ходовой штурвал и компас поставили на легких подмостках за барбетом, а «боевой штурвал» – под палубой, за шахтой светового люка. Образования палубы и малый надводный борт позволяли обойтись без шлюпбалок. Оба паровых катера, шести– и четырехвесельные ялы, поднимались на палубу с помощью салазок, снабженных роульсами, и устанавливались на откидных железных блоках в кормовой части корабля.
Силовая установка корабля состояла из шести горизонтальных паровых машин системы Вульфа и восьми огнетрубных цилиндрических котлов, размещенных симметрично диаметральной плоскости в двух котельных (КО) и двух машинных (МО) отделениях. Каждая из машин приводила в движение свой четырехлопастной винт Гриффита. Между котельными отделениями и двойным бортом находились угольные ямы. Основания дымовых труб и световой люк МО бронировались 152-мм плитами.
Вентиляция помещений осуществлялась наилучшим, по мнению конструктора, образом. Котельные отделения имели по два воздуховода, раструбы которых вывели попарно около дымовых труб, машинные – световой люк в корме. Предусматривалось, что естественная вентиляция будет производиться через люк в барбете, а искусственная – с помощью двух вентиляторных машин.
Все железо и большинство механизмов было отечественного производства. В Англии приобрели лишь паровой брашпиль и пожарную помпу для обслуживания водоотливной системы непроницаемых отделений корабля, предложенной лейтенантом С. О. Макаровым (система состояла из магистрального трубопровода, проходящего над вторым дном и соединенного отдельными шлангами со всеми отделениями).
Во время постройки поповка «выросла» в диаметре на 1,5 м. Это произошло из-за вертикальной постановки броневых плит, вызвавшей уширение корпуса при последующей его обшивке чаками, а затем и деревянной обшивкой. Сделать такую обшивку, а затем покрыть ее в подводной части медными листами предложил Главный командир Черноморского флота и портов вице-адмирал Н. А. Аркас. Все это успели выполнить прямо на стапеле. Заказанные Берду чугунные винты пришлось сменить на бронзовые. Для предохранения плоского днища от повреждений, при возможных посадках на мель, а также тля уменьшения размахов качки, поповку снабдили продольными наружными килями. В проекте их было 7, а при строительстве стало 12, высотой в 200 мм. В результате «улучшений» водоизмещение возросло на 400 т, а осадка более чем на 0,3 м.

«Новгород» после переделок, 1874 г.

«Новгород» в Стандфильском доке, 1878 г.
Испытания
Через три дня после спуска броне нос – сец развел пары и двинулся своим ходом. При половинных оборотах машин (62 об/мин вместо 100-120) и неопытной машинной команде поповка развила скорость в 6 уз. – «не хуже балтийских мониторов», победно докладывал А. А. Попов в Петербург. На официальных испытаниях, проведенных в самом начале августа, удалось выжать из корабля 7 уз. при 104 об/мин. Расход топлива при этом, в зависимости от качества угля, достигал 1,6-2 т в час. В полном объеме испытания так и не выполнили, торопясь подготовить «Новгород» к царскому смотру; не определив даже индикаторной силы машин, комиссия в спешке признала их удовлетворительными.
В начале сентября поповка перешла в Севастополь, где ее 11 числа посетил Александр 11 и Д. А. Милютин.
На создателей и экипаж удивительного корабля пролился дождь наград, а военный министр скептически записал в дневнике: «Не верится, что эта круглая машина действительно морское судно». Видимо, не верилось и Н. А. Аркасу, приставившему к «Новгороду» в первых плаваниях шхуну-конвоира, без которой поповку в море не выпускали. После торжественных осмотров на корабль наконец-то погрузили оба орудия. До конца месяца артиллерийская система была испытана и налажена. В ходе пробных стрельб главное внимание уделялось станкам и платформам конструкции генерал-майора Ф. Б. Пестича, впервые установленным в барбете. Испытаниями руководил сам конструктор. Во время первых проб выяснилась слабость стопоров станков, из-за чего они поворачивались при выстреле. Конструкцию немедленно усилили, но легенда о кружении поповки при стрельбе осталась... Перед русско-турецкой войной установили новые прицельные приспособления, а затем и приборы управления стрельбой на волнении («проводники Давыдова»). По данным артиллеристов, орудия «Новгорода» могли пробивать броню, равную их калибру, на дистанции до 4 кб. поэтому большинство стрельб выполнялось на малых дистанциях, хотя при угле возвышения ствола в 14,5° дальность полета снаряда достигала 23 кб. Темп стрельбы был крайне низким: если на поворот орудия на 180° уходило лишь 2-3 минуты, то на ручное заряжение – не менее 10 минут.
В октябре А. А. Попов начал экспериментировать с винтами, меняя их шаг. С помощью понтонов собственного изобретения ему удавалось приподнимать корму и переставлять лопасти. Заодно выяснялось поведение поповки на волнении. Один раз адмирал так увлекся свежей погодой, что чуть было не погубил собственное детище: легко взбегавшая на палубу вода через парусину, заменявшую верхний слой броневых листов и люк барбета начала потоками затапливать внутренние помещения. С трудом удалось уйти в Севастополь.
Всю зиму и большую часть весны следующего 1874 г. поповка простояла в мастерских РОПиТ. Здесь ее впервые подняли на эллинг: окончательно установили лопасти винтов (шаг их составил, считая от ближних в диаметральной плоскости – 3,05 м, 3,35 м и 3,66 м), в носу, сквозь двойной борт вмонтировали специальную «секретную» трубу для выдвижения шеста с миной.
Приспосабливая «Новгород» для морских переходов, развили надстройки на палубе: от барбета до кормы соорудили две новые каюты, а на их крышах – мостик, куда подняли штурвал и компас, защищенные от непогоды легкой рубкой. На новую палубу вывели кап светового люка и установили шлюпбалки для рабочих шлюпок. Клюзы якорей подняли на крышу носовой надстройки, по бортам которой раскинулись крылья ходового мостика. Через год ропитовцы передвинули эти крылья к дымовым трубам и соединили с кормовым мостиком. На центральный люк барбета водрузили большую вентиляционную трубу, а мачту-шест перенесли к передней стенке штурманской рубки. Тогда же, «за ненадобностью», сняли вентиляционные машины.
В начале 1874 г. первого командира «Новгорода», капитана I ранга И. К. Вогака перевели на «Петр Великий». Его сменил капитан-лейтенант К. Р. Бистром, бывший на поповке старшим офицером. Летом того же года «Новгород» единственный раз развил ход в 7,5 уз. Позднее, из-за несовершенной и некачественной силовой установки, скорость поповки была значительно ниже, а через два года уже ввели ограничения на давление пара в котлах. В 1875 г. начались длительные испытания корабля в море, проводившиеся по специально составленной А. А. Поповым программе. «Новгород» подолгу находился в плаваниях, осваивая театр будущих военных действий: совершил рейс на Кавказское побережье, а затем на Азовское море до Таганрога. На ходу корабль зарывался в волну, образуя в носовой части большой бурун, но качку имел, даже при сильном волнении, плавную и равномерную, с амплитудами не более 7-10°. В свежую погоду, особенно при противном ветре, броненосец значительно терял в ходе, а волны шли по подстройке. Ветром и течением «Новгород» сносило с курса, управляться приходилось только машинами. Весной 1877 г., во время учений у Очакова, поповка, снявшись с якоря, практически не могла двигаться при встречном 8-балльном ветре и течении. . . «В таких условиях придется действовать на якоре», докладывал командир отряда судов.

Постройка поповки в Николаевском адмиралтействе; справа эллинг № 7, слева, внизу, понтонный мост
«Вице-адмирал Попов»
На решение вопроса, какой быть второй поповке, ушло почти полтора года. С середины 1872 г. постройка «Киева» остановилась, о чем в ноябре последовал приказ управляющего министерством, со ссылкой на А. А. Попова, «…который предвидит необходимость, для улучшения поповки, сделать в ее постройке некоторые изменения указываемые опытом». 3 августа 1873 г. кораблестроительное отделение МТК рассмотрело проект практически нового корабля. Диаметр корпуса был увеличен почти на 6 метров, до предельных габаритов севастопольского эллинга. При более мощной силовой установке, поповка несла два 305-мм орудия, а борт и барбет прикрывала 457-мм броня. 13 августа последовало высочайшее разрешение на постройку второй поповки по новому чертежу, а в октябре она получила название «Вице-адмирал Попов» – редкая честь, ранее корабли первого ранга носили имена святых, членов императорской фамилии или громких побед русского оружия.
Осенью начали переделывать и укреплять стапель, на котором строился «Новгород», а прежние конструкции «Киева» разобрали. Предписание на открытие работ последовало 15 октября, но сборку начали только весной следующего года. Строителем остался капитан А. В. Мордвинов.
Железо изготавливалось на Райволовском, Камском заводах и на новом заводе Юза в Екатеринославской губернии. Знаменитая, в будущем, «Юзовка» с работой не справилась, металл проб не выдержал. Пришлось спешно дозаказывать железо в Райволо. Броню прокатывали ижорцы, а орудия делали на Обуховском заводе. Кроме заказанных еще в 1872 г. заводу Берда шести вертикальных паровых машин «компаунд» и восьми котлов, ему же поручили изготовить еще две машины и четыре котла по новой спецификации, а старые переделать.
Спуск корабля планировался на осень 1875 г., а испытания – на май следующего. Как и при строительстве первой поповки возникло множество независящих от адмиралтейства препятствий. Из-за поломки бронепрокатного стана на Ижорском заводе часть 178-мм плит пришлось заказать в Англии А. А. Попов сам выхлопотал, в виде исключения, разрешение на это «для скорейшего испытания нового типа судов». . . По опыту «Новгорода» и «Петра Великого» серьезные опасения вызывали поставки механизмов. В конце концов Морскому министерству удалось заставить работать машиностроителей «при чрезвычайных обстоятельствах», но подвела железная дорога, полтора месяца разыскивавшая годные для перевозки громоздких котлов платформы. Пришлось устанавливать котлы после спуска корабля, а для их погрузки прокладывать в течение месяца канал во льду реки для проводки в адмиралтейство плавучего крана.
Церемония закладки второй поповки в присутствии императора состоялась 27 августа 1874 г. В начале декабря прошли испытания на водонепроницаемость части второго дна от центра до 3-го кругового киля. В марте следующего года окончили сборку бимсов верхней палубы, а в конце апреля – испытания отсеков второго дна до борта. Спуск, несмотря на ряд недопоставок, откладывать не стали. 25 сентября 1875 г., в присутствии генерал-адмирала, вторая поповка сошла в воды Ингула. В торжествах принимали участие «Новгород» и деревянная яхта «Ливадия».
По конструкции корпус новой поповки был подобен первой. Броня устанавливалась по той же схеме, но верхний пояс борта и барбет покрывались плитами в два слоя: внутренний-178-мм, внешний – 229-мм. С тиковой подкладкой и швеллерами суммарная толщина броневого пояса достигала проектных 457 мм. Барбет защищался аналогичным образом.

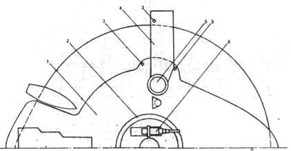
Общее расположение броненосца «Новгород»: а – план верхней палубы; б – вид сбоку; в – вид с кормы.
I – место размещения 87-мм орудия; 2 – штурманская рубка; 3 – шестивесельный ял; 4 – гребной винт; 5 – ходовой мостик; 6 – 280-мм орудие; 7 – центральный люк подачи боезапаса; 8 – носовая надстройка; 9 – донка; 10 – паровой котел;
II паровая машина; 12 – центробежный насос; 13 – пожарная помпа; 14 – кормовой мостик; 15 – мачта; 16 – вентиляционная труба над центральным люком барбета; 17 – киль; 18 – руль; 19 – кормовая надстройка; 20 – барбет


Делать броню двухслойной пришлось по той причине, что завод не мог прокатывать плиты толщиной более 229 мм. Восемь одинаковых вертикальных паровых машин двойного расширения, питаемые от двенадцати огнетрубных трехтопочных котлов, приводили в действие шесть винтов, на средние из которых работали по две машины на каждый. По опыту испытаний «Новгорода», эти винты имели больший, по сравнению с центральными и боковыми, диаметр (4,27 м против 3,20 м), гребные валы их были удлинены и опущены, так что лопасти винтов находились ниже уровня днища и работали в глубокой воде. Незащиненность винтов при швартовках или возможных таранных ударах вызвала предложение Э. Е. Гуляева поместить их в туннели, но, принимая во внимание назначение кораблей, от идеи отказались. Для прохождения с углубленными винтами мелководья Андрей Александрович советовал затапливать междудонные отделения в носовой части и «перепрыгивать» препятствие, либо стопорить средние винты в положении наименьшего заглубления, для чего они имели, в отличие от остальных, по три лопасти. Очевидно, что для увеличения, как тогда говорили, «движущей силы» А. А. Попов сознательно пожертвовал одним из достоинств круглого судна – малой осадкой.
Предлагая обеспечить второй поповке большую, по сравнению с «Новгородом», мореходность, адмирал в ходе строительства значительно расширил объем верхней надстройки. Теперь она представляла собой установленный на круглой платформе корпуса надводный борт обычного судна, палуба которого находилась на уровне открытой башни. От труб (более коротких и широких, чем на первой поповке) до срезов бортов простирались мостики, более приподнятые, чем на «Новгороде», из-за установленных в настройке четырех 87-мм пушек.
Предполагалось вооружить новый броненосец и бортовыми минными шестами, но по ряду причин от их устройства отказались. В кормовой части надстройки поставили шлюпбалки, для подъема аналогичных «Новгороду» штатных плавсредств; при стрельбе из главного калибра в направлении кормы катера приспускались на палубу.

Поповка «Вице-адмирал Попов», схема верхнего вида.
I – надстройка; 2 – барбет; 3 – место установки 87-мм орудия; 4 – боковой мостик; 5 ~ дымовая труба; 6 – 306-мм орудие

Поповка «Вице-адмирал Попов», продольный разрез 1 – гребной винт; 2 – паровая машина; 3 – барбет; 4 – паровой котел

«Вице-адмирал Попов» во время постройки
В конце июня 1876 г. «Вице-адмирал Попов» вышел на заводские пробы механизмов и сразу достиг скорости 8 узлов, о чем обрадованный адмирал тут же доложил руководству. Начавшиеся через месяц официальные испытания сопровождались постоянными поломками в машинах. После нескольких пробных рейсов из Николаева в Севастополь и обратно, комиссия все же приняла в августе поповку в казну. Правила приемки при этом, как и на «Новгороде», выполнены не были: полного хода не давали, опасаясь за механизмы, давление пара в котлах не превышало 4,2 атм.[* Тем не менее, расход топлива, в зависимости от качества угля, достигал 2,15-3,3 тонн в час.] Для одной машины сняли, правда, диаграмму при давлении 4 атм.: мощность оказалась равной 511 и. л. с. Зато, комиссия провела сравнительные испытания хода обоих круглых судов, показавшие малую эффективность действия крайних боковых винтов. При шести винтах «Вице-адмирал Попов» обгонял «Новгород», идущий полным ходом, на 1,75 узла, при четырех, без крайних, – также уходил вперед, теряя чуть более одного узла, при двух средних – хоть немного, но обгонял своего собрата. Без заглубленных винтов вторая поповка более четырех узлов дать не смогла. Сразу после этих опытов приняли решение снять боковые винты и машины с обоих кораблей.
Весьма неприятным обстоятельством оказалась ненадежность станков для новых 40-тонных орудий «Вице– адмирала Попова». По проекту предполагалось установить эти 305-мм орудия на «снижающихся» станках, позволявших прятать стволы после выстрела под защиту барбета. За основу взяли английскую систему, приспособленную под обуховские орудия. Этими разработками занимался лейтенант Л. А. Рассказов. По его чертежам всю систему заказали в Англии. Однако, из-за ожидаемого разрыва с Турцией и приведения Черноморского флота в боевую готовность, решили не рисковать и осенью 1876 г. установили орудия на металлических станках конструкции Ф. Б. Пестича, подобных станкам «Новгорода». Первые же стрельбы в октябре-ноябре того же года выявили их слабость. . Вдобавок при выстрелах получали повреждения надстройки, а корпус испытывал сильные сотрясения. Пришлось подкреплять и станки и надстройки и сам барбет. Для усиления последнего под палубой поставили еще одну круговую переборку, а между ней и башней устроили 6 офицерских кают.
Весной 1877 г. производились новые стрельбы в процессе боевой подготовки поповок. Щит буксировался на расстоянии до 15 кб от кораблей; «стрельба была весьма удачна. . .» рапортовал адмирал Н. А. Аркас. Командир «Вице-адмирала Попова» докладывал, что станки и крепления выдержали, но платформы орудий сильно бились друг о друга, надстройки и палуба имели повреждения.

Броненосец «Вице-адмирал Попов» перед спуском

Броненосец береговой обороны «Вице-адмирал Попов»
В русско-турецкой войне 1877-1878 гг.
Начавшаяся 12 апреля 1877 года война с Турцией в значительной степени охладила восторги поклонников круглых судов. Обе поповки вошли в состав «активной обороны Одессы», где и простояли на рейде почти весь период боевых действий. За 1877 год они совершили только три выхода: 27– 28 июля боевой поход к Килийскому гирлу Дуная, прикрывая перегон судов Нижне-Дунайской флотилии и два практических плавания, 25 июня в Очаков и 5 августа в море на испытания. Турецкие корабли лишь однажды показались на горизонте у Одессы, но до боя дело так и не дошло, хотя поповки снялись с якоря, направляясь к линии минных заграждений... Из-за свежих погод не состоялся новый выход кораблей к Дунаю в начале 1878 г. Не дошло дело и до перехода к Босфору для защиты предполагавшихся там минных заграждений.
Бездеятельность черноморских броненосцев на одесском рейде в начале лета 1877 г. и появление турецких военных кораблей в различных пунктах русского побережья вызвали «неудовольствие» генерал-адмирала. Он попытался активизировать действия поповок, вплоть до высылки их в море Для крейсерства, но натолкнулся на противодействие и вице-адмирала Н. А. Аркаса и начальника обороны Одессы контр-адмирала Н. М. Чихачева. Последний в своем рапорте писал, что «…прославить русский флаг в открытом море поповкам придется не иначе как ценой собственной гибели .. .» На основании собственных наблюдений и выводов специально созданной комиссии, адмиралы отмечали исключительно оборонительную роль этих кораблей, обладающих малым, по сравнению с турецкими судами, ходом, недостаточной мореходностью, ненадежными силовыми установками и небольшим радиусом плавания. Кроме того, Н. М. Чихачев докладывал, что из-за слабости орудийных станков второй поповки на практических стрельбах не решались «действовать полным зарядом. . . сберегая силу сопротивления станков. . . для случая крайней необходимости».
Действительно, обе поповки, несмотря на сравнительно удачные переходы морем, оставались кораблями узкой специализации – плавучими фортами. Обычный ход «Новгорода» не превышал пяти, а «Вице-адмирала Попова» – шести узлов. Кроме обросших корпусов, на скорость повлияло отсутствие надежной вентиляции котельных и машинных отделений: после гибели турецкого монитора на Дунае, предположительно от навесного огня, на обоих кораблях центральные люки барбета и световые люки накрыли бронекрышками с мелкими отверстиями, а вентиляционные трубы сняли. В результате температура в кочегарках подскочила до 40-50 °С, изнемогавшая от жары команда держать полный ход долго не могла, были случаи обморока кочегаров. Из– за той же вентиляции и отсутствия изоляции жилых помещений моряки не имели полноценного отдыха в сколь-нибудь продолжительном плавании в летнее время, а в холода страдали еще из-за отсутствия парового отопления. Время циркуляции рулем составляло на каждой поповке от 40 до 45 минут, так что маневрировать приходилось исключительно с помощью машин, соответственно снижая ход. В свежую погоду ход еще более уменьшался. Автономность поповок по топливу в лучшем случае составляла пять суток.
Руководство морским ведомством вынуждено было согласиться с представленными объективными оценками фактического состояния кораблей и оставить поповки для обороны Одесского водного района.
Для защиты приморских крепостей и минных заграждений от набегов турецкого флота черноморцам пришлось спешно приспосабливать баржи и небольшие пароходы РОПиТ в качестве плавбатарей и канонерок, а для усиления обороны Очакова и Керченского пролива строить броненосные плоты. Эти факты говорят о непродуманности программы строительства Черноморского флота, пусть и «оборонительной», но состоявшей только из поповок. Даже если бы их построили и четыре, то все равно понадобились бы и канонерские лодки для прибрежной обороны и для Дуная и, наконец, крейсеры, вместо которых приспосабливались грузо-пассажирские суда. И не вина изобретателя А. А. Попова, что предложенное им решение одной из проблем возрождавшегося флота было принято за единственное для всех, а имевшиеся казенные средства ушли на постройку экспериментальных кораблей. В конце концов, созданные специально для дополнения обороны приморских крепостей, они этой цели, по всем имевшимся данным, в большей или меньшей степени удовлетворяли. Виноват адмирал А. А. Попов, добившийся практически бесконтрольного воплощения своих идей в корабли, предлагавшиеся в качестве ударной силы возрождавшегося черноморского флота… В результате, бедная финансовыми средствами Россия изумила богатую Англию до такой степени, что в 1876 г. британские адмиралы и инженеры всерьез обсуждали вопрос о пригодности круглых судов для защиты метрополии.




















