Текст книги "Садовая мебель своими руками. Дешево, практично, стильно"
Автор книги: Сергей Кашин
Жанр:
Сад и Огород
сообщить о нарушении
Текущая страница: 5 (всего у книги 15 страниц) [доступный отрывок для чтения: 6 страниц]
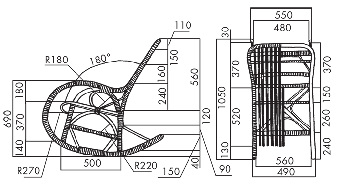
Выгните на шаблоне 6 заготовок и высушите их. Концы каждой заготовки срежьте на ус, а затем прибейте их по три с каждой стороны кресла, располагая рядом друг с другом. Прибейте подлокотники к дуге спинки на высоте 690 мм от пола, а также к передним ножкам на высоте 700 мм от пола. Чтобы усилить их прочность и обеспечить амортизирующий эффект, установите вставку из тонкой палки в их центральной части и прибейте ее гвоздями к верхней части подлокотника и боковой стойке рамки сиденья. После этого каркас готов.
Плетение сиденьяСначала установите стоячки основы на «барабанчик». Прутья для них заранее вымочите и установите на расстоянии 25 мм друг от друга. Их комлевые концы должны быть срезаны на протяжении 15 мм, а затем по очереди загнуты к «барабанчику». Можно прикрепить стоячки к нему навивкой.
Сиденье выполните простым плетением, которое начните снизу от «барабанчика». Укрепите нижние концы стоячков с помощью веревочки из трех прутьев и продолжите плести глянцевой лентой. Как только дойдете до передней палки рамки сиденья, загните стоячки под прямым углом, а затем продолжите плести на всю глубину сиденья (до задней палки рамки). Концы стоячков загните вниз и прибейте к рамке.
Плетение спинки и подлокотниковНа спинке и подлокотниках можно чередовать ажурное плетение со сплошным. Вымочите прутья для стоячков и прибейте их попарно к задней и боковым палкам рамки сиденья. На участок, где стоячки соединяются с рамкой, наложите строганую пластину и обвейте ее глянцевой лентой.
Низ стоячков укрепите веревочкой из четырех прутьев. После этого сделайте полосу столбикового ажура на высоту 100 мм от рамки сиденья и закрепите плетение веревочкой из двух прутьев, поверх которой наложите еще одну веревочку из четырех прутьев.
Выплетите ажур из ромбов на высоту 110–120 мм и закрепите его веревочкой из двух прутьев, а затем – из четырех. Сделайте столбиковый ажур полумесяцем. Его высота в центре должна составлять 60 мм. Скрепите ажур веревочками из двух и четырех прутьев. Оставшееся место заполните ажуром из ромбов. После того как плетение будет завершено, прибейте концы стоячков к дуге спинки и прикройте их пластиной, которую затем обвейте лентой.
Обвивка глянцевой лентой ножек и соединительных узлов нижней части креслаНачните обвивку с нижних концов ножек. Как только дойдете до крестовины, обмотайте ее до того участка, где от нее отходит прут подлучивания (рис. 156, а). Ленту следует затянуть петлей, а ее конец прибить к крестовине внизу с помощью маленького гвоздика.
Новую ленту прикрепите между концом крестовины и ножкой. Обвив ножку до упоров подстрелок, продолжите обвивку ножки между упором подстрелки и рамкой сиденья (рис. 156, б). Описанным способом обвейте подлокотники и дугу спинки. Не обвитые лентой участки каркаса зачистите и отшлифуйте. После окончания работы проверьте кресло на дефекты и при необходимости устраните их.
Форма и оформление кресла могут быть различными и зависят от ваших предпочтений и интерьера летней дачи, но принципы изготовления и способы крепления отдельных деталей друг к другу остаются прежними.

Рис. 156. Способы обвивки: а – нижних концов ножек и крестовины; б – ножек между крестовиной и рамкой сиденья
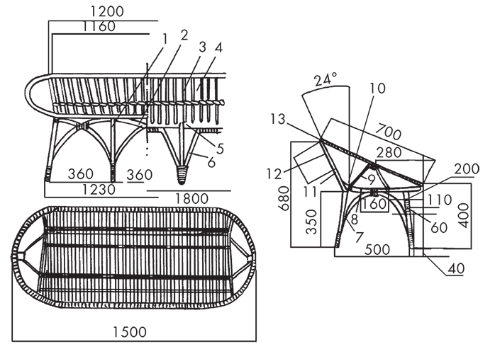
Кресла для отдыхаКресло для отдыха из мебельных палок (рис. 157) состоит из спинки, сиденья, подлокотников и нижней скамейки. Оплетка выполняется лишь на тех участках, где детали соединяются между собой. Одно из основных требований, выдвигаемых при изготовлении данного кресла, – высокое качество ивовых прутьев.

Рис. 157. Кресло для отдыха из мебельных палок (размеры указаны в миллиметрах): 1 – огибание верхнего прута спинки; 2 – верхний прут спинки; 3 – пластина, закрепляющая набор; 4 – прут набора; 5–7 – прутья подлокотника; 8 – прут крепления набора; 9 – подстрелка; 10 – передняя ножка; 11 – задняя ножка; 12 – поперечный прут сиденья; 13 – прут проножки; 14 – прут огибания проножки; 15 – боковая подстрелка; 16 – верхняя часть задних ножек; 17 – поперечный прут спинки
В качестве основы используется нижняя скамейка, состоящая из крестовины, четырех ножек, рамки сиденья, четырех подстрелок и проножки с огибающими ее прутьями. Спинка выполняется из верхних частей задних ножек, верхнего прута, прутьев набора и двух поперечных прутьев. Для изготовления жесткого сиденья применяются парные прутья, которые закрепляются на переднем и зад нем прутьях рамки сиденья, а также на его поперечном пруте.
Прутья набора передней части этой детали загибаются вниз, что обеспечивает дополнительную функциональность при эксплуатации. Для изготовления подлокотников кресла используются три прута. Благодаря их ширине и высоте кресло является не только удобным, но и прочным.
Сборка каркаса начинается с нижней скамейки. Прикрепите ее ножки к рамкам сиденья и проножке-крестовине. Последнюю следует затем обвести тонким прутом. Теперь установите подстрелки, верхний прут спинки и ее поперечные прутья, поперечный прут сиденья, а затем закрепите выгнутые и высушенные на шаблоне подлокотники. В передней части кресла прикрепите их к переднему пруту с помощью гвоздей, а сверху – к верхним концам задних ножек. Комлевые концы подлокотников необходимо прикрепить к боковым подстрелкам.
После того как основные прутья подлокотников будут установлены, закрепите прутья для оформления, прутом-упором обогните верхнюю часть спинки, соединительные узлы каркаса обвейте ивовой лентой и закрепите прутья набора спинки и сиденья. Последние затем оплетите, хорошо просушите изделие и покройте его лаком.
Чтобы кресло было удобным, сделайте сиденье с мягким элементом, в качестве которого можно использовать накладную подушку. Такая модель будет состоять из ножек, каркаса и рамки, формирующей спинку и подлокотники.
Спинки и подлокотники в данном случае являются замкнутой рамкой, переходящей в переднюю кромку сиденья. В качестве вертикальных прутьев спинки используются верхние концы задних ножек. Между вертикальными прутьями спинки следует поместить еще две стойки и прикрепить к ним горизонтальные прутья набора.
Проножка и спинка у данной модели имеют некоторые конструктивные особенности. Спинка отличается большой высотой и имеет поперечное направление прутьев набора. Подлокотники, напротив, низкие и являются растяжной для спинки. Проножка выполняется в форме подковы. Для этого прутья выгибаются на шаблоне и тщательно высушиваются.
Начните сборку изделия с нижней скамейки каркаса. Соедините ножки с рамкой сиденья и проножкой. Рамку сиденья сделайте заранее: придайте ей трапециевидную форму и соедините прутья на ус. Изогнутую часть проножки прикрепите к задним ножкам с помощью гвоздей. Торцевые концы «подковы» соедините впритык с передними ножками, сделав дополнительный обхват.
Чтобы передние ножки изделия не расходились, установите на проножку поперечную стяжку и прибейте ее гвоздями, выполняя обхват. Дугу спинки предварительно сформируйте, используя шаблон, а затем прикрепите ее к верхним концам задних ножек на косой срез. После этого ее следует обвить лозовой лентой.
Между вертикальными прутьями спинки установите две дополнительные вертикальные стойки, предназначенные для крепления прутьев набора. Изготовьте подлокотники, выплетите спинку и сиденье и спинку из прутьев контрастных цветов. Наборные прутья сиденья установите в продольном направлении. Все детали, за исключением наборных прутьев и частей подстрелок, отходящих от каркаса, обвейте лозовой лентой.
Простое дачное кресло (рис. 158) имеет отличную от описанных выше моделей конструкцию нижней скамейки. В ней нет передних и задних ножек (они изготавливаются из отдельных прутьев) и рамки сиденья.
Процесс изготовления данной модели начните с выгибания элементов нижней скамейки, дуг подлокотников и рамки спинки. В конструкцию нижней скамейки входят четыре ножки в форме дуг, скрепляющиеся между собой нижними концами после предварительного выполнения на них косых срезов.
Так как рамка сиденья в этом кресле отсутствует, средние и боковые дуги следует прибить к дугам ножек. К их концам крепится рамка сиденья и спинки. Последняя объединяет все детали сиденья, нижней скамейки и спинки.

Рис. 158. Простое дачное кресло (размеры указаны в миллиметрах): 1 – прут набора; 2 – рамка спинки и сиденья; 3 – проножка; 4–6 – дугообразные передняя, задняя и боковая ножки; 7 – поперечный прут каркаса; 8 – дуга спинки и сиденья
Для придания изделию дополнительной жесткости необходимо установить прутья набора сиденья и спинки поперечно. Изготовление этого кресла завершается обвиванием всех лицевых поверхностей лозовой лентой. Лаком покрываются только дуги сиденья и спинки. Что касается прутьев набора, их следует лакировать и сушить до плетения.
Кресла-качалкиПринципы изготовления плетеных кресел-качалок (рис. 159) имеют свои особенности, о которых будет рассказано ниже. Основным требованием в данном случае является удобство, поскольку это изделие предназначено для отдыха. Кресло-качалка – достаточно большой предмет мебели, но в то же время оно не должно выглядеть слишком громоздко. Следует придать ему изящный, эффектный вид и гармонично вписать в обстановку комнаты для отдыха на вашей летней даче. Соблюдение данного условия напрямую связано с параметрами кресла-качалки, которые представлены в табл. 2.

Рис. 159. Различные варианты плетеных кресел-качалок
Таблица 2
ОПТИМАЛЬНЫЕ РАЗМЕРЫ КРЕСЛА-КАЧАЛКИ

Чтобы изготовить кресло-качалку, вам потребуется качественный материал: палки диаметром 30 мм в комлевом срезе и прутья диаметром 6–10 мм. Помимо этого, необходимо иметь в наличии строганые пластины и лозовые ленты. Конструкция кресла-качалки должна отличаться прочностью, чтобы изделие не расшатывалось в процессе эксплуатации. Для придания каркасу дополнительной жесткости необходимо закрепить в его нижней части систему треугольников. Она образуется подстрелками, подлучками, кольцами и элементами другой формы. С передней стороны изделия устанавливается подножка (на нее можно будет опираться стопами), которая может быть как выдвижной, так и стационарной. На рис. 160 показана конструкция простейшего и в то же время удобного кресла-качалки.

Рис. 160. Несложная конструкция кресла-качалки (размеры указаны в миллиметрах).
Кресло-качалка из мебельных палок (рис. 161) изготавливается, как и предыдущая модель. Отличие заключается в наличии до полнительных деталей – полозьев и элементов для их крепежа. В первую очередь изготавливается каркас изделия, в котором укорачиваются ножки. После этого установите проножку, которая огибается прутом. Внутренний полоз прибейте впритык к торцам ножек гвоздями и дополнительно закрепите обхватом. Затем установите проножку в форме дуги, фигурные вставки полозьев и подножки, боковые подстрелки, задний и передний прутья-упоры сиденья. Далее соберите сиденье и закрепите подлокотники. Все соединения деталей оплетите лозовой лентой по обычному принципу. Сборку кресла-качалки завершите установкой наружного полоза.
Диваны, топчаны и кушетки
По своей конструкции плетеный диван отличается от обычного наличием дополнительной пары ножек, которые устанавливаются посередине сиденья. Это усиливает прочность изделия и предотвращает его прогибание под тяжестью людей.

Рис. 161. Кресло-качалка из мебельных палок (размеры указаны в миллиметрах): 1 – прут огибания верхнего прута спинки; 2 – верхний прут спинки; 3–5 – прутья подлокотника; 6 – прут набора; 7 – рамка сиденья; 8 – дугообразная подножка; 9 – подстрелка; 10 – задний поперечный прут; 11 – фигурная вставка; 12 – прут сиденья; 13 – прут огибания проножки; 14 – прут проножки; 15 – внутренний полоз; 16 – наружный полоз
Плетеные диваны бывают жесткими и мягкими. Основа последних изготавливается так же, как и для другой плетеной мебели, имеющей мягкие элементы (выплетается щиток сиденья, на нем выполняются мягкие элементы). Высота передней средней ножки изделия должна равняться расстоянию от сиденья до пола, а высота задней средней ножки – высоте задней боковой ножки. Иногда размеры средней и боковой задних ножек не совпадают.
Проножки на каркасе дивана устанавливаются в виде крестовины либо тавровые. Первые собираются из двух целых палок, которые углом упираются в средние ножки, а вторые составляются из поперечных и продольной палок. Поперечные палки нужно прибить к ножкам впритык, а продольную, длина которой равна длине дивана, соединить внакладку с подрезкой со средней поперечной полкой и впритык с боковыми палками.
Размер сиденья выбирается в зависимости от самого изделия. Например, у трехместного дивана длина сиденья составляет, как минимум, 1300 мм, а у двухместного – не менее 1000 мм. Высота дивана может быть от 650 до 1150 мм, глубина сиденья – 450–550 мм, угол отклонения спинки – 10–18°.
На рис. 162, а показан вариант рамки двухместного дивана. Ее задняя часть может быть выполнена из цельной палки либо из двух половинок, которые необходимо застрогать на ус и срастить. Собранный каркас изделия показан на рис. 162, б. Он отличается от других модулей тем, что нижние концы передних ножек расставлены в стороны таким образом, что расстояние между ними на 3 см больше ширины рамки сиденья.

Рис. 162. Рамка сиденья (а) и каркас двухместного дивана в собранном виде (б)
Крестовину можно изготовить по любому принципу (рис. 163, а), но скреплять ее следует так же, как крестовину кресла: прибить к ножкам с помощью гвоздей, дополнительно укрепив подстрелками и подлучками.
Художественное оформление изделия зависит от вашего вкуса и интерьера комнаты, в которой оно будет находиться. Ниже рассмотрен один из вариантов – плетение валиком.
Застрогайте внутренние стороны верхних концов передних ножек, прикрепите к ним застроганные концы вымоченной палки небольшой толщины (которая предварительно должна быть согнута дужкой), а второй конец палки соедините с верхним концом ножки (рис. 163, б). Обвейте лозовой лентой ножки и участки, где соединяются детали, а затем приступайте к плетению сиденья и спинки.
Ажурное плетение спинки следует закончить веревочкой. Используя оставшиеся выше нее стоячки, сделайте полосу рядового плетения шириной 6 см. Выше нее (с внешней стороны изделия) прибейте обруч, согнутый из палки. Его форма должна соответствовать форме боковой и задней частей рамки сиденья, а размеры должны быть больше в глубину настолько, чтобы угол отклонения готового изделия составлял 10–18°. Обруч прибейте к передним ножкам и прикрепите сзади к нескольким стойкам. Последние загните вниз (рис. 163, в) и выполните рядовое плетение. Одновременно с этим загните валиком все плетеное полотно, прикрепляя его к прибитому обручу. На рис. 164 представлены другие варианты плетеных диванов, которые можно поместить на веранду или в комнату отдыха.
Трехместный диван (рис. 165) изготавливается из мебельных палок. Основа каркаса состоит из передних ножек-подлучек, а задние ножки фиксируются к продольному пруту и соединяются между собой с помощью подстрелок. Задние и передние ножки скреплены между собой подлучками. Спинка и сиденье изделия являются одним целым и состоят из дугообразных прутьев спинки и сиденья, рамок в форме вытянутого овала и поперечных прутьев. Настил спинки и сиденья выполните из парных наборных прутьев.

Рис. 163. Изготовление дивана: а – крестовина; б – дужка; в – плетение валика

Рис. 164. Варианты плетеных диванов для веранды и комнаты отдыха
Рамку сиденья и спинки, как и все места соединений, оплетите лозовой лентой.
Двухместный диван (рис. 166) имеет нижнюю скамейку, в которую входят три передние и три задние ножки, две проножки-крестовины и задний продольный прут, скрепляющий нижнюю часть каркаса на уровне проножки. Сиденье составляют рамка и поперечные прутья, к которым прикрепляется настил. Для изготовления последнего применяются сдвоенные прутья, которые располагаются поперек сиденья.

Рис. 165. Трехместный диван (размеры указаны в миллиметрах): 1 – передняя ножка; 2 – передняя подлучка; 3 – обвивка; 4 – прут набора сиденья и спинки; 5 – продольный задний прут нижней части каркаса; 6 – задняя подстрелка; 7 – боковая подстрелка; 8 – прут сиденья; 9 – подстрелка подлокотника; 10 – боковой дугообразный прут сиденья и спинки; 11 – продольный прут спинки; 12 – задняя ножка; 13 – верхний прут спинки
Спинка формируется из верхних концов задних ножек, вертикальных прутьев крепления настила, прутьев самого настила и из верхней рамки сиденья. Подлокотники прикрепляются к верхней рамке спинки и верхним концам боковых передних ножек.
Передние ножки дивана с низкой спинкой и ажурным плетением вырезаются из прямых палок и устанавливаются отвесно. Задние ножки изгибаются у рамки сиденья и закрепляются таким образом, чтобы их верхние концы были расположены на одной отвесной линии с верхними. Затем между передними ножками устанавливается подлучка. Царга должна быть широкой. Она обтягивается вместе с сиденьем одним плетеным полотном из лозовых лент.

Рис. 166. Двухместный диван (размеры указаны в миллиметрах).
Спинка выплетается из тонких ивовых прутьев. При этом сверху и снизу идут полосы сплошного плетения, а между ними выплетается ажур из ромбов. Каждая полоса сплошного плетения закрепляется веревочкой с обеих сторон. Ножки изделия от царги до пола и концы проножек обвиваются лозовой лентой. Дуги спинки и подлокотников и передние боковые ножки расширяются путем установки палочных дужек, а затем оплетаются лозовыми лентами.
Вместо дивана на веранде летней дачи можно поставить небольшой топчан (рис. 167), который при необходимости можно легко переставить на другое место. В конструкцию этого изделия входят продольные прутья рамки и каркаса, ножки, подстрелки, поперечные прутья рамы и настил. Несмотря на простоту изготовления, такой топчан отличается прочностью и жесткостью.
Начните сборку изделия с рамы каркаса, которая состоит из двух продольных прутьев длиной 1180 мм, двух крайних поперечных прутьев длиной 640 мм и пяти промежуточных поперечных прутьев длиной 450 мм. Диаметр всех прутьев для рамы – 30 мм.
После того как рама будет собрана, прибейте к ней ножки, а затем установите передние, задние и боковые подстрелки. Настил соберите из 11 пластин толщиной 6–7 мм и шириной 7–8 мм. Завершающий этап работы – оплетение всех участков сочленений деталей лозовой лентой.
По своим размерам кушетки (рис. 168) не отличаются от кресел для отдыха. Их длина составляет 1800 мм, ширина – 700–800 мм, высота – 600 мм с подголовником и 400–450 мм без него, ширина подголовника – 200 мм.
Каркас изделия выполняется из мебельных палок и состоит из нижней и верхней прямоугольных рам и дна. Последнее заполняется сплошным плетением или оформляется способом набора полос плетения, каждая из которых закрепляется веревочкой с обеих сторон и прибивается гвоздями к каркасу. Участки, в которые вбивались гвозди, оплетаются лозовой лентой.
Ножки прибиваются к рамам, пространство между которыми заполняется плетением. После этого ножки попарно скрепляются подлучками и подстрелками, установленными поперек кушетки. Участки сочленения палок каркаса и ножек обвиваются пластинами и обматываются лозовой лентой.

Рис. 167. Топчан (размеры указаны в миллиметрах): 1 – передняя подстрелка; 2 – продольный прут рамы каркаса; 3 – задняя подстрелка; 4 – ножка; 5 – боковая подстрелка; 6 – обвивка; 7 – поперечный прут рамы каркаса; 8 – пластина набора
На рис. 169 показан вариант кушетки с фигурными элементами, нижняя скамейка которой состоит из четырех пар ножек, трех пар боковых подстрелок, передней и задней подстрелок, четырех поперечных прутов-проножек, а также из фигурного заполнения, которое сделано в виде овалов и шести горизонтальных подлучек.
Впереди верхняя рамка кушетки переходит в подголовник. По бокам последнего выполняются фигурные элементы. Для изготовления настила используются восемь пластин, соединенных парами.

Рис. 168. Варианты кушеток

Рис. 169. Кушетка с фигурными элементами (размеры указаны в миллиметрах).
Глава 2. Строительные материалы для изготовления мебели и способы их обработки
Если вы уже решили, какую дачную мебель хотите получить, самое время поговорить о материалах, из которых она изготавливается, правилах их обработки, отделки и необходимых инструментах.
Древесина
Древесина – это теплый природный материал, который идеально подходит для создания интерьера загородного дома, летних беседок и других построек на территории участка. Древесные породы делятся на хвойные и лиственные. К первым относятся кедр, лиственница, ель, сосна и др. Их древесина отличается небольшим удельным весом и наличием смолистых веществ, защищающих ее от болезней, грибков и загнивания. Хвойные породы дерева имеют неповторимую текстуру и хорошо поддаются обработке. Древесина лиственных пород почти не подвержена гниению и не теряет свой оттенок. Данные свойства обусловлены тем, что она является ядровой. Ядро таких пород устойчиво к воздействиям внешней среды и естественным изменениям. Для усиления этих характеристик из древесины удаляется заболонь.








