Текст книги "Садовая мебель своими руками. Дешево, практично, стильно"
Автор книги: Сергей Кашин
Жанр:
Сад и Огород
сообщить о нарушении
Текущая страница: 4 (всего у книги 15 страниц) [доступный отрывок для чтения: 6 страниц]
Способ плетения бомбошек был описан выше.
Плетение донышкаКак только каркас будет полностью собран (рис. 111), начинайте плести донышко, которое должно крепиться к нижнему обручу и подлучкам. Чтобы изготовить его, вам потребуется 10 палочек. Половину из них сложите вместе, аккуратно расщепите посередине и вставьте в образовавшееся пространство остальные палочки. Крестовину (рис. 112) дважды проплетите веревочкой, чтобы закрепить прутья.
Продолжайте плетение веревочки, разводя концы прутьев на одинаковое расстояние (рис. 113), а затем сделайте полосу послойного плетения тонкими прутиками (рис. 114). Ее кромку закрепите веревочкой (рис. 115).

Рис. 111. Полностью собранный каркас столика

Рис. 112. Закрепление прутьев в крестовине двойной веревочкой

Рис. 113. Разведение концов прутьев на одинаковое расстояние и закрепление их веревочкой

Рис. 114. Выполнение полосы послойного плетения тонкими прутиками

Рис. 115. Закрепление кромки полосы послойного плетения веревочкой
Крепление донышка к нижнему обручуОставшиеся после плетения донышка концы прутьев не обрезайте. Поместите его на нижнюю сторону малого обруча, по кругу наложите концы палочек и прибейте его между них к нижнему обручу (рис. 116). Захватывая среднюю часть дуги подлучек, обмотайте обруч лентой (рис. 117).

Рис. 116. Крепление донышка к нижнему обручу

Рис. 117. Обматывание обруча и средней части дуги подлучки лозовой лентой
Обматывание ножек каркаса лозовой лентойНачните обмотку с места соприкосновения подлучек и ножек. Ведите ее вверх, обвивая лентой ножки и подлучки (рис. 118). Завершите обмотку в верхней части каркаса, там, где подлучки начинают отходить от ножек. В этом месте затяните ленту петлей и прибейте маленьким гвоздиком (рис. 119). В процессе обмотки наращивайте ленту узлом с внутренней стороны каркаса.

Рис. 118. Начало обматывания лозовой лентой ножек вместе с подлучками
Выполните крестообразный нахлест в месте соприкосновения ножек с нижним обручем (рис. 120). Нижняя часть ножек оплетается до бомбошек.

Рис. 119. Завершение обматывания лозовой лентой ножек с подлучками

Рис. 120. Обмотанная лентой нижняя часть каркаса столика
Изготовление столешницы и выполнение в ней отверстийКруглая столешница требуемого диаметра вырезается из куска толстой фанеры и крепится к верхнему обручу с помощью шурупов. Отступите от края столешницы 1 см и по всему периметру разметьте места сквозных отверстий (расстояние между ними должно составлять 3 см), после чего высверлите их дрелью. В торцевой части круга-основы выполните глухие отверстия, делая их в промежутках между сквозными (рис. 121).

Рис. 121. Просверливание отверстий в столешнице

Рис. 122. Выполнение полосы послойного плетения
Выполнение полосы послойного плетенияВ глухие отверстия в торцевой части столешницы поставьте стоячки с заостренными концами, закрепите их веревочкой и начинайте послойное плетение. Закладывайте каждый прут за стоячок, а затем накройте им два стояка, заведите за один следующий прут и выведите конец наружу. После того как у вас получится полный круг, протяните прут поверх одного стоячка и заведите его таким же образом за следующий стоячок (рис. 122).
Кромку полосы послойного плетения закрепите веревочкой из трех прутьев (рис. 123). Затем по ее краю выполните загибку стоячков и одновременное плетение косички из трех пар прутьев (рис. 124).

Рис. 123. Закрепление полосы послойного плетения веревочкой из трех прутьев

Рис. 124. Выполнение загибки стоячков с одновременным плетением косички из трех пар прутьев
Крепление к столешнице зеркалаПоместите прутья в сквозные отверстия (рис. 125) и закрепите их под столешницей, выполняя веревочку из трех прутьев (рис. 126). После этого загните комельки стоячков за один или два других по направлению внутрь (рис. 127).

Рис. 125. Установка прутьев в сквозные отверстия столешницы

Рис. 126. Закрепление стоячков веревочкой из трех прутьев под столешницей

Рис. 127. Загибка комельков стоячков за один или два других по направлению внутрь
Поместите зеркало между выступающими прутьями конструкции, после чего прижмите его к столешнице с помощью косички, сплетаемой из четырех пар прутьев. Начало этого процесса изображено на рис. 128.
Затем кончики прутьев смочите и поместите туда, где были дополнительные прутья (рис. 129, а). После этого аккуратно обрежьте их, как наглядно показано на рис. 129, б.

Рис. 128. Начало закрепления зеркала косичкой из четырех пар прутьев

Рис. 129. Завершение закрепления зеркала косичкой из четырех пар прутьев (a) и обрезка концов прутьев, оставшихся после плетения косички (б)
Овальные столыКонструкция овального стола, показанного на рис. 130, включает в себя покрытую ленточным узором столешницу, ажурную «юбку», нижнюю раму и палочный каркас. О том, как изготовить такой стол своими руками, будет рассказано ниже.
Сборка овального обруча и установка поперечинСоберите обруч из четырех полуовалов, которые выгибаются на шаблоне из толстых палок, а затем высушите. Стыкуемые концы палок перед соединением срежьте на ус. Для придания каркасу столешницы жесткости установите две поперечины внутри обруча на одинаковом расстоянии от его овальных сторон (рис. 131).

Рис. 130. Овальный стол со столешницей, покрытой ленточным узором

Рис. 131. Сборка обруча из двух полуовалов и установка поперечин
Подготовка ножек столаНожки длиной 72 см вырезаются из изогнутых палок. Их также можно выгнуть и высушить самостоятельно. Подготовленный обруч прибивается к верхним торцам ножек с помощью гвоздей.
Установка нижней рамы и подстрелокУстановите нижнюю раму на высоте 25 см от уровня пола. Для этого прибейте к ножкам стола 6 прямых палок: четыре между ножками, а оставшиеся две будут промежуточными поперечинами (рис. 132). Поперечные палки дополнительно укрепите подстрелками, а для придания прочности каркасу рамы обведите его более тонким прутом с наружной стороны, выравнивая палки под настил из прутьев.
Установите подстрелки на ножках на расстоянии 20 см от обруча. При этом на узких сторонах каркаса их следует сделать в три загиба, а на широких – в четыре. Под поперечины обруча поставьте подстрелки в четыре загиба, прибивая их концы к ножкам стула (с внутренней стороны). В этой конструкции подстрелки обеспечивают жесткость и заменяют крестовину. Устанавливая их, обращайте внимание на обруч – он не должен перекашиваться.

Рис. 132. Полностью собранный каркас овального стола
Обмотка лозовой лентой деталей каркасаОбмотайте ножки стула лозовой лентой до того участка, где крепятся концы подстрелок, и нижнюю раму. Для того чтобы придать концам нижних ножек более эстетичный вид, на них можно выполнить бомбошки.
Крепление к обручу стоячков для плетения «юбки» столаОтберите прутья одинаковой толщины, закрепите их с помощью небольших гвоздиков с наружной стороны обруча (при этом нужно внимательно следить, чтобы они располагались на одинаковом расстоянии друг от друга). Прибитые стоячки закрепите веревочкой из тонких прутьев, а затем обрежьте заподлицо с верхом обруча (рис. 133).

Рис. 133. Прикрепление к обручу стоячков для плетения «юбки» стола
Выполнение полосы послойного плетенияПоверните стол вверх ножками, проплетите веревочку и приступайте к выполнению полосы послойного плетения. Его отдельные ряды следует уплотнить с помощью тяжелого изера (рис. 134). После того как полоса послойного плетения будет завершена, закрепите ее веревочкой.

Рис. 134. Уплотнение рядов послойного плетения тяжелым изером
Установка дополнительных стоячков и плетение ажура из ромбовУстановите по шесть дополнительных стоячков с обеих сторон от каждой из ножек стола (рис. 135). После этого из спаренных стоячков сделайте ажур из ромбов аналогично тому, как это выполняется при изготовлении стула

Рис. 135. Установка дополнительных стоячков и выполнение ажура из ромбов с круглой спинкой. Ажур укрепите веревочкой из белого прута. При этом ее нужно довести до уровня крепления подстрелок, а затем загнуть каждый стоячок за два последующих в направлении внутрь (рис. 136).

Рис. 136. Загибка стоячков по периметру ажурной «юбки»
Крепление настила из парных прутьев на нижней раме каркасаПрибейте пары прутьев вдоль нижней рамы стола. При этом они должны быть сложены верхушками к комельку (рис. 137). Для этой цели подойдут пустотелые прутья, непригодные для плетения. Их лучше не прибивать к концам рамы, поскольку они могут расщепиться.
Оплетка лозовой лентой поперечин нижней рамы столаУчастки, на которых спаренные прутья прикреплялись к поперечине нижней рамы стола, оплетите лозовой лентой крест-накрест.

Рис. 137. Крепление настила из парных прутьев на нижней раме каркаса
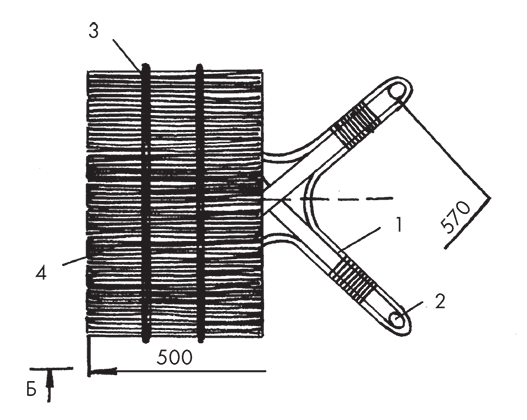
Изготовление столешницыИз куска фанеры вырежьте столешницу, размер которой должен позволять, чтобы ее края на 10 см выходили за внешние границы верхнего обруча.
Начало оформления столешницы ленточным узоромРазделите линией овал пополам, прибейте к нему рейку небольшими гвоздиками и настелите под нее лозовые ленты, располагая их вплотную друг к другу (рис. 138).
В том случае, если вы работаете с лентами, не остроганными по ширине, выкладывайте поочередно одну ленту верхушкой к комельку другой.
Плетение первой половины ленточного полотнаС одной стороны от рейки проплетите поперечную ленту, помещая ее под продольные ленты шилом и прижимая вплотную к рейке (рис. 139). Поместите ленту под 6 продольных лент посередине, затем двигайтесь справа налево, пропуская ее поверх 3 лент, подведите под следующие 3 ленты, пропустите над 3 лентами и т. д. Обратите внимание на то, что плетение нужно вести сначала в одну сторону, а затем – в другую.

Рис. 138. Укладывание лозовых лент под рейку на фанерную основу

Рис. 139. Протягивание 1-й поперечной ленты от центра фанерной основы вдоль рейки-маркера
2-ю ленту также выплетайте по центру фанерной основы, однако помещать ее следует под 4 продольные ленты, 3-ю пропустите через 2 ленты, 4-й накройте 6 лент, 5-й – 4, а 6-й – снова 2. 7-ю ленту протягивайте аналогично 1-й (то есть под 6 продольных лент) (рис. 140). Начиная от центра и двигаясь к периферии, все ленты проплетайте так же, как 1-ю ленту.
Прикрепление ленточного полотна к фанерной основеКаждые 6–10 рядов прибивайте сплетенную полосу ленточного полотна к основе из фанеры с помощью гвоздей либо скрепляйте степлером в тех местах, где скобы или гвозди будут прикрыты поперечной лентой (рис. 141).

Рис. 140. Протягивание 7-й ленты

Рис. 141. Прикрепление ленточного полотна к фанерной основе
Плетение второй половины ленточного полотнаКак только будет доплетена первая половина ленточного полотна (рис. 142), уберите рейку и приступайте к плетению его второй половины. 1-ю ленту нужно пропускать так же, как 1-ю ленту на первой половине полотна. После того как ленточное полотно будет доплетено, аккуратно обрежьте концы лент по краю фанерной основы (рис. 143).

Рис. 142. Завершенная первая половина ленточного полотна

Рис. 143. Срезание концов лент по краю фанерной основы после окончания плетения
Плетение обычной косички из трех пар прутьев по периметру фанерной основыВставьте заостренные прутья в торец основы и загните их следующим образом: в начале загибки подставьте под прутья палочки, каждый прут загните слева направо под два последующих и выведите его конец вверх (рис. 144). Концы прутьев, выступающие из плетения после загибки, сплетите в косичку из трех пар прутьев (рис. 145). При этом прижимайте ее вплотную к краю ленточного полотна. После того как косичка будет сплетена, подтяните и обрежьте концы прутьев. Столешница с ленточным узором, оплетенная по краю косичкой, показана на рис. 146.

Рис. 144. Загибка прутьев, их протягивание в направлении слева направо под два следующих прута и выведение их концов вверх

Рис. 145. Плетение косички из трех пар прутьев по периметру фанерной основы

Рис. 146. Ленточное полотно с увеличивающимися в размере квадратами
Выполнение другого варианта ленточного узораСуществует и другая схема плетения ленточного полотна. Сначала 1-ю ленту проведите поверх 2 продольных лент, 2-ю – поверх 4, 3-ю – поверх 6, 4-ю пропустите под 2 продольные ленты, 5-ю – под 4-ю, 6-ю – под 5-ю, а 7-ю проплетите так же, как 1-ю.
В результате у вас должен получиться узор с расходящимися лучами, как на рис. 147. Кроме того, ленточное полотно может быть сплетено из лент контрастных цветов, например белого и темного.
На рис. 148 показан другой вариант овального стола с ажурной столешницей.
Прямоугольные и квадратные столыКаркас прямоугольного обеденного стола (рис. 149) состоит из ножек, соединяющих их проножки и царги. Ножки прибиваются к продольным палкам царги, а затем в торцах продольных палок закрепляются поперечные палки царги.

Рис. 147. Ленточное полотно с расходящимися лучами

Рис. 148. Овальный стол с ажурной столешницей

Рис. 149. Прямоугольный обеденный стол
Из ивовой палки толщиной 20 мм сделайте проножку-крестовину и установите ее на высоте, как минимум, 120 мм от уровня пола. Чтобы придать конструкции дополнительную прочность, закрепите подстрелки между каждой парой ножек. Палки царги и ножки должны плотно прилегать к ножкам стола. Для этого в их торцах вырежьте овальные гнезда. Царгу стола можно украсить ажурным плетением, а каркас оплести лентой полностью либо сделать узор только в узлах соединений. Столешница может быть плетеной, обтянутой кожзаменителем или покрытой шпоном.
Каркасы моделей столов, представленных на рис. 150–153, изготавливаются так же, как и в случае с прямоугольным обеденным столом.

Рис. 150. Прямоугольный журнальный стол (размеры указаны в миллиметрах): 1 – обкладка столешницы; 2 – прут поперечины столешницы; 3 – прут рамки столешницы; 4 – подстрелка; 5 – ножка

Рис. 150 (продолжение). Прямоугольный журнальный стол: 6 – прут набора столешницы; 7 – огибание проножки

Рис. 151. Ажурная наборная крышка прямоугольного журнального стола (размеры указаны в миллиметрах): 1 – обтяжка проножки; 2 – прут проножки; 3 – накладка на настил; 4 – прут крепления настила

Рис. 152. Прямоугольный журнальный стол с ажурной наборной крышкой (размеры указаны в миллиметрах): 1 – ножка; 2 – продольная подстрелка; 3 – прут фигурного заполнения; 4 – продольный прут рамки; 5 – прут столешницы; 6 – боковой прут рамки; 7 – боковая царга; 8 – профильная царга; 9 – накладка настила на прутья; 10 – боковая подстрелка; 11 – обтяжка проножки

Рис. 153. Квадратный журнальный стол (размеры указаны в миллиметрах): 1 – ножка

Рис. 153 (продолжение). Квадратный журнальный стол: 1 – ножка; 2 – прут проножки; 3 – прут набора столешницы; 4 – прут рамки столешницы; 5 – подстрелка
Кресла
Кресла, снабженные плетеными спинками и сиденьями, являются довольно жесткими. Их конструкция включает в себя ножки, царгу, боковины, сиденье, спинку и подлокотники. Все они делятся на три группы:
♦ санаторные;
♦ рабочие;
♦ для отдыха.
Последние имеют следующие размеры:
♦ общая высота – 700–1250 мм;
♦ высота сиденья – 300–450 мм;
♦ высота подлокотников над уровнем сиденья – 200–300 мм;
♦ угол отклонения спинки – 40–100°;
♦ расстояние между подлокотниками – 500 мм.
Плетеные кресла, как правило, имеют неразборную конструкцию. Они бывают палочными, наборными и комбинированными. Кресло также можно изготовить на металлическом каркасе.
В качестве декоративной отделки подлокотников и окантовки спинки может использоваться строганая лента, окрашенная в желаемый оттенок. Высота подлокотников кресла измеряется от середины сиденья.
При изготовлении кресел используются ивовые прутья диаметром 4–10 мм и ивовые палки диаметром 10–30 мм в комлевом срезе. На одно кресло необходимо в среднем 15–20 палок. В случае необходимости их следует выровнять с помощью жамки. Это же приспособление применяется для выполнения всех загибок. Процесс изготовления плетеного кресла включает в себя несколько этапов, о которых будет рассказано ниже.
Подбор палок и подготовка деталейВыберите палки, учитывая параметры, о которых уже говорилось выше, и вырежьте из них детали рамки сиденья, спинки и подлокотников, а также ножки. Палки, предназначенные для изготовления гнутых деталей, сначала замочите, а затем согните на шаблонах и высушите.
Сборка рамки сиденьяДля изготовления рамки сиденья подойдет одна целая палка или две составные. Чтобы сделать рамку шириной 520 мм и глубиной 440 мм потребуется две палки длиной 1100–1200 мм и одна палка длиной 1200–2200 мм. В том случае, если рамка будет состоять из двух палок, на той, из которой получится передняя часть сиденья, сделайте отметки на расстоянии 520 мм от каждого края. На другой (из которой вы сделаете заднюю часть сиденья) сделайте то же самое на расстоянии 490 мм от каждого края.
Используя жамку, загните концы палок под прямым углом (рис. 154, а, б). Согнутые концы следует обрезать на ус: у передней части сверху, а у задней – снизу. Обе части рамки соедините таким образом, чтобы глубина сиденья составляла 440 мм. Чтобы обеспечить амортизирующий эффект и придать жесткость конструкции, прибейте к рамке сиденья две дополнительные поперечные палки (рис. 154, в).

Рис. 154. Рамка сиденья кресла (размеры указаны в миллиметрах): а – передняя часть; б – задняя часть; в – в собранном виде
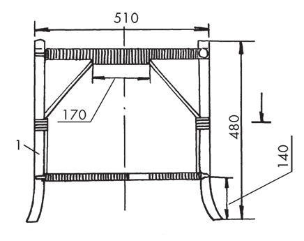
Изготовление проножки-крестовиныДля изготовления крестовины заготовьте два отрезка палки длиной 690 мм. На обоих отрезках отмерьте 345 мм от комля, то есть определите центр. Затем на отмеченных участках выполните вырезы на половину толщины палок и на такую глубину, чтобы в них можно было вставить вторую палку. Приложите палки друг к другу вырезами и сбейте с помощью гвоздей.
Крепление ножек к рамке сиденьяВырежьте ножки из палок толщиной 25 мм (в комлевом срезе). Передние палки, длина которых составляет 650 мм, прибейте гвоздями к передним углам рамки сиденья, а задние длиной 800 мм – к задним углам рамки на высоте 450 мм от уровня пола.
Установка проножки-крестовиныПроножка-крестовина устанавливается на высоте 150 мм от поверхности пола. Все четыре палки прибейте с помощью гвоздей в торец к ножкам. По низу ножек расшейте каркас палками (когда работа будет завершена, вы снимите их). Чтобы проверить правильность положения ножек после установки крестовины, используйте деревянный метр или угольник.
Крестовину обложите круглыми палками толщиной 1 мм и прибейте их гвоздями. Концы палок соедините, срезав их на ус. На участках, где палки огибают ножки стула, срежьте их на половину толщины с внутренней стороны.
Крепление подстрелокДля усиления прочности каркаса укрепите его подстрелками в четыре загиба (рис. 155). С этой целью заломите тонкую круглую палку диаметром 12 мм в четырех местах под прямым углом и срежьте оба ее конца на ус.

Рис. 155. Укрепление ножек кресла подстрелками в четыре загиба
Готовую подстрелку приложите к ножке кресла одним концом на высоте 250 мм от уровня пола, уприте в проножку-крестовину, согните на участке излома и прижмите к рамке сиденья на расстоянии 0,4 ее длины от ножки.
В месте соприкосновения выполните один надлом. То же самое сделайте на расстоянии 0,2 длины палки. Между этими двумя надломами вырежьте (с внутренней стороны) древесину на половину ее толщины и прижмите срезанную часть к рамке сиденья. Другой конец подстрелки нужно прикрепить к противоположной ножке на такой же высоте, как и к предыдущей.
После того как подстрелки будут установлены, еще раз проверьте правильность положения ножек, после чего прибейте гвоздями среднюю вырезанную часть подстрелки к рамке сиденья. Точно так же следует установить подстрелки с трех оставшихся сторон изделия.
Крепление палки-«барабанчика»Отступив 310 мм от уровня пола, прибейте к передним ножкам палку-«барабанчик», на которую будут навиваться стойки основы сиденья.
Изготовление спинкиДве задние ножки надломите у основания рамки сиденья. Дугу спинки выгните и высушите на шаблоне, после чего ее концы вместе с верхними концами ножек с лицевой стороны и верхними концами зад них ножек с боковой стороны срежьте на ус. Верхнюю часть дуги прибейте гвоздями к задним ножкам, а ее концы уприте в рамку сиденья. Средняя высота спинки кресла от уровня пола составляет 650–1150 мм, а в данном случае – 920 мм. Для усиления прочности дуги спинки наложите упор по всей ее длине. Последний можно изготовить из палки диаметром 10–12 мм.








