Текст книги "Садовая мебель своими руками. Дешево, практично, стильно"
Автор книги: Сергей Кашин
Жанр:
Сад и Огород
сообщить о нарушении
Текущая страница: 3 (всего у книги 15 страниц) [доступный отрывок для чтения: 6 страниц]
Данный этап выполняется точно так же, как при изготовлении предыдущей модели.
Формирование спинкиСрежьте на ус верхние концы задних ножек, которые переходят в боковины спинки, а также концы полукруглого каркаса спинки (рис. 72), после чего скрепите их клеем. Далее соедините спинку сиденья толстой палкой-упором с помощью шурупов. Для этого жамкой надломите в двух местах один конец упора и прикрепите его сначала к боковой части сиденья, а затем к боковине спинки (рис. 73).
Выгните упор полукругом, присоедините его вплотную к верхней части спинки, шурупами прикрепите к противоположным боку сиденья и боковине спинки, предварительно надломив жамкой в двух местах. Готовый каркас стула с круглой спинкой наглядно показан на рис. 74.

Рис. 72. Срезание концов палок каркаса на ус топором

Рис. 73. Скрепление толстой палкой-упором боков сиденья и боковин спинки

Рис. 74. Каркас стула с круглой спинкой в собранном виде
Оплетение лентой соединительных узлов, ножек и спинки каркасаЧтобы завершить работу с каркасом, оплетите все его соединительные узлы и ножки аналогично тому, как это делается в случае со стулом с прямой спинкой. Оплетку спинки следует начать на одной из боковин на том участке, где от нее отходит упор. Продвигаясь к боковой стороне сиденья, ведите оплетку по кругу к противоположной боковине спинки (рис. 75).

Рис. 75. Каркас стула, обмотанный лозовой лентой
Установка двух тонких прутиков под закругленной верхней частью спинкиЧтобы в дальнейшем стоячки не выходили из спинки изделия, под закругленную верхнюю часть спинки прибейте два тонких прутика.
Плетение полотна сиденьяПолотно сиденья следует плести так же, как для стула с прямой спинкой. Разница заключается в том, что «выход» за переднюю палку каркаса в данном случае составляет 15 см (рис. 76).

Рис. 76. «Выход» плетеного полотна сиденья за переднюю палку его каркаса
Перед сгибанием плетеного сиденья привяжите к передним ножкам изделия толстую круглую палку, прибейте к ней два прутика (чтобы она не перекручивалась и не мешала вам работать) и подложите под нее по одному клину с каждой стороны. Это позволит легко вытащить ее, когда сиденье будет доплетено.
Палку дополнительно притяните к боковинам спинки с помощью шпагата (рис. 77). Перегните через нее плетеное полотно и приплетите к передним ножкам стула вместе с дополнительными прутами (рис. 78). Последние нужно предварительно вставить с обеих сторон плетения.

Рис. 77. Крепление палки к передним ножкам сиденья и боковинам спинки

Рис. 78. Приплетение к ножке стула согнутого полотна сиденья
Оформление спинкиПоместите предварительно заостренные с одной стороны стоячки между витками ленты на верхней части спинки, используя шило. Для их крепления вплотную к палкам спинки проплетите веревочку из трех прутьев в прямом и обратном направлениях. Добавьте парные стоячки к уже имеющимся и закрепите их веревочкой из трех прутьев. Теперь все стоячки сдвиньте к центру спинки веером и зафиксируйте их в этом положении веревочкой из двух прутьев (проплетать нужно попарно) (рис. 79).
Под веревочкой из двух прутьев выполните полосу простого плетения шириной 10 см, делая оборот прутьев на крайних стоячках, и закрепите ее веревочкой из трех прутьев.
После этого приступайте к изготовлению ажура из ромбов: соседние стоячки каждой пары перехлестните крест-накрест (друг с другом). Готовый ажур закрепите веревочками из трех прутьев и приплетите его к боковинам спинки.
На уровне сиденья сплетите веревочку из трех прутьев. На тех участках, где прутья ложатся на палку сиденья внакладку, прибейте их гвоздями (рис. 80). Ниже сиденья сделайте ажур из ромбов и закрепите его веревочками из трех прутьев, после чего загните стоячки.
Стул с овальной спинкой и квадратным сиденьемТак как о принципах изготовления каркаса и плетения сиденья и спинки было подробно рассказано выше, далее будут представлены лишь рисунки с указанием размеров и некоторых конструктивных особенностей, а также краткие комментарии к ним.
Каркас данного изделия представлен на рис. 81. Он состоит из двух передних и двух задних ножек. Профиль последних может быть прямым или криволинейным. Ножки крепятся к рамке сиденья и нижней проножке-крестовине, а затем фиксируются подлучками и подстрелками.
Амортизаторами в данном случае будут служить не верхняя крестовина-пружина, а две поперечные царги. Они предотвращают осадку конструкции. Прибейте их к бокам сиденья с помощью гвоздей, расположив в средней части. Для изготовления спинки возьмите выгнутые дугой палки и прибейте их гвоздями к задним ножкам. Чтобы усилить прочность конструкции, прикрепите дугу спинки и рамку сиденья к передним ножкам стула с помощью подстрелок.

Рис. 79. Фиксация стоячков, сдвинутых веером к середине спинки, веревочкой из двух прутьев

Рис. 80. Плетение веревочки на уровне сиденья с одновременным прибиванием стоячков

Рис. 81. Каркас стула с овальной спинкой и квадратным сиденьем
Установите крестовину на высоте 310 мм от пола и прикрепите к ней стойки основы сиденья. Плетение может быть различным. Так, вы можете оформить сиденье простым одинарным плетением, а спинку – ромбовым и столбиковым. Ажур закрепляется веревочками из двух прутьев.
Стул со спинкой из фанерыТакой стул (рис. 82) состоит из каркаса, сиденья и спинки. Круглое сиденье можно сделать из клееной фанеры с вогнутым профилем. После его установки прикрепите прутья обтяжки сиденья и спинки с помощью гвоздей. Остальные узлы и ножки оплетаются лозовой лентой. Затем оплетите сиденье и прикрепите фанерную спинку.
Стул со спинкой из гнутых прутьевЭта модель (рис. 83) отличается сиденьем трапециевидной формы. Ее нижняя скамейка собирается точно таким же образом, как и табурет.
Фигурные вставки спинки и верхний прут увлажните, а затем согните, используя предназначенные для этого шаблоны. Высушите их, не снимая с шаблонов.
Прежде чем собирать каркас, верхние концы задних ножек и концы верхнего прута спинки срежьте на ус с помощью топора, срастите на клею или сбейте гвоздями, а затем обмотайте место сочленения прутьев лозовой лентой.
Увлажните прутья-упоры обтяжки спинки, срежьте их верхушки на ус, соедините в центре спинки и скрепите с помощью гвоздей. Место соединения обмотайте ивовой лентой. Заведите за сиденье комлевые концы прутьев-упоров обтяжки спинки и прикрепите к кольцу.

Рис. 82. Стул со спинкой из фанеры (размеры указаны в миллиметрах): 1 – спинка; 2 – прутья-упоры обтяжки сиденья и спинки; 3 – подлучка; 4 – обвивка лозовой лентой; 5 – прут, огибающий проножку-крестовину; 6 – передняя ножка; 7 – кольцо сиденья; 8 – сиденье; 9 – задняя ножка; 10 – прут проножки-крестовины
Заторцуйте заготовки фигурных дуг спинки, прибейте к ножкам с помощью гвоздей и сбейте между собой, а затем обвейте лозовой лентой. Узор из гнутых прутьев на спинке может быть любым.

Рис. 83. Стул со спинкой из гнутых прутьев (размеры указаны в миллиметрах): 1, 4 – дуги заполнения спинки; 2 – прут спинки; 3 – прут-упор обтяжки спинки; 5 – обвивка лозовой лентой; 6, 10, 14 – подлучки; 7 – кольцо сиденья; 8 – передняя ножка; 9 – задняя ножка
Стул с ажурной спинкойОсобенностью конструкции данного изделия является усложненное строение спинки (рис. 84).
Нижнюю скамейку и поперечный прут соберите так же, как и в предыдущих моделях. После этого установите две вертикальные стойки заполнения спинки. Верхние их концы пробейте гвоздями впритык и обхватом к поперечине спинки, а нижние прикрепите к кольцу сиденья с помощью гвоздей.

Рис. 83 (продолжение). Стул со спинкой из гнутых прутьев: 11 – сиденье; 12 – прут проножки; 13 – подстрелки проножки-крестовины
Между этими стойками закрепите прямой поперечный прут, а внизу установите подлучку. Над поперечным прутом (в верхней части заполнения спинки) сделайте ажур из перекрещивающихся прутьев. Прибейте их гвоздями к вертикальным стойкам заполнения спинки.
Завершающим этапом оформления спинки является установка фигурной накладки на поперечный прут спинки (над заполнением). Концы накладки обматываются лозовой лентой. Готовое изделие нужно высушить, зачистить и покрыть лаком.
Простой стулСтул простой конструкции можно изготовить при наличии минимальных навыков (рис. 85). Его сиденье представляет собой кольцо с вкладышем и обкладкой. В каркас входят четыре ножки, проножка-крестовина, спинка и четыре подлучки. Спинка состоит из верхних частей задних ножек, верха в виде дуги и фигурных вставок.
После того как вы установите фанерный вкладыш сиденья, обтяните его обкладкой из прута диаметром 12 мм. Перед этим прострогайте внутреннюю сторону прута, которая будет примыкать к торцевому участку вкладыша на половину толщины. Прибейте поперечный щит спинки к задним ножкам впритык, а затем обмотайте в месте соединений лозовой лентой. Теперь закрепите боковые прутья обкладки спинки и сиденья. Завершающим этапом работы является установка гнутых вставок заполнения спинки.

Рис. 84. Стул с ажурной спинкой (размеры указаны в миллиметрах): 1 – фигурная накладка спинки; 2 – поперечный прут спинки; 3 – прут ажура спинки; 4 – стойки заполнения спинки; 5 – поперечный прут заполнения спинки; 6 – подлучка заполнения спинки; 7 – обвивка лозовой лентой; 8 – подстрелка-обтяжка сиденья; 9, 13 – подлучки; 10 – задняя ножка; 11 – проножка-крестовина; 12 – передняя ножка; 14 – сиденье; 15 – подстрелки проножки

Рис. 85. Дачный стул (размеры указаны в миллиметрах): 1 – передняя ножка; 2 – обвивка лозовой лентой; 3 – прут обкладки сиденья; 4 – подлокотник; 5, 6 – фигурные вставки спинки; 7 – дуга спинки; 8 – поперечина спинки; 9 – кольцо сиденья; 10 – подстрелка; 11 – задняя ножка
Столы
Столы могут быть рабочими, журнальными, обеденными и др. (рис. 86). Они плетутся по одному принципу, различаясь лишь размерами. Например, журнальные столы имеют высоту 500–650 мм, длину 400–1000 мм и ширину 350–600 мм. Высота обеденных столов составляет 700–760 мм, а высота подстолья таких изделий – не менее 610 мм. Размер столешницы зависит от того, сколько человек будет за ним сидеть. Например, крышка стола, рассчитанного на семью из двух человек, имеет диаметр 600 мм, на семью из трех человек – 700 мм, на четырех – 800 мм и т. д.

Рис. 86. Плетеные столы (размеры указаны в миллиметрах).
Стол прямоугольной формы может быть рассчитан только на двух или четырех человек. Ширина его столешницы будет составлять 600 и 750–900 мм, а длина – 750–850 и 900–1000 мм соответственно.
Двумя основными частями стола являются столешница и подстолье, которое поддерживает ее. Столешница может иметь круглую, овальную, прямоугольную и многогранную форму.
Что касается подстолья, то здесь у вас широкий выбор. Оно может быть сделано на одной, трех, четырех, шести или восьми ножках. Подстолье может быть также снабжено полками. Крепление этой части конструкции осуществляется с помощью крестовин, лепестков, обручей, подлучек и подстрелок. В качестве материала для изготовления столов применяются мебельная палка толщиной 25–32 мм, ивовые прутья толщиной не более 10 мм, пиломатериалы, фанера, ДСП, лента и ивовые пластины.

Рис. 86 (продолжение). Плетеные столы
Ниже будет подробно рассказано об изготовлении круглого и овального столов, а также о нюансах производства прямоугольных и квадратных столов.
Круглые столыЕсли на вашей летней даче часто собираются друзья и родственники, то наиболее удобным будет круглый стол (рис. 87). Его основой является каркас, который собирается из толстых палок. Столешница изготавливается из фанеры.

Рис. 87. Круглый стол с фанерной столешницей
Сборка каркасаИз толстой палки сделайте верхний обруч, диаметр которого должен составлять 600 мм. Предварительно срежьте концы палки на ус и срастите. Полученный обруч прибейте маленькими гвоздиками к верхним торцам четырех ножек стола. Готовый каркас показан на рис. 88.
Возьмите палки длиной 63 см, зарежьте по центру вполдерева, установите крест-накрест относительно друг друга и закрепите полученное соединение с помощью гвоздей небольшого размера.
После этого расставьте ножки стола и поместите между ними собранную крестовину. На участке соединения палок крестовины выплетите «звезду» аналогично тому, как вы это делали при изготовлении стульев.

Рис. 88. Полностью собранный каркас круглого стола с фанерной столешницей
Установите упоры к крестовине, обмотайте ее лозовой лентой так же, как и в случае со стульями. Установите четыре подстрелки в три загиба.
На участках крепления к ножкам срежьте их концы на ус. Для придания каркасу дополнительной прочности опустите концы подстрелок до уровня пола.
Теперь из толстой палки выгните нижний обруч и прикрепите его с наружной стороны ножек стола с помощью небольших шурупов. Обратите внимание на то, что расстояние между нижним и верхним обручами должно составлять 10 см.
Изготовление столешницы, ее разметка и подготовка к плетениюДиаметр столешницы составляет 620 мм. Ее следует выпилить из листа фанеры толщиной 12 мм. С помощью шила наметьте отверстия под прутья в торце столешницы, а затем высверлите их на глубину 3 см, используя сверло диаметром 4,5 мм.
Теперь отшлифуйте поверхность столешницы и протрите ее влажной губкой. Это необходимо для того, чтобы вы смогли счистить поднявшийся мелкий ворс. Прежде чем приступать к плетению, покройте столешницу двумя слоями лака с обеих сторон. Данная операция обязательна, так как в противном случае в процессе плетения поверхность намокнет, покроется некрасивыми пятнами, а готовое изделие будет иметь неэстетичный вид. Если же покрыть столешницу лаком, то вы сможете с легкостью удалить загрязнения. Чтобы во время плетения столешница могла вращаться, прикрепите патрубок с раструбом к ее нижней стороне (по центру) и поместите в него трубу (рис. 89).

Рис. 89. Установка приспособления для вращения столешницы во время плетения
Послойное плетение по краю столешницыВыберите ивовые прутья, число которых должно соответствовать количеству отверстий в торце столешницы. Поместите их в отверстия снизу и приступайте к послойному плетению. Вставьте конец прута за стоячок, направьте его в правую сторону, пропустите над двумя стоячками снаружи, заведите под третий стоячок и аккуратно вытяните конец наружу (рис. 90). После этого поместите 2-й прут за следующий стоячок, который находится слева от 1-го (рис. 91), и выполните с ним те же действия, что и с 1-м прутом.

Рис. 90. Выполнение первых рядов послойного плетения

Рис. 91. Установка прута за очередной стоячок
Выполняйте полосу послойного плетения (рис. 92) до тех пор, пока от прутьев не останутся небольшие кончики. Выведите их на внутреннюю сторону плетения.
Готовую полосу закрепите веревочкой, сплетенной из трех белых прутьев (рис. 93).

Рис. 92. Полоса послойного плетения

Рис. 93. Закрепление полосы послойного плетения веревочкой из трех прутьев
Сгибание стоячков к центру столешницЧтобы согнуть стоячки к концу столешницы, вам потребуется специальная форма. Ее можно изготовить самостоятельно из четырех частей, которые закрепляются шурупами (рис. 94). Переверните столешницу лицевой стороной вниз, установите собранную форму на ее обратную сторону, аккуратно загните все стоячки через ребро формы к центру, зафиксируйте гвоздями и оставьте на 12 часов. Затем раскрутите форму и извлеките все ее части из-под прутьев (рис. 95). После этого стоячки должны быть загнутыми (рис. 96).

Рис. 94. Форма для сгибания стоячков

Рис. 95. Разборка формы

Рис. 96. Обратная сторона столешницы после удаления формы
Крепление каркаса к столешницеНа то место, где находилась удаленная форма, вставьте каркас стола, оплетенный лозовой лентой (рис. 97). Прикрутите верхний обруч к столешнице в четырех местах. После этого обмотайте лентой нижний обруч каркаса, захватывая и закрепляя концы стоячков. В местах соприкосновения стоячков с обручем перехлестывайте ленту через него крест-накрест (рис. 98).

Рис. 97. Установка и крепление каркаса к столешнице

Рис. 98. Обматывание нижнего обруча лентой с одновременным захватом и фиксацией концов стоячков
Если требуется нарастить лозовую ленту, подложите конец новой ленты под два витка предыдущей (рис. 99), выполните узел-полуоборот вокруг обруча и выполняйте обмотку описанным методом.

Рис. 99. Наращивание ленты при обматывании нижнего обруча
Заполнение пространства между веревочкой из белых прутьев и нижним обручем ленточным плетениемПосле того как нижний обруч будет обмотан лозовой лентой, а все стоячки зафиксированы, приступайте к заполнению пространства между нижним обручем и веревочкой из белых прутьев. Для этого применяйте способ ленточного плетения (рис. 100).
Если количество стоячков четное, то плетение следует выполнять двумя лентами, а если нечетное – одной.

Рис. 100. Ленточное плетение
Изготовление бомбошекНижние концы ножек данной модели стола можно украсить бомбошками, которые выполняются способом витого плетения. При желании вы можете сделать их до сборки каркаса. Если вы планируете опустить концы подстрелок на ножках до пола, то бомбошки следует плести после сборки каркаса.
Прежде чем приступать к работе, тщательно размочите прутья. Это необходимо для того, чтобы в процессе работы они перевивались, как веревка. Срежьте на концах ножек фаску, прибейте к ним два прута с помощью маленьких гвоздей и обмотайте их лентой, чтобы не было видно шляпок, а затем затяните петлей ее конец (рис. 101).
Пятый прут прибейте к ножке немного ниже комелька (устанавливать его следует наискосок), накройте его так, чтобы шляпка гвоздя спряталась под расположенным справа 1-м вертикальным прутом. А последний заведите на 2-й вертикальный прут (рис. 102).
2-м вертикальным прутом прижмите 1-й, после чего заведите его за 3-й вертикальный прут (рис. 103). Прижмите им 2-й прут и заведите его за 4-й. Последним прижмите 3-й прут и подведите его под 5-й прут, прибитый наискосок (рис. 104).

Рис. 101. Затягивание петлей конца ленты, фиксирующей прутья на ножке стола

Рис. 102. Загибание 1-го вертикального прута и заведение его за 2-й прут

Рис. 103. Загибание 2-го вертикального прута и заведение его за 3-й прут

Рис. 104. Загибание 4-го вертикального прута и подведение его под 5-й прут
После этого используйте в плетении все 5 прутьев. 5-м прутом прижмите 4-й и заведите его за следующий прут (рис. 105). Аналогично передвигайтесь вокруг ножки справа налево (рис. 106), оплетая ее до нужной высоты.
В завершении плетения очередным прутом сделайте 1,5 оборота вокруг следующего прута, а затем протяните его конец через плетение в 1–2 прохода (рис. 107, а). Обрежьте кончики прутьев и обмотайте верх бомбошки лозовой лентой (рис. 107, б). Это необходимо для закрепления плетения.

Рис. 105. Загибание 5-го вертикального прута и подведение его под 4-й прут

Рис. 106. Бомбошка, сплетенная наполовину

Рис. 107. Протягивание кончика одного из прутьев через плетение (а) и закрепление кончиков прутьев ленточной обмоткой (б)
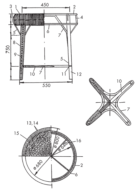
Далее показана конструкция и размеры ажурного круглого стола (рис. 108).
Круглый столик с зеркаломКонструктивно эта модель отличается от предыдущих, поэтому о ней будет рассказано более подробно.
Сборка каркасаРазмочите толстые палки на шаблонах и согните из них три ножки и два обруча (диаметр первого составляет 280 мм, второго – 380 мм), а затем высушите все детали. Прибейте ножки к торцевым концам большого обруча, располагая их на равном расстоянии друг от друга. Малый нижний обруч закрепите с внутренней стороны ножек на высоте 25 см от уровня пола. Концы обоих обручей должны быть предварительно срезаны на ус и сращены. Полученную конструкцию укрепите, используя временные рейки-распорки или приспособления, которые показаны на рис. 109. Каркас переверните вверх ножками и прибейте малый обруч к кругу из фанеры.

Рис. 108. Ажурный круглый стол (размеры указаны в миллиметрах): 1 – столешница; 2 – верхний обруч; 3 – декоративная лента ажура; 4 – вставка-упор между обручами; 5 – обивка (или веревочка); 6 – нижний обруч; 7 – подстрелка; 8 – декоративная лента ножки; 9 – лента плетения и обмотки; 10 – проножка; 11 – гвоздь (20, 30, 40, 60 мм); 12 – ножка; 13 – прутья столешницы; 14 – вставки; 15 – ажур; 16 – крестовина столешницы

Рис. 109 Укрепление каркаса столика на специальном приспособлении
Изготовление и установка подлучекПока вы будете обжимать размоченные палки на круге-шаблоне (рис. 110), сделайте из них шесть подлучек и прикрутите между ножками столика попарно. Концы подлучек зарежьте на ус и срастите.

Рис. 110. Сгибание подлучки на круге-шаблоне, изготовленном из ДСП








