Текст книги "Как самому сделать детекторный приемник"
Автор книги: И. Беляев
Жанр:
Сделай сам
сообщить о нарушении
Текущая страница: 3 (всего у книги 3 страниц)
Грозозащита
У радиоустановки обязательно должен быть грозовой переключатель. Когда приём не производится, или во время грозы, переключатель соединяет антенну с заземлением, делая из неё громоотвод. Через него, скапливающиеся во время грозы электрические заряды уходят в землю, не причиняя повреждения радиоприёмнику. Вести приём во время грозы ни в коем случае нельзя.
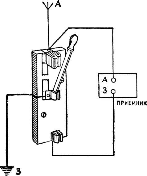
Применяемый для заземления антенны прибор представляет собою часто встречающийся в электротехнике перекидной однополюсный рубильник, изображённый на рисунке 21.

Рис. 21.
В середине на пружинящей скобочке укрепляется нож рубильника, который можно за ручку поднимать или опускать. К нему приключается провод, идущий непосредственно от заземления. Верхний зажим грозового переключателя соединяется с антенной, которая прямо от него идёт к антенне приёмника (гнездо А). Нижний зажим соединяется с гнездом 3 (заземление) приёмника.
Антенна соединена с землёй (заземлена) при верхнем положении ножа рубильника. Все поступающие в неё из атмосферы электрические заряды уходят, минуя приёмник, прямо в землю.
Во время приёма нож рубильника опускается в нижний зажим переключателя. Тогда радиоволны, возникающие в антенне, поступают в приёмник.
На грозовом переключателе необходимо установить между антенной и заземлением так называемый искровой промежуток, через который электричество будет уходить в землю даже в том случае, если антенна оказалась не заземлённой. Искровой промежуток состоит из двух металлических пластинок, расположенных друг от друга на очень маленьком расстоянии (полмиллиметра). Концы пластинок имеют вид пилы с острыми зубьями. Одна пластинка соединена с антенной, а другая – с заземлением. Электрические разряды, попадающие в антенну, пройдут небольшое расстояние между остриями искрового промежутка в виде искры и уйдут в землю.
Когда нет приёма, антенну надо всегда заземлять. Особенно этого правила надо придерживаться весной и летом, когда гроза может придти неожиданно.


Scan AAW



























