Текст книги "108 минут, изменившие мир"
Автор книги: Антон Первушин
Жанры:
История
,сообщить о нарушении
Текущая страница: 2 (всего у книги 24 страниц) [доступный отрывок для чтения: 9 страниц]
1.3
Группа изучения реактивного движения
В Советской России также предпринимались попытки создать организацию ракетчиков, занимающихся проектированием систем для космических полетов. Наибольшую активность на этом поприще проявил выпускник Рижского политехнического института Фридрих Артурович Цандер [23]23
Цандер, Фридрих Артурович (1887–1933) – советский инженер, теоретик космонавтики. В 1914 году окончил Рижский политехнический институт, работал на завод «Проводник», выпускавший различные резиновые изделия. В 1915 году в связи с приближением фронта к Риге завод со всем персоналом был эвакуирован в Москву. В 1919 году Ф. А. Цандер перешел на авиационный завод «Мотор». Проблемами реактивного движения он начал заниматься с 1908 года. Его внимание привлекали вопросы конструирования космических аппаратов, выбор движущей силы, замкнутой системы жизнеобеспечения. Активно популяризировал космонавтику, выступал с лекциями, писал статьи. В 1931 году основал Группу изучения реактивного движения – ГИРД.
[Закрыть].
Позднее Цандер вспоминал, что на его жизненный выбор повлияли два текста: роман Жюля Верна «С Земли на Луну…» и статья Циолковского «Исследование мировых пространств реактивными приборами», фрагменты из которой зачитал его классу школьный учитель. Цандер верил, что Марс обитаем, и, добравшись до красной планеты, земляне встретят там высокоразвитую цивилизацию. На всю жизнь лозунгом Фридриха Артуровича стал призыв: «Вперед! На Марс!»

Фридрих Артурович Цандер
Внимание Цандера привлекали вопросы конструирования космических аппаратов, выбора движущей силы, создания замкнутой системы жизнеобеспечения. В 1909 году Цандер впервые высказал мысль о том, что в качестве горючего можно использовать элементы конструкции межпланетного корабля [24]24
Фактически Ф. А. Цандер сформулировал концепцию электротермического ракетного двигателя. Распыленный и раскаленный металл дает гораздо большую тягу, чем любое жидкое топливо. Однако его использование требует наличия на борту космического аппарата мощной энергетической установки и особо прочных материалов. Из-за этого электроракетные двигатели пока не получили широкого распространения в космической технике.
[Закрыть]. В 1915 году в связи с приближением фронта к Риге Цандер был эвакуирован вместе с персоналом завода «Проводник» в Москву. С 1917 года он приступил к систематическим исследованиям проблем теоретической космонавтики.
Результаты своих предварительных изысканий Фридрих Цандер представил 29 декабря 1921 года на первой Губернской конференции изобретателей, проходившей в Москве. Он специализировался на авиационных двигателях, однако на этот раз решил удивить коллег фантастическим проектом корабля-аэроплана для полета на Марс. Символическое совпадение – в то же самое время находящийся в эмиграции знаменитый писатель Алексей Николаевич Толстой начал работу над романом «Аэлита», в котором собирался описать полет изобретательного инженера Лося и красногвардейца Гусева в космическом корабле на Марс.

Модель межпланетного корабля системы Цандера
Проект, озвученный на Губернской конференции изобретателей, был весьма оригинален. В качестве межпланетного корабля действительно служил большой герметичный аэроплан. В пределах атмосферы он должен был летать с помощью поршневых двигателей высокого давления, а на границе космоса большие крылья втягивались внутрь фюзеляжа и расплавлялись, служа дополнительным топливом для ракетного двигателя. Малые крылья были необходимы для планирования в атмосфере Марса и при возвращении на Землю.
Доклад был принят благосклонно, и тогда Цандер попросил у руководства Госавиазавода № 4, на котором в то время трудился, годичный отпуск для развития проекта. На общем собрании работников просьбу энтузиаста поддержали – идея полета на Марс так завораживала, что было решено отчислять Цандеру процент с зарплаты для того, чтобы он мог спокойно довести свой космический аэроплан до реальной модели.
Будучи по натуре практиком, Цандер сразу занялся поисками технических решений, которые могли бы ускорить постройку такого аэроплана. В 1924 году он приступил к разработке методик расчета жидкостных ракетных двигателей.
Рижский инженер столкнулся с той же проблемой «замкнутого круга», что и немец Герман Оберт: для создания жидкостного ракетного двигателя нужна теория двигателей, но теория не может возникнуть без двигателя.

Двигатель «ОР-1», разработанный Фридрихом Цандером
Фридрих Цандер решил пойти эмпирическим путем, то есть методом проб и ошибок. Прототип он нашел на заводе имени Матвеева в Ленинграде – им стала обычная паяльная лампа. Переделав ее, инженер создал двигатель «ОР-1» («Первый опытный реактивный»), работающий на бензине и воздухе. В период с 1930 по 1932 год Цандер провел большое количество испытаний. Полученные результаты дали возможность перейти к созданию более совершенных двигателей, в которых окислителем служил жидкий кислород. Именно в этот период Цандер познакомился с амбициозным авиаконструктором Сергеем Павловичем Королёвым.
Сергей Королёв, выпускник Московского высшего технического училища и Московской школы летчиков-планеристов, в начале карьеры занимался конструированием планеров. Первую славу ему принес планер «Красная Звезда» – 28 октября 1930 года пилот Василий Степанчонок сделал на нем три «мертвые петли» подряд. О выдающемся полете написали профильные издания: «Самолет», «Красная Звезда», «Физкультура и спорт».
Когда Королёв начал обучение на инженера-конструктора, он не задумывался о космических полетах и ничего не слышал ни о Циолковском, ни о Цандере. Однако стремление летать выше и дальше, присущее всем авиаторам, побуждало его искать новые пути. В майском номере журнала «Самолет» за 1931 год была опубликована подборка материалов о первых удачных опытах с ракетными двигателями – этих сведений оказалось достаточно, чтобы молодой инженер обратил внимание на новые веяния. Заинтересовавшись темой, Королёв начал перебирать конструктивные схемы планеров с целью найти ту, которая идеально подошла бы для размещения ракетного двигателя, и остановился на «бесхвостой схеме». Оказалось, что такой планер – «БИЧ-8» («Треугольник») – уже существует [25]25
Планер «БИЧ-8» сконструировал Борис Иванович Черановский, активно экспериментировавший с нестандартными схемами самолетов типа «бесхвостка» и «летающее крыло».
[Закрыть]. Королёв сразу присоединился к его испытаниям, которые проходили на аэродроме ОСОАВИАХИМА [26]26
ОСОАВИАХИМ – Общество содействия обороне, авиационному и химическому строительству – общественно-политическая оборонная организация, предшественник ДОСААФ. Общество возникло еще во время Гражданской войны, но под этим названием было официально зарегистрировано 23 января 1927 года. В январе 1948 года было реорганизовано и разделено на три обособленные организации.
[Закрыть]. Там молодого авиаконструктора и нашел Фридрих Цандер.

Сергей Королев (слева) и Борис Черановский у планера «БИЧ-8»
Судьбоносная встреча состоялась 5 октября 1931 года, и уже через два дня Королёв присутствовал при тридцать втором по счету стендовом запуске двигателя «ОР-1». Видимо, испытания произвели впечатление, и авиаконструктор загорелся идеей создания ракетоплана – самолета с ракетным двигателем.
Незадолго до этого Цандер начал формировать Группу по изучению реактивного движения (ГИРД) [27]27
Изначально ГИРД назывался Группой по изучению реактивных двигателей и реактивного летания.
[Закрыть]. Королёв поддержал начинание – и до ГИРД в Советской России появлялись группы ракетчиков-энтузиастов, однако все они быстро прекращали существование, не имея конкретных задач и, соответственно, финансирования. У ГИРД такая задача была четко сформулирована: проектирование и создание ракетоплана «РП-1» с жидкостным двигателем «ОР-2» [28]28
В отличие от «ОР-1» двигатель «ОР-2» проектировался с нуля. В нем Ф. А. Цандер применил вытеснительную подачу компонентов топлива сжатым азотом. Зажигание осуществлялось электросвечой. Окислитель (жидкий кислород) использовался для регенеративного охлаждения камеры сгорания.
[Закрыть].
Почему именно ракетоплан, а не большая баллистическая ракета? Объяснение простое – создание больших ракет в ту пору было делом совершенно новым, и любой, кто начинал заниматься серьезным проектированием в этой области, наталкивался на ряд проблем. Одна из серьезнейших – как обеспечить стабильность полета ракеты и ее управляемость на всех этапах? Если в момент старта траекторию движения задавал пусковой станок с направляющими, а в дальнейшем ее поддерживали хвостовые стабилизаторы, то как быть с маневрированием в атмосфере и за ее пределами? Как обеспечить автоматическое регулирование тяги двигателя на различных режимах полета? Ракетоплан, казалось, решал большую часть этих проблем – управляемость обеспечивали крылья и их механизация; тягу двигателя мог регулировать сидящий в герметичной кабине пилот. Кроме того, в авиации уже был накоплен значительный опыт по созданию аппаратов тяжелее воздуха, и этим опытом не стоило пренебрегать.

Схема ракетного планера «РП-1» («БИЧ-11» с двигателем «ОР-2»)
Зимой 1932 года Сергей Королёв формально не являлся членом ГИРД, участвуя в деятельности группы на общественных началах. Однако положение коренным образом изменилось в марте, после совещания, созванного начальником вооружений Рабоче-крестьянской Красной армии Михаилом Николаевичем Тухачевским [29]29
Тухачевский, Михаил Николаевич (1893–1937) – советский военный деятель, маршал Советского Союза (1935). Продвинулся по служебной лестнице во время Гражданской войны, участвовал в подавлении антисоветских восстаний. На всех должностях М. Н. Тухачевский считал своей главной задачей подготовку Рабоче-крестьянской Красной армии к будущей войне, допуская милитаризацию экономики СССР. В январе 1930 году представил советскому руководству доклад о реорганизации вооруженных сил, содержавший предложения об увеличении числа дивизий до 250, о развитии артиллерии, авиации и танковых войск. С 1932 года покровительствовал советским ракетчикам; в 1933 году добился создания Реактивного научно-исследовательского института (РНИИ), занимавшегося разработкой ракетного оружия в СССР. М. Н. Тухачевский был репрессирован в 1937 году по так называемому «делу военных», реабилитирован в 1957 году.
[Закрыть]. На этом совещании обсуждались перспективы применения ракет в военном деле. Выступил с докладом Королёв, который открыто взял на себя ответственность за организацию всех работ группы ракетчиков-энтузиастов.
В апреле 1932 года ОСОАВИАХИМ выделил средства для формирования штата ГИРД. Тогда же для размещения группы было найдено подвальное помещение в доме № 19 на Садовой-Спасской улице. В июле ГИРД была преобразована из сугубо общественной группы в научно-исследовательскую и опытно-конструкторскую организацию по разработке ракет и двигателей, а с августа стала финансироваться Управлением военных изобретений. Сергея Королёва назначили начальником ГИРД.
Структурно Группа была разделена на четыре тематические бригады.
Первая бригада, которую возглавил Фридрих Артурович Цандер, экспериментировала с двигателем «ОР-1», конструировала двигатель «ОР-2» и исследовала проблематику сжигания металлических добавок в топливе.
Рабочий план второй бригады, возглавляемой Михаилом Клавдиевичем Тихонравовым [30]30
Тихонравов, Михаил Клавдиевич (1900–1974) – советский конструктор в области ракетостроения и космонавтики. В 1925 году окончил Военно-воздушную академию имени Н. Е. Жуковского, работал на ряде авиационных предприятий, конструировал планеры. В 1932 году возглавил бригаду в ГИРД. Руководил созданием первой советской ракеты с двигателем на гибридном топливе, занимался исследованием жидкостных ракетных двигателей, разработкой ракет для изучения верхних слоев атмосферы, вопросами повышения кучности стрельбы неуправляемыми реактивными снарядами.
[Закрыть], включал несколько важных позиций, связанных с перспективами развития ракетной техники. Тема, шедшая под обозначением 03, заключалась в разработке кислородного насоса и считалась поистине революционной. Дело в том, что существовавшие на тот момент вытеснительные системы подачи компонентов ракетного топлива отличались громоздкостью, а насос исправил бы положение. Тема 05 была посвящена обеспечению устойчивости полета реактивных аппаратов – для исследований в этой области разрабатывалась экспериментальная ракета с мощными стабилизаторами, переходящими в крылья.

Члены ГИРД обсуждают проект ракетоплана, слева направо: Н.В. Сумарокова, И.П. Фортиков, С.П. Королев, А. Левицкий, Б.И. Черановский, Ф.А. Цандер, ЮА. Победоносцев, Заботин
Третья бригада под руководством Юрия Александровича Победоносцева [31]31
Победоносцев, Юрий Александрович (1907–1973) – советский ученый, конструктор ракетной техники. В 1926 году поступил в Московское высшее техническое училище, в 1930 году закончил Московский авиационный институт. С 1925 года работал в Центральном аэрогидродинамической институте (ЦАГИ), с 1932 года – в ГИРД, с 1933 года – в РНИИ. Участвовал в создании реактивных минометов «БМ-8» и «БМ-13» («Катюша»), внес большой вклад в теорию горения порохов, установив критерий устойчивости горения, известный как «критерий Победоносцева». Автор трудов по внутренней баллистике ракетных двигателей.
[Закрыть]занималась уже сущей экзотикой – опытной проверкой теоретических основ воздушно-реактивного двигателя [32]32
Воздушно-реактивный двигатель (ВРД) – ракетный двигатель, использующий в качестве окислителя внешний воздух. Различные летательные аппараты с ВРД разрабатывались с 1930-х годов. Для начала процесса горения в таком двигателе аппарат нужно сначала разогнать, поэтому его используют только в качестве маршевого. В настоящее время нашел применение в гиперзвуковых высотных аппаратах.
[Закрыть]. Для этой цели была построена специальная установка «ИУ-1», на которой исследовались способы зажигания и условия устойчивости горения в таких двигателях.
Четвертая бригада Сергея Павловича Королёва была создана для практического осуществления полета человека на ракетоплане. На начальном этапе работа четвертой бригады сводилась к конструктивной доработке планера «БИЧ-11» [33]33
Планер «БИЧ-11» разрабатывался авиаконструктором Б. И. Черановским в рамках программы ГИРД по созданию ракетоплана «РП-1». Двигатель «ОР-2» конструкции Ф. А. Цандера предполагалось установить за кабиной пилота, а баки для горючего и окислителя – встроить в обтекатели на крыле по бокам гондолы фюзеляжа.
[Закрыть]с целью установки на нем двигателя «ОР-2».
Покровительство военных дорого стоило – теперь нельзя было ограничиться мечтами о грядущих полетах на Марс, от «гирдовцев» ждали нового оружия. Причем требовалось как можно быстрее представить конкретные результаты.
И вот тут начались сложности. Отправившись в санаторий на отдых, Фридрих Цандер подхватил по дороге сыпной тиф и 28 марта 1933 года ушел из жизни.
Не получалось «довести до кондиции» и его новый двигатель «ОР-2». Пока «гирдовцы» корпели над двигателем, было решено начать испытания нового планера «БИЧ-11» с обычным мотором [34]34
Сначала «БИЧ-11» летал как планер на IX планерных состязаниях 1933 года. Для дальнейших испытаний его оснастили поршневым мотором АВС Scorpion. Облет планера «БИЧ-11» проводился вначале на аэродроме Московской школы летчиков у станции Планерная Октябрьской железной дороги, затем – у станции Трикотажная.
[Закрыть]. Сергей Королёв лично пилотировал планер. Испытания 26 июля 1933 года едва не закончились катастрофой – машина стартовала лишь с третьей попытки и на большой скорости ударилась о землю. К счастью, Королёв уцелел.

Ракета «ГИРД-09» конструкции Михаила Тихонравова
В это время вторая бригада ГИРД работала над ракетой, проходившей в документах под индексом 07, с двигателем на бензине и жидком кислороде. Двигатель на испытаниях постоянно прогорал, поэтому в бригаде производились опыты по поиску других горючих материалов. Однажды камера сгорания взорвалась. По всему коридору гирдовского подвала прошла взрывная волна. Захлопали двери, деревянная перегородка инструментальной, примыкавшей к испытательному боксу, покосилась. А сами испытатели, работавшие за кирпичной стеной полуметровой толщины, едва устояли на ногах. Составили акт, в котором указали, что подобных опытов в подвале проводить больше не следует, и решили расходиться. Но выйти из подвала оказалось непросто – у дверей собрались возмущенные и вооруженные чем попало жильцы. «Гирдовцам» пришлось звонить в милицию и бурно объясняться.
Заставить работать двигатель для «07» никак не получалось. Помог случай. Летом 1932 года старший инженер второй бригады Николай Иванович Ефремов по заданию Королёва ездил в Баку с лекциями по ракетной технике. Там он познакомился с сотрудником Азербайджанского нефтяного института Гурвичем, который рассказал о «сгущенном» бензине. Технология производства этого продукта очень проста: бензин смешивается с канифолью, и получается масса типа солидола. Бакинский «сгущенный» бензин натолкнул Тихонравова на идею создания новой ракеты, получившей обозначение 09 [35]35
Другое название ракеты «ГИРД-09» – «Р-1», но его редко используют в исторической литературе, поскольку возникает путаница с послевоенной ракетой С. П. Королёва «Р-1», созданной на основе «А-4^-2».
[Закрыть].
Конструкция ракеты упрощалась тем, что не требовалось никаких насосов для подачи компонентов топлива в камеру сгорания. Жидкий кислород закипал в баке и вытеснялся в камеру сгорания давлением собственных паров. «Сгущенный» бензин помещался в самой камере и поджигался обычной авиасвечой. Корпус ракеты был разделен на четыре отсека: парашютный, полезного груза, топливный и хвостовой. Согласно расчетам, при стартовой массе 19 кг ракета должна была достигнуть высоты 5 км.
Старт первой советской ракеты «ГИРД-09» состоялся 17 августа 1933 года на подмосковном полигоне Нахабино. Ракета взлетела, поднявшись на высоту около 400 м. Полет продолжался 18 секунд и был признан успешным. Теперь у Королёва имелось что предъявить военному начальству.

Подготовка ракеты «ГИРД-09» к запуску
При разработке серийного варианта ракеты, получившего индекс 13, в конструкцию внесли ряд усовершенствований: увеличили тягу двигателя и изменили систему заправки кислородом. Всего было изготовлено шесть ракет, три из них поднялись до 1,5 км. Несомненно, что при дальнейшей доводке этой машины ее создатели добились бы расчетной высоты полета, но их уже поглотила разработка новых и более сложных проектов.
С момента прихода в ракетостроение Сергей Королёв «продавливал» идею создания большого Реактивного института, рассчитывая получить должность его главы. В активе молодого конструктора был определенный опыт работ в новой области техники, его ценили как руководителя, ему доверяли, выделяя крупные ассигнования на исследования. Однако когда приказом по Реввоенсовету № 0113 от 21 сентября 1933 года, а затем Постановлением № 104 Совета Труда и Обороны от 31 октября 1933 года был организован Реактивный научно-исследовательский институт (РНИИ), его начальником стал кадровый офицер Иван Терентьевич Клейменов [36]36
Клеймёнов, Иван Терентьевич (1898–1938) – советский военный инженер, один из организаторов и руководителей разработок ракетной техники. В 1928 году окончил Военно-воздушную академию имени Н. Е. Жуковского. В 1932–1933 годах возглавлял Газодинамическую лабораторию в Ленинграде (ГДЛ), в 1933–1937 годах – начальник РНИИ. В 1937 году был репрессирован, в 1955 году реабилитирован. Лишь в 1991 году Клейменов был признан одним из конструкторов реактивных минометов «БМ-8» и «БМ-13» («Катюша»), посмертно удостоен звания Героя Социалистического Труда.
[Закрыть]. Королёву пришлось довольствоваться должностью заместителя. Позднее это спасло Сергею Павловичу жизнь.
1.4. Немецкие «Фау»
После поражения Германии в Первой мировой войне на численность и вооруженность немецкой армии были наложены серьезные ограничения. Пострадала и артиллерия – Версальский договор разрешал Германии иметь всего две сотни полевых орудий и меньше сотни гаубиц. Победители с мелочной мстительностью даже рассчитали и записали в договор положенное к перечисленным орудиям количество снарядов. Однако о ракетах там ничего не было сказано. Этим и воспользовались генералы рейхсвера, в тайне от мира осуществлявшие перевооружение своей армии [37]37
В Германской республике, образованной после поражения в Первой мировой войне, существовал так называемый «черный рейхсвер» – теневая армия, состоящая из внешне благопристойных гражданских и спортивных объединений. Отряды «черного рейхсвера» объединили около четырех миллионов здоровых и способных носить оружие мужчин, имевших опыт боевых действий. Был сохранен даже Генеральный штаб, действующий под видом Управления войск. Часть ветеранов служила в полицейских силах, и впоследствии многие из них возглавляли дивизии и корпуса. Каждый солдат и офицер «черного рейхсвера» готовился таким образом, чтобы в случае войны сразу принять командование: при этом майоры становились полковниками или генералами, а лучшие унтер-офицеры превращались в лейтенантов или капитанов.
[Закрыть].
В 1930 году при военном министерстве был создан отдел баллистики во главе с полковником Карлом Беккером [38]38
Беккер, Карл Хенрих Эмиль (1879–1940) – немецкий военный инженер, первый руководитель ракетной программы Третьего рейха. В 1911 году закончил Берлинскую военно-инженерную академию, в 1908–1911 годах работал техническим ассистентом в лаборатории баллистики. В период Первой мировой войны командовал артиллерийской батареей. После войны изучал химию и металлургию. В 1922 году получил докторскую степень. В 1930 году возглавил Отдел баллистики и боеприпасов при Управления вооружениями сухопутных сил. В 1937 году в звании генерала стал первым президентом Научно-исследовательского совета рейха. Покончил с собой после жесткой критики со стороны Адольфа Гитлера.
[Закрыть]. Ракеты с жидкостными двигателями теоретически давали возможность стрелять дальше, чем артиллерия, а в отличие от авиации были практически неуязвимы в полете.
Однако задача создания боевых серийных ракет, поставленная перед отделом Беккера, была в то время почти невыполнима. Ведь не имелось ничего, чем можно было бы руководствоваться при их конструировании военным инженерам. Ни один технический институт в Германии не вел работу в области ракет.
Не занималась этим и промышленность. Не удалось даже найти хоть какого-нибудь изобретателя, способного предложить готовый проект.
В 1930 году в отделе появился новый человек – капитан Вальтер Дорнбергер [39]39
Дорнбергер, Вальтер Роберт (1895–1980) – немецкий инженер, один из основателей тяжелого ракетного машиностроения, генерал-лейтенант. Сразу после окончания школы был призван в армию. В Первую мировую войну служил в тяжелой артиллерии, в 1918 году попал в плен. В 1930 году окончил Шлоттенбургскую высшую техническую школу в Берлине и в том же году по протекции К. Беккера был направлен в Отдел баллистики и боеприпасов Управления вооружениями сухопутных сил рейхсвера. Имея звание капитана, стал фактическим научным куратором всех ракетных исследований. В 1937–1945 годах руководил ракетным центром Пенемюнде. В 1945 году сдался в плен американцам. После отбывания наказания за военные преступления работал научным консультантом фирмы Bell Aircraft Corporation.
[Закрыть], профессиональный офицер, служивший в тяжелой артиллерии во время Первой мировой войны. И дело сдвинулось с мертвой точки. Дорнбергер следил за новыми веяниями и даже посещал запуски ракет Mirak, изготовленных членами Общества межпланетных сообщений. Однако работа гражданских энтузиастов не соответствовала требованиям армии, и Дорнбергер с согласия начальства взялся за организацию новой испытательной станции – на артиллерийском полигоне в Куммерсдорфе, в 27 км южнее Берлина.

Вернер фон Браун с моделью ракеты «А-4» («V-2») (© NASA)
Ветеран сделал ставку на молодого талантливого инженера – барона Вернера фон Брауна [40]40
Фон Браун, Вернер Магнус Максимилиан (1912–1977) – немецкий конструктор ракетно-космической техники, основоположник современного ракетостроения, создатель тяжелых баллистических ракет на жидком топливе. Принадлежал к аристократическому роду и слыл шалопаем, но прочел книгу Г. Оберта «Ракета для межпланетного пространства» и не на шутку увлекся идеей космических полетов. В 1930 году В. фон Браун поступил в Берлинский технический университет и присоединился к Обществу межпланетных сообщений. Также учился в Швейцарской высшей технической школе Цюриха. В 1932 году принят в ракетную научную группу В. Дорнбергера, с 1937 года – технический руководитель ракетного центра Пенемюнде. Чтобы получить эту должность, ему пришлось вступить в Национал-социалистическую партию и СС. В 1945 году В. фон Браун сдался наступающей американской армии вместе с документацией и сотрудниками центра Пенемюнде. В США возглавил Службу проектирования и разработки вооружения армии в Форт-Блиссе (штат Техас). С 1950 года работал в Редстоунском арсенале в Хантсвилле (штат Алабама). С 1956 года – руководитель американской программы разработки межконтинентальных баллистических ракет. С 1960 года – директор Центра космических полетов НАСА, руководитель разработок ракет-носителей серии Saturn.
[Закрыть], с юности увлекавшегося ракетным делом.
Первого ноября 1932 года фон Браун приступил к работе в Куммерсдорфе под началом у Дорнбергера, постепенно набирая помощников. Первоначально весь его «штат» состоял из механика Генриха Грюнова; вскоре к ним присоединился «двигателист» Вальтер Ридель [41]41
Ридель, Вальтер (1902–1968) – немецкий инженер, конструктор жидкостных ракетных двигателей. Вошел в историю ракетостроения как «Папа» Ридель (его часто путают с другим ракетчиком из группы В. фон Брауна – Клаусом Риделем). Работал на химическом заводе Хейланда, где в 1930 году познакомился с энтузиастом космонавтики Максом Валье. Вместе с Валье сконструировал двигатель для ракетного автомобиля, а после смерти последнего в результате взрыва продолжал работать в этой области. В 1932 году присоединился к В. фон Брауну и сконструировал первые двигатели для его ракет, возглавлял Конструкторское бюро ракетного центра Пенемюнде. В 1945 году попал в плен к американцам и был отправлен в лагерь. После войны около года работал в Англии, потом переехал в США, где руководил исследовательской группой в North American Aviation Corporation.
[Закрыть].
Став сотрудником полигона, Вернер фон Браун получил через Беккера небольшую финансовую поддержку армии для проведения экспериментов, связанных с диссертацией, а 27 июня 1934 года с успехом защитил ее, став самым молодым доктором технических наук в Германии. Диссертация называлась «Конструктивные, теоретические и экспериментальные соображения к проблеме жидкостных ракет». Поскольку тема была секретной, текст диссертации опубликовали лишь после 1945 года.
Новому коллективу предстояло решить массу практических задач. И первая из них – какое топливо для серийной ракеты предпочесть? Пионеры «космического» ракетостроения уже накопили определенный опыт работы с сочетаниями спирт-кислород, бензин-кислород и керосин-кислород. Нефтепродукты калорийнее спирта, однако высокая калорийность подразумевает и более высокую температуру факела – без охлаждения камера сгорания быстро теряла прочность. Соответственно, охлаждение камеры сгорания и сопла становилось целой проблемой. Кроме того, за счет спирта можно уменьшить вес ракеты – спирт требует при горении меньшее количество окислителя: чтобы полностью сжечь 1 кг бензина, необходимо иметь 3,5 кг кислорода, а чтобы сжечь 1 кг спирта, нужно всего лишь около 2 кг кислорода.
Вальтер Ридель отыскал еще один довод в пользу спирта. Ракетный двигатель в процессе работы можно охлаждать путем впрыскивания внутрь камеры сгорания некоторого количества воды. И спирт в отличие от нефтепродуктов можно прямо смешать с охлаждающей водой, отказавшись от дополнительных форсунок. Если бы перед Риделем стояла задача сделать двигатель для космической ракеты, то, возможно, он выбрал бы в качестве горючего керосин, надеясь решить проблемы охлаждения камеры сгорания в дальнейшем, однако в той ситуации предпочтение было отдано этиловому спирту.
Деятельность станции «Куммерсдорф» началась с постройки испытательного стенда. В декабре 1932 года на нем был установлен первый двигатель, работающий на смеси спирт-кислород. Однако попытка запустить его окончилась неудачей – двигатель взорвался. Последовал полный разочарований год: ракетные двигатели прогорали в критических точках, пламя факела шло в обратном направлении и воспламеняло топливные форсунки. Но между неудачами случались и успешные запуски, которые показывали, что двигатель можно заставить работать. В 1933 году наступило время проектирования полноразмерной ракеты. Условно она была названа «Aggregat-1» или «А-1».
Сразу встал вопрос об управляемости ракеты. Как опытный артиллерист Вальтер Дорнбергер полагал, что ракета должна стабилизироваться вращением, подобно гироскопу. Поэтому он предложил создать ракету с вращающейся боевой частью и невращающимися баками.
Пока шло проектирование «А-1», двигатель удалось доработать, значительно подняв тягу. Конструкторы решили, что можно сразу делать большую ракету, отказавшись от промежуточного варианта, и запустили в работу следующий проект – «А-2». При этом поменялись не только размеры ракеты, но и ее компоновка – стабилизирующая вращающаяся часть помещалась теперь не в голове ракеты, а в пространстве между баками горючего и окислителя.
К декабрю 1934 года были изготовлены две ракеты типа «А-2», названные в шутку «Макс» и «Мориц», по именам парочки комиков, весьма популярных в Германии. Обе они были перевезены на остров Боркум в Северном море и запущены незадолго до рождественских праздников. Ракеты поднялись на высоту 2000 м, причем тяга обеспечивалась не новым, а старым двигателем.
Удачные запуски вдохновили конструкторов, однако выявили очередную группу проблем. Стало ясно, что с помощью гироскопов необходимо не только корректировать отклонение ракеты от оси полета, но и пресекать малейшие колебания по всем трем осям: по курсу, крену и тангажу [42]42
Курс, крен, тангаж – угловые координаты движущегося тела, характеризующие его отклонение от трех осей координат. Проще говоря, курс – носом вправо или влево, крен – на левый или правый борт, тангаж – носом вверх или вниз.
[Закрыть].
Рассмотрели несколько вариантов стабилизации ракеты. К примеру, предлагалось установить крылья – то есть фактически шла речь о создании крылатой ракеты или ракетоплана. Однако исследования показывали, что на начальном участке траектории, когда скорость еще низка, крылья неэффективны, а на больших высотах их использование вообще теряет смысл.

Расположение газовых рулей в хвостовой части ракеты: 1 – сопло двигателя; 2 – газовый руль; 3 – ось поворота руля
Решение проблемы нашли в применении газовых рулей. К тому времени было уже известно, что если воздушный поток крайне изменчив, то струя истекающих из ракеты газов постоянна по своим характеристикам. Это навело на мысль, что поверхности управления можно установить прямо в «выхлопе». Первым такой вариант описал еще Константин Циолковский, за ним идею высказал Герман Оберт. Последний особенно подчеркивал, что газовые рули должны управлять ракетой путем сжатия истекающей струи своими плоскими поверхностями.
В итоге конструкторской работы появилась ракета «А-3». Ее носовая часть была заполнена батареями. Под ними размещался приборный отсек с барографом и термографом; там же установили миниатюрную кинокамеру, снимавшую в полете их показания. Имелось аварийное устройство отсечки топлива, действовавшее с помощью сигнала по радио. Ниже отсека с приборами был расположен бак с кислородом, затем шел отсек с парашютом, потом бак с этиловым спиртом и, наконец, ракетный двигатель. В составе оборудования «А-3» имелась гиростабилизированная платформа с акселерометрами для корректирования ракеты в полете по тангажу и по курсу, но главное – электрические сервомоторы и молибденовые газовые рули.
Территория испытательной станции в Куммерсдорфе оказалась мала для обеспечения масштабных работ. Необходимо было сменить место, и после недолгих поисков Вернер фон Браун нашел его. Новый ракетный центр решили возвести на балтийском острове Узедом, расположенном в устье реки Пене, близ рыбацкого поселка Пенемюнде. На разработку ракетного оружия из бюджета Германии было выделено 20 млн рейхсмарок.
Хотя новая станция и получила название Армейская экспериментальная станция Пенемюнде, ее равноправными хозяевами стали армия и ВВС. При этом армейцам отводилась лесистая часть острова восточнее озера Кельпин – ее назвали «Пенемюнде-Восток». Представители ВВС облюбовали себе пологий участок местности к северу от озера, где можно было соорудить аэродром; эта зона получила название «Пенемюнде-Запад».
Строительство на острове Узедом велось с размахом: посреди дикой местности вырастали здания цехов, станции серийных испытаний, экспериментальной лаборатории, завода по производству жидкого кислорода, электростанции. На северной стороне острова укладывались плиты аэродромного покрытия, сооружались стартовые площадки, стенды. Южнее располагался городок научно-технического персонала. Несколько в отдалении собирались бараки для рабочих. Через остров проложили железные и шоссейные дороги.

Снимок стартового стола в Пенемюнде, сделанный с британского самолета-разведчика 23 июля 1943 года
Запуски четырех ракет «А-3» были проведены в декабре 1937 года. Хотя двигательная установка отработала как надо, система наведения и стабилизации не оправдала возлагавшихся на нее надежд. Газовые рули «А-3» оказались слишком малы, а реакция сервосистемы на сигнал управления запаздывала. Требовалось вновь пересмотреть всю концепцию.
В компоновке нового варианта большой ракеты, получившей обозначение «А-5», использовался двигатель ракеты «А-3», но снабженный большими газовыми рулями из графита. Кроме того, ракете была придана более совершенная обтекаемая форма с хвостовым оперением в виде четырех стабилизаторов – форму отработали в аэродинамической трубе, а также сбрасывая модели с самолетов. Но что важнее всего – на «А-5» установили самую современную систему управления. Запуски «А-5» начались осенью 1938 года, но только через год, когда уже шла война с Польшей, эта ракета стартовала с полным оборудованием и безупречно поднялась на высоту 12 км. Всего состоялось 25 пусков ракет «А-5»: сначала они стартовали вертикально, затем – по наклонной траектории. Конструкторы могли вздохнуть с облегчением: полеты «А-5» подтвердили правильность выбранных решений.
Уже в то время, когда ракета «А-3» находилась на стадии проектирования (лето 1936 года), Вернер фон Браун и Вальтер Ридель задумали построить ракету, которая в дальнейшем стала известна как «А-4». Она должна была доставить боевую часть весом в 1000 кг на расстояние в 260 км. По этим данным можно спроектировать большое количество совершенно разных ракет, но выбор габаритов определился элементарным соображением: требовалось доставить новое оружие вплотную к линии фронта, а следовательно, максимально допустимые габариты диктовались шириной туннелей и кривизной закруглений железнодорожной колеи. Для такой ракеты требовался новый мощный двигатель, и за его разработку взялся талантливый конструктор Вальтер Тиль. Он не только сумел улучшить конструкцию, предложенную Риделем, но и добился полного и равномерного сгорания топлива, использовав специальные центробежные форсунки.

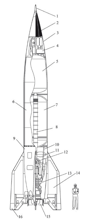
Схема баллистической ракеты «А-4^-2» (рисунок А. Шлядинского): 1 – наконечник с головным взрывателем; 2 – боевая часть;
3 – приборный отсек; 4 – приборы системы управления; 5 – бак горючего; 6 – топливный отсек; 7 – бак окислителя; 8 – тоннель трубопровода горючего; 9 – хвостовой отсек; 10 – рама ракетного двигателя; 11 – бак перекиси водорода; 12 – турбонасосный агрегат; 13 – камера сгорания и сопло; 14 – стабилизаторы; 15 – газовые рули; 16 – воздушные рули
В двигателе «А-4» были применены и другие технологические новшества: пленочное охлаждение, сварные стенки камеры сгорания.
Ракета «А-4» имела общую длину 14,3 м и стартовый вес 12,7 т и состояла из четырех отсеков. Носовая часть представляла собой боевую головку массой 1 т. Ниже находился приборный отсек, в котором наряду с аппаратурой помещались стальные цилиндры со сжатым азотом, используемым для повышения давления (вытеснения) в баке с горючим. Ниже приборного располагался топливный отсек – самая объемистая и тяжелая часть ракеты. Бак с этиловым спиртом располагался в верхней части этого отсека. Из него через центр бака с кислородом проходил трубопровод, подававший горючее в камеру сгорания. Самой важной новинкой в «А-4» по сравнению с другими ракетами было наличие турбонасосного агрегата для подачи компонентов топлива к форсункам двигателя.

Принцип работы двигателя «Овен» ракеты «А-4»
В 1940 году ракетный центр Пенемюнде вдруг оказался на «голодном пайке»: начавшаяся война жадно поглощала ресурсы, и финансирование резко снизилось. Но все же к лету 1942 года ракетчикам удалось выпустить опытные образцы «А-4».
Первый экспериментальный запуск новой большой ракеты состоялся 13 июня 1942 года в присутствии министра вооружений Альберта Шпеера и фельдмаршала Эрхарда Мильха. Зрелище было столь эффектным, что и через двадцать пять лет Шпеер вспоминал о нем с благоговением: «В пусковую секунду, сначала как бы нехотя, а затем с нарастающим рокотом рвущего оковы гиганта, ракета медленно отделилась от основания, на какую-то долю секунды, казалось, замерла на огненном столбе, чтобы затем с протяжным воем скрыться в низких облаках. Лицо Вернера фон Брауна сияло от счастья. Я же был просто потрясен этим техническим чудом – опровержением на моих глазах привычного закона тяготения: без всякой механической тяги вертикально в небо вознеслись тринадцать тонн груза!..»
Однако столь эффектный взлет завершился провалом – двигатель ракеты отработал 36 секунд, после чего она рухнула на землю в 1,3 км от старта. Второй запуск состоялся только через два месяца, ракета поднялась на 11 км, но в полете разрушилась головная часть.
Успех сопутствовал лишь третьей ракете «А-4» – ясным днем 3 октября 1942 года она преодолела расстояние в 190 км. Радости конструкторов не было предела, однако следующие запуски вновь принесли разочарование. Большая ракета еще требовала доводки.
Семнадцатого февраля 1943 года работники Пенемюнде запустили «А-4» вертикально вверх, чтобы узнать ее «потолок». Ракета достигла высоты 192 км, преодолев таким образом условную границу космоса. На корпусе этой ракеты техники нарисовали голую красотку, сидящую на лунном серпе, – в память о фантастическом фильме Фрица Ланга «Женщина на Луне».
Немецкие ракетчики оставались энтузиастами освоения Вселенной, они часто обсуждали возможность создания искусственных спутников Земли и пилотируемых космических кораблей. Вернер фон Браун налаживал контакты с метеорологами и астрономами, чтобы начать научные исследования с помощью ракет. Однако эта деятельность была запрещена на высшем уровне – ракетчиков чуть не обвинили в государственной измене и саботаже. После «профилактического» ареста Вернера фон Брауна сотрудники Пенемюнде занимались исключительно военными аспектами применения ракет…

Старт ракеты «А-4» на полигоне Пенемюнде
Еще весной 1942 года английская агентура в Германии получила информацию, что Пенемюнде является важнейшим военным объектом. Информация требовала проверки, и командование стало посылать разведывательные самолеты в этот район Балтики, однако, чтобы не выдать немцам своих намерений, англичане фотографировали все побережье – от Киля до Ростока. Через некоторое время летчики сообщили, что немцы вполне примирились с частыми полетами над этим районом, а однажды один из разведчиков вернулся с фотоснимком, на котором было изображено нечто похожее на небольшой самолет на наклонной пусковой установке [43]43
На этом снимке был запечатлен самолет-снаряд «Fi-103» с пульсирующим воздушно-реактивным двигателем, который разрабатывался сотрудниками «Пенемюнде-Запад» по заказу немецких ВВС и вошел в историю как «V-1».
[Закрыть].

Разрушения на улицах Лондона, причиненные ракетами «V-2»
Вечером 17 августа 1943 года немцы узнали о концентрации крупных сил английской бомбардировочной авиации над Балтийским морем, но сделать уже ничего не успели. Ночью Пенемюнде подверглось налету более 300 тяжелых бомбардировщиков, сбросивших огромное количество фугасных и зажигательных бомб. Целями бомбардировки были испытательные стенды, производственные цеха и поселок на острове Узедом. Человеческие потери составили 735 человек. Среди них был и главный «двигателист» Вальтер Тиль.
Однако разрушение ракетного центра уже не могло остановить Адольфа Гитлера, который увидел в «А-4» оружие, способное поставить Англию на колени и вывести ее из войны.
Вернувшись однажды из ставки, рейхсминистр Геббельс опубликовал в «Фёлькишер Беобахтер» следующее зловещее заявление: «Фюрер и я, склонившись над крупномасштабной картой Лондона, отметили квадраты с наиболее стоящими целями. В Лондоне на узком пространстве живет вдвое больше людей, чем в Берлине. Я знаю, что это значит. В Лондоне вот уже три с половиной года не было воздушных тревог. Представьте, какое это будет ужасное пробуждение!..»




























