Текст книги "Строим баню"
Автор книги: Елена Доброва
Жанр:
Прочее домоводство
сообщить о нарушении
Текущая страница: 3 (всего у книги 24 страниц) [доступный отрывок для чтения: 9 страниц]
Проектирование бани
Наиболее простой вариант расположенной отдельно от жилого помещения бани – бревенчатая избушка, которая состоит из помещения, служащего одновременно раздевалкой и парилкой. Для его отопления используют дровяную печь или электрокамин, установленные в углу парилки. Три полки шириной по 60 см расположены ступенями друг над другом. Такой вариант бани требует наименьшего расхода строительных материалов, материальных затрат и топлива.
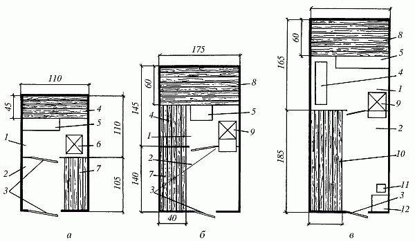
На рис. 2 представлены планы традиционных бань, состоящих из парной, моечной и раздевалки.

Рис. 2. Бани: а – баня для 1–2 человек с размещением сидя; б – баня для 2–3 че-ловек с размещением сидя и лежа; в – баня для 3–4 человек с размещением сидя и лежа; 1 – вешалка; 2 – предбанник; 3 – парная; 4 – моечная; 5 – скамья; 6 – полок; 7 – лежанка; 8 – двери; 9 – электропечь-каменка; 10 – стол; 11 – шкафы
Первый вариант (рис. 2, а) предназначен для одновременного мытья двух человек, но в парной может находиться только один из них. Для экономии места в такой бане скамейки лучше заменить на небольшие низкие табуретки.
В бане, представленной на следующем плане (рис. 2, б), могут одновременно мыться три человека. В парной двое из них могут забраться на верх-ний полок и разместиться там, поджав ноги. Отапливать такую баню лучше всего печкой-каменкой из моечной.
Самый комфортный вариант бани приведен на рис. 2, в. Расчет всех ее помещений произведен с учетом того, что человек на полках располагается лежа. Печку-каменку в такой бане рекомендуется разместить в предбаннике, чтобы топить ее, не заходя в моечную.
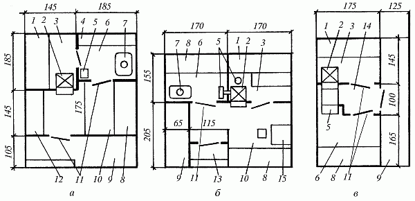
На рис. 3 представлены планы малогабаритных бань, в которых парная совмещена с моечной.

Рис. 3. Малогабаритные бани: а – баня для 1 человека; б – баня для 2 человек; в – баня для 3 человек; 1 – парная-моечная; 2 – предбанник; 3 – двери; 4 – полок для размещения сидя; 5 – подставка; 6 – электропечь-каменка; 7 – скамейка; 8 – полок-лежанка; 9 – печь-каменка для топки дровами; 10 – лежанка; 11 – стул; 12 – стол
Основным преимуществом таких бань является то, что они занимают в два раза меньше места, чем традиционные, а главным недостатком – невозможность создать высокую температуру и поддерживать низкую влажность воздуха. Поэтому при пользовании такой баней надо очень аккуратно мыться, стараясь не расплескивать воду. Кроме того, если в бане одновременно находится несколько человек, то сначала им лучше попариться, затем проветрить помещение и только после этого приступать к мытью.
Если вы собираетесь совмещать посещение бани с общением в кругу приятных вам людей, то ее полезная площадь должна быть не менее 12 м2, а парная и моечная разделены.
Так вам будет удобнее поддерживать разные температурные режимы в этих помещениях, когда одни будут париться, а другие мыться.
Полок в парной должен быть достаточно широким и длинным, чтобы на нем можно было не только сидеть, но и лежать.
Предлагаем вам приблизительные размеры бани, которая предназначена для одновременного посещения 2–3 человек:
– наружные размеры бани 4 х 4 м;
– парная 200 х 150 см;
– моечная 200 х 200 см;
– предбанник 150 х 240 см.
Если полезная площадь бани менее 2 м2, то она называется банной камерой или банным шкафом.
Естественно, что ни мини-бани, ни банные камеры не отличаются тем комфортом, который может предоставить баня, построенная на больших приусадебных участках с полезной площадью 14–16 м2.
На рис. 4 представлены три варианта таких бань.

Рис. 4. Бани с полезной площадью более 12 м2: а – баня с террасой; б – баня с террасой и крыльцом; в – баня с террасой и тамбуром; 1 – полок; 2 – печь-каменка; 3 – парная; 4 – скамейка; 5 – емкость для горячей воды; 6 – моечная; 7 – душевой поддон; 8 – лежанка; 9 – терраса; 10 – предбанник; 11 – двери; 12 – подставка; 13 – крыльцо; 14 – тамбур; 15 – стол
К бане на первом плане (рис. 4, а) пристроена удобная терраса с навесом, которую можно использовать как место отдыха. В предбаннике имеются лежанка и место для складирования дров, служащее одновременно подставкой для емкости с водой.
В бане на рис. 4, б вместо террасы – широкое крыльцо с навесом, на котором расположена удобная лежанка.
С помощью легкого приспособления высота лежанки меняется, и она может использоваться как для сидения или лежания, так и для выполнения некоторых хозяйственных работ в качестве верстака.
В просторном предбаннике, кроме лежанки, можно разместить небольшой стол и стулья. Из предбанника две двери ведут в парную и моечную, оборудованную душем.
На третьем плане (рис. 4, в) предбанник заменен террасой или верандой, а вход в парную и моечную осуществляется через тамбур, в котором находится печь-каменка.
Предлагаем вам еще один вариант бани для 5–6 человек (рис. 5), состо-ящей из парной, моечной, предбанника и открытой веранды. Печь-каменка, находящаяся в парной, совмещена с камином и отапливается из предбанника.

Рис. 5. Баня для 5–6 человек: 1 – терраса; 2 – окно; 3 – стол; 4 – лежанка; 5 – предбанник; 6 – печь-каменка; 7 – полок; 8 – отдушина; 9 – парная; 10 – душевой поддон; 11 – моечная; 12 – двери; 13 – камин; 14 – вешалка; 15 – подставка-скамейка; 16 – перила
На садовом участке баню-сауну, как указывалось выше, можно совместить с жилым помещением. Домик в этом случае обычно состоит из открытой веранды, жилой комнаты – гостиной, кухни, душа с туалетом и сауны. Вход в парилку, площадь которой составляет 3,7 м2, – из примыкающей к душу раздевалки. Ее обогрев осуществляется с помощью установленной здесь электрической печи. Полки в парилке размещают в два яруса, так что на них одновременно могут париться от двух до шести человек. Если сауной по какой-то причине не пользуются, полки смещают до одного уровня, а помещение используют как спальню. Воду для сауны нагревают электроподо-гревателем объемом 25 л, который устанавливают на стене душа.
Можно построить садовый домик с баней или пристроить баню к существующему помещению, например к открытой террасе садового домика площадью 25 м2. Для переодевания может быть использована жилая комната. Парилка имеет площадь 3,6 м2, высота ее – 2 м. Для отопления применяют металлическую печь постоянного действия. Стены деревянной каркасной конструкции – с тепловой изоляцией. Вблизи печи стену выкладывают из кирпича. Полок шириной 80–90 см располагают на высоте около метра. Рядом с парилкой находится душевая. Если летний домик расположен вблизи водоема или на участке имеется бассейн, от душевой можно отказаться.
С террасой дачи полезной площадью 35 м2 можно связать банный блок, состоящий из предбанника (4 м2), душевой (2 м2) и парилки (4 м2).
Малые размеры бани или сауны позволяют быстро ее нагревать электрической или дровяной печью. В ней могут одновременно париться несколько человек.
Планировка идеальна, когда дверные проемы находятся в стенах, перпендикулярных друг другу.
Строительные материалы
Лучшим материалом для строительства бани традиционно считается дерево. Из нее можно построить всю баню. Но не всякая древесина годится для этого. Опорные подушки, фундаментные столбы, первый венец сруба и лаги для пола лучше всего сделать из дубовых бревен, полученных из недавно спиленного здорового дерева и высушенных под навесом на подставках.
Бревна, брусья и доски для третьего и четвертого венцов сруба, пола и матицы потолка прослужат дольше, если они сделаны из лиственницы или смолистой рудовой сосны. При использовании сосны следите за тем, чтобы на лесоматериалах с внутренней стороны бани не было смоляных полостей и подтеков.
Самый долговечный фундамент для бани – из лиственницы.
Пиломатериалы из легкой белой ели и липы хорошо впитывают влагу и являются неплохим звукоизолирующим материалом. Они подойдут для верхних венцов, потолка и внутренней обшивки стен. Из мягкой и теплой липы получаются замечательные полки, подставки, скамеечки и т. д.
Но не расстраивайтесь, если при выборе материала в силу каких-либо причин вы не сможете соблюсти все наши рекомендации. При соответствующей обработке отличный материал можно получить из любой породы дерева.
Если вы живете в сельской местности, где поблизости находится лес, то дешевле все необходимые лесоматериалы заготовить самому. Лучшая строительная древесина заготавливается в сухом лесу (после пожара), т. к. она практически не подвержена гниению, имеет небольшой вес, легко обрабатывается, в ней не заводятся вредные насекомые.
Отправляясь в лес, необходимо взять с собой ножовку, топор, складной метр или рулетку. Валка деревьев в лесу должна производиться с учетом следующих рекомендаций:
– дерево рубится на расстоянии 10 см от поверхности земли;
– срубленное дерево валится в направлении его естественного наклона;
– перед тем как приступить к валке первого дерева, в месте его предполагаемого падения на расстоянии 2,5–3 м под него подкладывается лежка – бревно диаметром 20–25 см и длиной 2 м, чтобы впоследствии при отпиливании верхней части бревна не произошло зажатия пилы;
– следующие деревья валятся на первое или на близлежащие;
– подпиленное бревно валится с помощью длинной жерди, которая упирается в основание сучка.
Сначала дерево подрубается со стороны его естественного наклона, т. е. с той, куда оно будет падать. Подрубка производится ниже 10-сантиметровой отметки в виде острого угла, на глубину 5–10 см. Затем с противоположной стороны производится запиливание выше 10-сантиметровой отметки. Запиливание делается под углом так, чтобы спиленное дерево не упало на человека.
Если при недопиленной на 1–1,5 см части ствола дерево начинает валиться, надо вынуть пилу из пропила и отойти в сторону. В противном случае дерево раскачивается жердью до тех пор, пока не упадет.
На сваленном дереве обрубают сучки, кроме тех, которые находятся на вершине: они помогут зафиксировать дерево при пилении. С помощью метра или рулетки размечают нужную длину бревен, топором вырубают неглубокие канавки – риски и по ним производят распиловку.
Кроме древесины, для строительства бани широко используются различные пиломатериалы.
Среди листовых материалов, выполненных из древесины с использованием различных добавок, при строительстве бани применяются:
– древесно-волокнистые плиты (ДВП);
– древесно-стружечные плиты (ДСП);
– фанера.
Если вы хотите использовать водостойкую фанеру или ДВП для обшивки потолка и стен предбанника, то предварительно их надо пропитать олифой или масляным лаком.
Для кладки фундамента и стен бани можно использовать различные виды естественных и искусственных материалов: куски известняка неправильной формы, т. н. бутовый камень; бетонные и шлакобетонные камни, кирпич и гипсовые плиты.
Строительные растворы, скрепляющие кирпичи или камни между собой, бывают воздушными (застывают только на воздухе) – воздушная известь, гипс, глина – и гидравлическими (застывают и на воздухе, и в воде) – гидравлическая известь, портландцемент и его производные.
Кровельные материалы подразделяются на жесткие (различные виды черепицы, шифер) и мягкие (толь, рубероид). Лучшим кровельным материалом при строительстве бани является оцинкованная листовая сталь. Но можно использовать и шифер, отличающийся особой прочностью, легкостью, малой теплопроводностью и огнестойкостью. Благодаря этим качествам шифер может использоваться и как стеновой материал.
К теплоизоляционным относятся следующие:
– керамзит, выпускаемый в качестве заполнителя легких бетонов, но его можно использовать и как насыпной теплоизоляционный материал (200–800 кг/м3);
– мягкие или полужесткие минераловатные плиты для утепления потолков и стен;
– строительный шерстяной войлок в виде полос, используемый в основном под штукатурку.
Уберечь стены и потолок бани от воздействия на них влаги вам помогут пароизоляционные материалы: фольга, бумага на фольге, фольга со стекловолокном, полиэтиленовая пленка, пергамин. Мы не советуем вам использовать толь для этих целей, т. к. при нагревании она издает неприятный запах. Остановимся подробнее на характеристике различных строительных материалов.
Древесина
Ни один из строительных материалов не обладает такими качествами, как древесина. Она наиболее удобна в обработке. Кроме того, это один из самых прочных, легких материалов, долго сохраняющих тепло и приятный запах. Из дерева можно сделать все, что угодно: от простой деревянной ложки до самолета. Хотя и то и другое потребует от вас усилий, усердия и прежде всего желания.
Для того чтобы приступить к работе с древесиной, вам обязательно потребуется терпение. Не беда, если что-то с первого раза у вас не будет получаться – все приходит с опытом. Глазомер и твердая рука тоже будут вашими помощниками, которые не позволят ошибиться при резании, пилении, сверлении, долблении и вытачивании древесины.
Древесина не относится к капризным строительным материалам, но некоторые ошибки она вам не простит: нельзя будет надставить несколько сантиметров неровно отпиленной доски или выровнять испорченную поверхность без ущерба для будущего изделия. Это не пластилин и не глина, но в пластичности древесина им тоже не уступает.
Сырая или специально вымоченная древесина прекрасно принимает ту форму, которую вы пожелаете ей придать.
При работе вы можете либо исказить, либо подчеркнуть текстурованный рисунок древесины. Во втором случае выполненное вами изделие только выиграет и прекрасно будет смотреться без покрытия слоем краски. А усилить игру тонов вам помогут различные древесные лаки, которые наносятся на поверхность двумя-тремя тонкими слоями.
Чтобы ваш будущий шедевр максимально подчеркивал текстурованный рисунок древесины и не противоречил ему, вам прежде всего потребуется внимательно рассмотреть брусок.
Нет такого отрезка древесины, на котором бы не прослеживалось направление роста волокон. Наиболее полное представление о том, что получится из выбранного вами бруска, может возникнуть только в том случае, если вы распилите брусок по трем направлениям: под углом 45°, вдоль волокон и поперек них.
Срез под углом в 45° называется тангентальным и дает текстурованный рисунок в виде конусообразных линий. Срез вдоль волокон – радиальный, который покажет параллельные линии волокон.
Срез, проходящий поперек волокон, по сути дела представит текстурованный рисунок из годичных колец. Такой срез так и будет называться – поперечный.
Если правильно расположить на бруске задуманный чертеж, то внешний вид будущего изделия от этого только выиграет. Кроме того, сложность и красота предполагаемого рисунка напрямую зависят от сложности текстуры древесины.
Строение древесиныСделав только поперечный срез, вы можете наиболее четко рассмотреть строение древесины. Каждый брусок необтесанного дерева имеет кору – это кожа дерева, которая не используется в работе, ее обязательно нужно снимать. Под корой располагается зона роста дерева, которая практически не различима невооруженным глазом. На свежем спиле с растущего дерева этот слой камбия представлен очень хорошо. После того как вы снимите кору, вам откроется тонкая прослойка влажной ткани зеленоватого цвета – это и будет камбий. За ним расположена собственно древесина с годичными кольцами. Древесину еще называют заболонью. В центре каждого дерева есть ядро, которое по цвету может сливаться с заболонью или иметь более темный цвет. В зависимости от этого разделяют заболонные породы древесины, где ядро не имеет ярко выраженной структуры и клетки расположены так же плотно, как и в заболони, и ядровые, где, соответственно, ядро хорошо различимо. Иногда заболонные породы дерева называют безъядровыми.
К ядровым древесным породам относятся все хвойные (сосна, кедр, ель, тис, лиственница) и некоторые лиственные породы, например дуб, ясень, тополь. Большинство лиственных пород составляет ряд заболонных, или безъядровых: береза, граб, ольха, клен, граб.
Кроме микроструктуры древесины, куда относится плотность расположения древесных клеток, на создание композиции и возможность использования того или иного бруска в работе влияет и ее макроструктура, представленная годичными кольцами и сердцевидными сосудами. К макроструктуре также относится наличие различных сучков, наростов и неразвившихся побегов-глазков, которые отклоняют годичные кольца и образуют различные свилеватости.
Древесина, где очень четко различимы годичные кольца, горизонтальные и вертикальные сосуды, представляется наиболее интересной для обработки. Практически все хвойные породы – граб, дуб, ильм, бук – обладают такой макроструктурой.
Породы древесиныВ зависимости от того, что вы хотите сделать, используется та или иная порода древесины. Прежде всего нужно определить, принадлежит выбранный вами брусок к хвойным породам или лиственным.
Хвойные породы обладают более резким, смолянистым запахом. Кроме того, макроструктура таких пород дерева лучше выделена, чем у лиственных. К хвойным породам древесины относят сосну, лиственницу, пихту, ель, кедр.
Сосна наиболее часто используется как строительный материал. Окраска древесины сосны может быть как красновато-желтой, так и бледно-желтой, причем это нисколько не сказывается на ее рабочих свойствах. Сама древесина прочная, легкая, удобная в обработке. Кроме того, из-за высокого содержания смолы древесина очень стойка к гниению и воздействию атмосферных явлений. Мягкая структура позволяет легко впитывать различные красители. При усушке древесина сосны не коробится.
Ель– вторая по значимости и использованию хвойная порода. По сравнению с сосной ель во многом уступает ей. Прежде всего, это вызвано большим количеством сучков в древесине. Да и обработке она поддается несколько хуже. В древесине ели смолы чуть меньше, что и сказывается на плохой устойчивости ее к воздействию атмосферных явлений.
Кедр, или сибирская сосна, по строительным качествам не уступает ели, а порой даже превосходит ее. Древесина кедра очень легка в работе, но при этом так же, как и ель, не обладает устойчивостью к загниванию.
Пихта по своим рабочим качествам мало чем отличается от ели: легко поддается обработке и практически не воспринимает химических препаратов. Так же, как и в древесине ели, здесь содержится мало смолы, из-за чего пихта быстро загнивает на открытом воздухе без специальной обработки.
Лиственные породы древесины делятся на твердолиственные и мягко-лиственные. Древесина таких пород практически не пахнет, а запах усиливается только при свежем срезе и обработке. Среди твердолиственных пород в основном используются дуб, береза и ясень. Наиболее часто встречающиеся среди мягколиственных пород – осина и ольха.
Дуб преимущественно используется при изготовлении мебели. Дубовая мебель считается самой красивой и прочной, кроме того, плотная древесина позволяет украсить детали рельефной резьбой. Также прочность и твердость древесины способствуют изготовлению мелких крепежных, но в то же время прочных соединений. Дуб – одна из немногих пород древесины, из которой можно сделать гнутые детали различного радиуса. Из-за высокого содержания в древесине дубильных веществ порода считается самой устойчивой к гниению из всех лиственных.
Бук также относится к твердолиственным породам. По своим качествам практически не уступает дубу. Так же хорошо, как дуб, поддается обработке, гнется и пропитывается различными химическими растворами. Это его качество способствует долговечности лакового и красящего покрытия. Но из-за того, что бук сильно коробится при высыхании, подвержен загниванию с образованием червоточин, он мало используется при изготовлении мебели.
Ясень чаще всего применяется при производстве мебели, шпона и паркета. Такое широкое применение ясеня обусловлено, прежде всего, качествами его древесины: прочная, вязкая, долговечная, стойкая к загниванию, с красивым текстурованным рисунком, которая при усушке мало коробится и хорошо гнется при распаривании.
Береза используется немного реже, чем ясень. В первую очередь, это объясняется малой устойчивостью к загниванию, большой усушкой и подверженностью короблению. Но сама древесина березы хорошо поддается обработке, дает возможность делать мелкую рельефную резьбу. Кроме того, древесина березы хорошо пропитывается химическими веществами, прекрасно удерживает лаковое покрытие.
Вяз, берест, ильм представляют одну породу. Среди основных качеств, которыми она обладает, можно назвать плотность, прочность, вязкость и малопористость. При усушке древесина практически не коробится и не трескается. Кроме того, после распаривания она может изогнуться так, как вы пожелаете. Но из-за своей плотной и мелкопористой структуры древесина плохо поддается полировке, строгается и окрашивается.
Орех обладает красивой древесиной и предназначен для отделочных работ. Хорошо обрабатывается, поддается полировке и пропитке химическими веществами. Тяжелая и прочная древесина ореха не подвержена короблению и гниению.
У осины мягкая древесина, в которой мало сучков. Она хорошо поддается обработке, но из-за ее пористой структуры мелкие детали могут сломаться еще во время их изготовления.
Тополь также относится к мягколиственным породам. Из такой древесины получаются красивые небольшие детали и изделия. Но тополь склонен к загниванию, при усыхании коробится и трескается.
Ольха из всех мягколиственных пород наиболее пригодна для строительства домов и изготовления мебели. Ольха практически не поддается загниванию и поэтому часто используется при строительстве срубов колодцев. Также она применяется при строительстве кладовых – она сама не пахнет и не впитывает запах.
Липа среди всех мягколиственных пород ценится при изготовлении крупных резных деталей для мебели. Кроме того, это одна из немногих пород древесины, которая не коробится и не трескается при усушке. Липа обладает прочной структурой, которая мало поддается гниению.
Среди редких пород, которые широко распространены в столярном и плотничном деле, большое место занимает древесина плодовых деревьев. Преимущественно здесь используется древесина диких деревьев.
Груша обладает плотной однородной красивой древесиной, идущей в основном на изготовление небольших деталей. Редко когда удается получить большое полотно доски из грушевого ствола. Но не только из-за этого груша идет на украшение мебели. Ее древесина устроена так, что при резании лезвие прекрасно снимает стружку и по направлению роста волокон, и против них. Кроме того, и полируется, и пропитывается древесина превосходно. Есть еще одна особенность груши – ее одинаково можно отнести и к твердым, и к мягким породам. Сырая древесина достаточно мягкая, но если ее вымочить, а затем медленно высушить, то она становится очень твердой. Среди недостатков можно назвать только один – без лакового покрытия дерево быстро темнеет и начинает гнить.
Яблоня относится к ряду самых красивых и прочных пород древесины. Но после высыхания древесина очень сильно коробится, поэтому предпочтительнее работать только с хорошо высушенным материалом. Так же, как и груша, идет на отделку мебели, изготовление домашней утвари и украшений.
Слива, как и яблоня, очень подвержена растрескиванию и короблению при сушке. Твердая и прочная древесина со множеством разноцветных прожилок прекрасно колется и полируется. Чаще всего идет на изготовление украшений и на рельефную отделку мебели. Также очень высоко ценится точеная утварь из сливовой древесины.
Выше мы рассмотрели те породы древесины, которые применяются у нас. Но в России большой популярностью пользуются и импортные породы, которые чаще всего идут на изготовление мебели и украшений.
Красное дерево произрастает только в тропических лесах. Само понятие «красное дерево» не означает принадлежность к какой-то породе, а представляет совокупность разнообразных пород, древесина которых обладает красным цветом. Древесина красного дерева относится к мягким породам, хорошо поддается обработке. Из-за своей дорогой цены редко когда полностью идет на изготовление мебели и отделку помещений.
Черное дерево привозят с Мадагаскара, Цейлона, острова Святого Маврикия. Хотя древесина при усушке трескается и хорошо раскалывается, черное дерево считается самым дорогим. Его древесина плотная, однородная, черного цвета. Очень высоко ценится древесина с малозаметными прослойками годичных колец и сосудов. Менее всего ценится древесина с белесоватыми прослойками и выделяющимися на фоне древесины макроструктурой и ядром. Древесина практически не поддается гниению, не коробится при усушке, прекрасно впитывает лак. Единственное, что непозволительно делать с черным деревом, – полировать: от этого внешний вид только ухудшается.
Эвкалипт обладает прочной, тяжелой древесиной, которая практически не поддается гниению. Это свойство объясняется большим содержанием в ее структуре эфирных масел, которые действуют так же, как и смола в древесине сосны. Эвкалипт принадлежит к небольшому числу древесных пород, которые плохо поддаются обработке. Чаще всего из эвкалипта изготавливают основу мебели, затем украшают ее вставками из других пород или обклеивают шпоном из красного или черного дерева.
Фернамбук используется при изготовлении мозаики. Самыми дорогими считаются скрипичные смычки и дирижерские палочки, сделанные из этого дерева. При хранении фернамбук способен изменить цвет от желтого с оранжевым отливом до темно-вишневого или даже черного. Его древесина практически не гниет и в сухом виде не поддается короблению. Зато только что срубленное дерево сильно усыхает, трескается и формоизменяется. По тяжести в обработке уступает только эвкалипту.
Палисандр, как и большинство пород, ввозится в Россию из Южной Америки. Древесина палисандра обладает пористой структурой и плотным расположением тонких волокон. Особенность этой породы составляет ее цвет, который в зависимости от преобладания какого-нибудь оттенка меняется от светло-фиолетового до темно-коричневого с фиолетовым отливом. Как и фернамбук, с течением времени способен изменить цвет. Если дерево по окончании работ не было отполировано, то цвет древесины может стать практически черным. Сама древесина прекрасно поддается обработке, не подвержена гниению. Чаще всего из палисандра изготавливают мебель и всевозможные украшения.
Атласное дерево редко встречается у нас, и поэтому оно очень дорого ценится. В России идет только на изготовление вставок мозаики и украшений. Древесина этой породы может иметь желтый, красный и бурый оттенок. Но независимо от цвета древесины в ней всегда есть мельчайшие блестки, которые при покрытии лаком придают готовому изделию атласное сияние и лоск мягко струящейся ткани.




























