Текст книги "Внутреннее устройство Linux"
Автор книги: Брайан Уорд
Жанры:
Программное обеспечение
,сообщить о нарушении
Текущая страница: 8 (всего у книги 30 страниц) [доступный отрывок для чтения: 11 страниц]
примечание
Стандарт POSIX (Portable Operating System Interface for Unix, переносимый интерфейс операционных систем Unix) определяет размер блока равным 512 байтам. Однако такой размер сложнее воспринимается при чтении, поэтому по умолчанию результаты работы команд df и du в большинстве версий Linux выражены в 1024-байтных блоках. Если вы настаиваете на отображении значений в виде 512-байтных блоков, задайте переменную окружения POSIXLY_CORRECT. Чтобы явно указать блоки размером 1024 байта, используйте параметр -k (его поддерживают обе утилиты). У команды df есть также параметр -m, чтобы отображать мощность в блоках размером 1 Мбайт, и параметр -h, который пытается выбрать наиболее удобное представление для чтения.
4.2.11. Проверка и восстановление файловых систем
Предлагаемые файловыми системами Unix оптимизации возможны благодаря замысловатому устройству базы данных. Чтобы файловые системы работали бесперебойно, ядро должно быть уверено в том, что в смонтированной файловой системе нет ошибок. Если они присутствуют, может произойти потеря данных и сбой в работе системы.
Ошибки в файловой системе обычно возникают в результате того, что пользователь грубым образом выходит из системы (например, выдергивая кабель электропитания). В подобных случаях кэш файловой системы в памяти может не соответствовать данным на диске, к тому же система может выполнять изменение файловой системы, когда вы подвергаете компьютер «встряске». Хотя новые поколения файловых систем снабжены журналированием, чтобы сделать их повреждение менее частым, вам всегда следует выходить из системы корректным образом. Вне зависимости от используемой файловой системы для поддержания ее стабильной работы необходимо регулярно выполнять проверки.
Инструмент для проверки файловой системы называется fsck. Подобно команде mkfs, у него существуют различные версии для каждого типа файловой системы, поддерживаемого Linux. Например, когда вы применяете команду fsck для расширенных файловых систем (ext2/ext3/ext4), она распознает тип файловой системы и запускает утилиту e2fsck. Следовательно, вам, как правило, не придется вручную вводить e2fsck, если только команда fsck не сможет выяснить тип файловой системы или вы ищете страницу руководства по команде e2fsck.
Информация, представленная в этом разделе, относится к расширенным файловым системам и команде e2fsck.
Чтобы запустить команду fsck в режиме интерактивного руководства, укажите в качестве аргумента устройство или точку монтирования (как они приведены в таблице /etc/fstab). Например, так:
# fsck /dev/sdb1
внимание
Никогда не используйте команду fsck для смонтированной файловой системы, поскольку ядро может изменить данные на диске во время работы проверки. Это вызовет несоответствия во время исполнения, которые могут привести к сбою системы и повреждению файлов. Есть всего одно исключение: если вы монтируете корневой раздел только для чтения в режиме единственного пользователя, то в этом разделе можно запустить команду fsck.
В режиме руководства команда fsck выводит подробные сообщения о проходах проверки, которые в случае отсутствия ошибок могут выглядеть так:
Pass 1: Checking inodes, blocks, and sizes
Pass 2: Checking directory structure
Pass 3: Checking directory connectivity
Pass 4: Checking reference counts
Pass 5: Checking group summary information /dev/sdb1: 11/1976 files (0.0% non-contiguous), 265/7891 blocks
Если в режиме руководства команда fsck обнаружит ошибку, она остановится и задаст вам вопрос, относящийся к устранению проблемы. Подобные вопросы касаются внутренней структуры файловой системы, например повторного подключения неприкрепленных дескрипторов inode или очистки блоков (дескриптор inode является строительным блоком файловой системы; о работе этих дескрипторов подробнее в разделе 4.5). Когда команда fsck спрашивает вас о повторном подключении дескриптора inode, это означает, что обнаружен файл, у которого, по-видимому, нет имени. При подключении такого файла команда fsck помещает его в каталог lost+found файловой системы, указав число в качестве имени файла. Если такое происходит, вам потребуется определить его имя, основываясь на содержимом файла; исходное имя файла будет, вероятно, утрачено.
Не имеет смысла дожидаться окончания процесса восстановления, если вы всего лишь некорректно вышли из системы, поскольку команда fsck может обнаружить большое число ошибок, подлежащих устранению. К счастью, у команды e2fsck есть параметр -p, который выполняет автоматическое исправление типичных проблем, не задавая вопросов, и прерывает работу только в случае серьезной ошибки. На самом деле версии Linux вовремя запускают какой-либо вариант команды fsck -p. Вам может также встретиться команда fsck -a, которая выполняет то же самое.
Если вы подозреваете, что в вашей системе есть такие проблемы, как отказ аппаратных средств или неправильная конфигурация устройств, вам необходимо определить порядок действий, поскольку команда fsck способна попросту превратить в кашу файловую систему с многочисленными ошибками. Одним из явных признаков того, что у вашей системы есть серьезные проблемы, является обилие вопросов, которые задает команда fsck в ручном режиме работы.
Попробуйте запустить команду fsck –n, чтобы проверить файловую систему, ничего не изменяя. Если возникла проблема в конфигурации устройства и вы думаете, что ее можно исправить (например, неправильное число блоков в таблице разделов или неплотно подключенные кабели), сделайте это до запуска команды fsck в реальном режиме. В противном случае вы можете потерять большое количество данных.
Если вы думаете, что поврежден лишь суперблок (например, когда кто-либо выполнил запись в начале дискового раздела), можно попробовать восстановить файловую систему на основе одной из резервных копий, созданных командой mkfs. Используйте команду fsck –b num, чтобы заменить поврежденный суперблок альтернативным блоком num.
Если вы не знаете, где искать резервную копию суперблока, можно запустить команду mkfs -n на данном устройстве, чтобы просмотреть список номеров резервных копий суперблока, не повреждая данные. Опять-таки убедитесь в том, что вы используете флаг -n, чтобы не разнести файловую систему на куски.
Проверка файловых систем ext3 и ext4
Обычно вам не понадобится вручную проверять файловые системы ext3 и ext4, поскольку целостность данных обеспечивается журналированием. Однако вам может потребоваться смонтировать «поломанную» файловую систему ext3 или ext4 в режиме ext2, поскольку ядро не станет монтировать такие файловые системы с непустым журналом. Если выход из системы был совершен некорректно, то журнал может содержать какие-либо данные. Чтобы очистить журнал в файловой системе ext3 или ext4, приведя ее к стандартной базе данных, запустите следующую команду:
# e2fsck –fy /dev/disk_device
Наихудший случай
Самые серьезные дисковые проблемы оставляют вам не много вариантов для выбора.
• Можно попробовать извлечь из диска образ всей файловой системы с помощью команды dd и переместить ее в раздел другого диска с таким же размером.
• Можно попытаться «залатать» файловую систему, насколько это возможно, смонтировать ее в режиме «только чтение» и спасти что удастся.
• Можно попробовать команду debugfs.
В первом и во втором случаях вам все же понадобится исправить файловую систему до ее монтирования, если только вы не являетесь любителем ручного разбора сырых данных. Если желаете, можно ответить y на все вопросы команды fsck, запустив ее в таком виде: fsck -y. Однако используйте этот вариант в последнюю очередь, поскольку во время процесса восстановления могут обнаружиться ошибки, которые лучше исправлять вручную.
Инструмент debugfs позволяет вам просматривать файлы в файловой системе и копировать их куда-либо. По умолчанию он работает с файловыми системами в режиме «только чтение». Если вы восстанавливаете данные, вероятно, было бы неплохо оставить файлы неприкосновенными, чтобы избежать дальнейшей неразберихи.
Если же вы пришли в полное отчаяние в результате катастрофического сбоя и отсутствия резервных копий, вам остается только надеяться на то, что профессиональный сервис сможет «соскоблить данные с пластин».
4.2.12. Файловые системы специального назначения
Не все файловые системы представляют хранилища на физических носителях. В большинстве версий Unix есть файловые системы, которые играют роль системных интерфейсов. Такие файловые системы не только служат средством хранения данных на устройстве, но способны также представлять системную информацию, например идентификаторы процессов и диагностические сообщения ядра. Эта идея восходит к механизму /dev, который является ранней моделью использования файлов для интерфейсов ввода-вывода. Идея применения каталога /proc берет начало из восьмого издания экспериментальной версии Unix, которая была реализована Томом Дж. Киллианом (Tom J. Killian) и усовершенствована сотрудниками лаборатории Bell Labs (включая многих первичных разработчиков Unix), создавшими Plan 9 – экспериментальную операционную систему, которая вывела файловую систему на новый уровень абстракции (http://plan9.bell-labs.com/sys/doc/9.html).
Специальные типы файловых систем, которые широко применяются в Linux, включают следующие.
• proc. Смонтирована в каталоге /proc. Имя proc является сокращением слова process («процесс»). Каждый нумерованный каталог внутри /proc – это идентификатор происходящего в системе процесса; файлы в этих каталогах отражают различные характеристики процессов. Файл /proc/self представляет текущий процесс. Файловая система proc в Linux содержит внушительное количество дополнительной информации о ядре и аппаратных средствах в файлах вроде /proc/cpuinfo. Информация, которая не относится к процессам, перенесена из каталога /proc в каталог /sys.
• sysfs. Смонтирована в каталоге /sys (его вы встречали в главе 3).
• tmpfs. Смонтирована в каталоге /run и других. С помощью файловой системы tmpfs вы можете использовать физическую память и область подкачки в качестве временного хранилища. Например, можно смонтировать tmpfs там, где вам нравится, применяя длинные параметры size и nr_blocks для контроля максимального размера. Будьте осторожны и не помещайте постоянно данные в систему tmpfs, поскольку в итоге у операционной системы может закончиться память и программы начнут выходить из строя. Так, корпорация Sun Microsystems годами применяла вариант файловой системы tmpfs для каталога /tmp, что вызывало проблемы на компьютерах, работающих в течение долгого времени.
4.3. Область подкачки
Не каждый раздел диска содержит файловую систему. Пополнять оперативную память компьютера можно также за счет дискового пространства. Если оперативная память на исходе, система виртуальной памяти в Linux может автоматически перемещать фрагменты памяти на дисковое хранилище и обратно. Этот процесс называется подкачкой (свопингом), поскольку участки бездействующих команд перекачиваются на диск в обмен на активные фрагменты памяти, расположенные на диске. Область диска, используемая для хранения страниц памяти, называется областью подкачки (или сокращенно swap).
Результатом работы команды free является следующая информация о применении подкачки (в килобайтах):
$ free
total used free
—snip—
Swap: 514072 189804 324268
4.3.1. Использование раздела диска в качестве области подкачки
Чтобы полностью применять раздел диска для подкачки, выполните следующее.
1. Убедитесь в том, что раздел пуст.
2. Запустите команду mkswap dev, в которой в качестве параметра dev укажите устройство с необходимым разделом. Эта команда помещает в данный раздел сигнатуру области подкачки.
3. Запустите команду swapon dev, чтобы зарегистрировать область с помощью ядра.
После создания раздела подкачки можно внести новую запись о нем в файл /etc/fstab, чтобы система смогла применять область подкачки уже при загрузке компьютера. Вот пример такой записи, в которой в качестве раздела подкачки использовано устройство /dev/sda5:
/dev/sda5 none swap sw 0 0
Принимайте во внимание то, что теперь многие системы применяют идентификаторы UUID вместо простых названий устройств.
4.3.2. Использование файла в качестве области подкачки
Можно применять обычный файл в качестве области подкачки, если возникнет ситуация, когда вы будете вынуждены изменить разделы диска, чтобы создать область подкачки. Вы не должны испытать при этом какие-либо сложности.
Воспользуйтесь приведенными ниже командами, чтобы создать пустой файл, инициализировать его для подкачки, а затем добавить в пул подкачки:
# dd if=/dev/zero of=swap_file bs=1024k count=num_mb
# mkswap swap_file
# swapon swap_file
Здесь параметр swap_file задает имя нового файла подкачки, а параметр num_mb – желаемый размер в мегабайтах.
Чтобы удалить раздел или файл подкачки из активного пула ядра, используйте команду swapoff.
4.3.3. Какой объем области подкачки необходим
В свое время, согласно традиционной мудрости Unix, полагали, что всегда следует резервировать для подкачки по меньшей мере в два раза больший объем памяти по сравнению с оперативной. Теперь этот вопрос не столь однозначен, поскольку стали доступны огромные объемы дискового пространства и оперативной памяти, а также изменились способы использования системы. С одной стороны, дисковое пространство настолько обширно, что возникает искушение выделить больше памяти, чем двойной размер оперативной памяти. С другой – вам, вероятно, никогда не придется использовать область подкачки, когда в наличии имеется столько реальной памяти.
Правило о «двойном размере реальной памяти» возникло в то время, когда к одному компьютеру могло быть подключено одновременно несколько пользователей. Не все они могли быть активны, поэтому было удобно переводить в область подкачки те участки памяти, которые были выделены для неактивных пользователей, когда активному пользователю требовалось больше памяти.
Это может по-прежнему быть верным для компьютера с одним пользователем. Если вы запускаете много процессов, как правило, будет неплохо переместить в область подкачки части неактивных процессов или даже неактивные фрагменты активных процессов. Тем не менее, если вы постоянно применяете область подкачки, поскольку многие активные процессы желают сразу же использовать память, вы будете испытывать серьезные сложности с производительностью, так как дисковый ввод-вывод происходит слишком медленно и ему не угнаться за остальной частью системы. Выходы таковы: приобрести дополнительную память или завершить некоторые процессы.
Иногда ядро Linux может перевести в область подкачки какой-либо процесс с целью получения дополнительного дискового кэша. Чтобы это предотвратить, администраторы конфигурируют отдельные системы вообще без области подкачки. Например, высокопроизводительным сетевым серверам не следует использовать область подкачки и по возможности избегать обращения к диску.
примечание
Это опасно выполнять для компьютера общего назначения. Если на компьютере полностью будут исчерпаны оперативная память и область подкачки, ядро Linux запускает подавитель OOM (out-of-memory, нехватка памяти), чтобы прервать процесс и освободить некоторое количество памяти. Вы, безусловно, не захотите, чтобы это случилось с вашими приложениями. С другой стороны, высокопроизводительные серверы содержат сложные системы слежения и выравнивания нагрузки, чтобы никогда не оказаться в опасной зоне.
Из главы 8 вы узнаете подробнее о том, как работает система памяти.
4.4. Заглядывая вперед: диски и пространство пользователя
В относящихся к дискам компонентах системы Unix границы между пространством пользователя и пространством ядра довольно сложно определить. Как вы уже видели, ядро оперирует блочным вводом-выводом от устройств, а инструменты из пространства пользователя способны использовать блочный ввод-вывод с помощью файлов устройств. Тем не менее пространство пользователя, как правило, применяет блочный ввод-вывод только при инициализации таких операций, как создание разделов, файловых систем и области подкачки. В нормальном режиме пространство пользователя задействует только поддержку файловой системы, которая обеспечивается ядром в верхнем слое блочного ввода-вывода. Подобным образом ядро управляет и множеством мелких деталей, когда оно имеет дело с областью подкачки в системе виртуальной памяти.
В следующей части этой главы вкратце рассказано про внутренние части файловой системы Linux. Это более сложный материал, и вам определенно нет необходимости знать его, чтобы продолжить чтение книги. Переходите к следующей главе, чтобы начать изучение процесса загрузки системы Linux.
4.5. Внутри традиционной файловой системы
Традиционная файловая система Unix содержит два основных компонента: пул блоков данных, где можно хранить данные, и базу данных, которая управляет пулом данных. В основу базы данных положена структура данных inode. Дескриптор inode – это набор данных, который описывает конкретный файл, включая его тип, права доступа и (что, возможно, наиболее важно) расположение его данных в пуле данных. Дескрипторы inode распознаются по номерам, перечисленным в соответствующей таблице.
Имена файлов и каталогов также реализованы в виде дескрипторов inode. Дескриптор каталога содержит перечень имен файлов и соответствующих ссылок на другие дескрипторы.
Чтобы привести реальный пример, я создал новую файловую систему, смонтировал ее и сменил каталог на точку монтирования. После этого добавил несколько файлов и каталогов с помощью таких команд (попробуйте выполнить это самостоятельно на флеш-накопителе):
$ mkdir dir_1
$ mkdir dir_2
$ echo a > dir_1/file_1
$ echo b > dir_1/file_2
$ echo c > dir_1/file_3
$ echo d > dir_2/file_4
$ ln dir_1/file_3 dir_2/file_5
Обратите внимание на то, что я создал каталог dir_2/file_5 в виде жесткой ссылки на каталог dir_1/file_3. Это означает, что данные два имени файлов на самом деле представляют один и тот же файл.
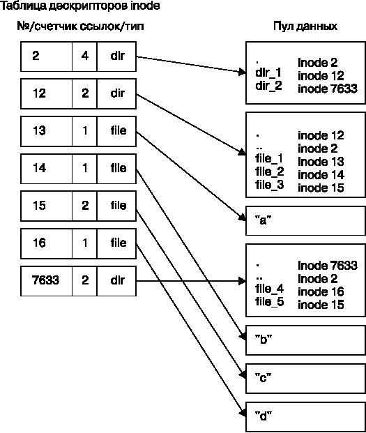
Если вы рассмотрите каталоги в этой файловой системе, то ее содержимое выглядело бы так, как показано на рис. 4.4. Реальная разметка файловой системы, как показано на рис. 4.5, не выглядит настолько ясной, как представление на уровне пользователя.

Рис. 4.4. Представление файловой системы на уровне пользователя

Рис. 4.5. Структура дескрипторов файловой системы, показанной на рис. 4.4
В любой расширенной файловой системе (ext2/3/4) нумерация дескрипторов начинается с 2 – корневого дескриптора inode. Из таблицы дескрипторов на рис. 4.5 можно заметить, что это дескриптор каталога (dir), поэтому можно перейти по стрелке к пулу данных, где вы увидите содержимое корневого каталога: два элемента с именами dir_1 и dir_2, которые соответствуют дескрипторам inode 12 и 7633. Чтобы разобраться с этими элементами, вернитесь в таблицу дескрипторов и посмотрите на любой из них.
Для проверки ссылки dir_1/file_2 в этой файловой системе ядро выполняет следующие действия.
1. Определяет компоненты пути: за каталогом dir_1 следует компонент с именем file_2.
2. Переходит к корневому дескриптору и его данным о каталогах.
3. Отыскивает в данных о каталогах у дескриптора inode 2 имя dir_1, которое указывает на дескриптор с номером 12.
4. Ищет дескриптор inode 12 в таблице дескрипторов и проверяет, является ли он дескриптором каталога.
5. Следует по ссылке дескриптора inode 12 к информации о каталоге (это второй сверху контейнер в пуле данных).
6. Обнаруживает второй компонент пути (file_2) в данных о каталогах дескриптора inode 12. Эта запись указывает на дескриптор inode с номером 14.
7. Отыскивает дескриптор inode 14 в таблице каталогов. Это дескриптор файла.
К этому моменту ядро знает свойства файла и может открыть его, проследовав по ссылке на данные дескриптора inode 14.
Такая система дескрипторов, указывающих на структуры данных каталогов, и структур данных, указывающих на дескрипторы, позволяет создать иерархию файловой системы, к которой вы привыкли. Кроме того, обратите внимание на то, что дескрипторы каталогов содержат записи для текущего каталога (.) и родительского (..), исключая лишь корневой каталог. С их помощью можно легко получить точку отсчета при переходе на уровень выше в структуре каталогов.
4.5.1. Просмотр деталей дескрипторов inode
Чтобы увидеть значения дескриптора для любого каталога, используйте команду ls -i. Вот что получится, если применить ее к корневому каталогу нашего примера. Для получения более детальной информации воспользуйтесь командой stat.
$ ls -i
12 dir_1 7633 dir_2
Теперь вас, вероятно, заинтересует счетчик ссылок. Он уже встречался в результатах работы обычной команды ls -l. Как счетчик ссылок относится к файлам, показанным на рис. 4.5, и, в частности, к «жестко связанному» файлу file_5? Поле со счетчиком ссылок содержит общее количество записей в каталоге (по всем каталогам), которые указывают на дескриптор inode. У большинства файлов счетчик ссылок равен 1, поскольку они появляются лишь один раз среди записей каталога. Этого и следовало ожидать: в большинстве случаев при создании файла вы создаете новую запись в каталоге и соответствующий ей новый дескриптор inode. Однако дескриптор 15 появляется дважды: сначала он создан как дескриптор для файла dir_1/file_3, а затем связан с файлом dir_2/file_5. Жесткая ссылка является лишь созданной вручную записью в каталоге, связанной с уже существующим дескриптором inode. Команда ln (без параметра -s) позволяет вручную создавать новые ссылки.
По этой причине удаление файла иногда называется разъединением. Если запустить команду rm dir_1/file_2, ядро начнет поиск записи с именем file_2 в каталоге дескриптора inode 12. Обнаружив, что file_2 соответствует дескриптору inode 14, ядро удаляет эту запись из каталога, а затем вычитает 1 из счетчика ссылок для дескриптора inode 14. В результате этот счетчик ссылок становится равным 0 и ядро будет знать о том, что с данным дескриптором inode не связаны никакие имена. Следовательно, этот дескриптор и все относящиеся к нему данные можно удалить.
Однако, если запустить команду rm dir_1/file_3, в результате получится, что счетчик ссылок для дескриптора inode 15 изменится с 2 на 1 (поскольку ссылка dir_2/file_5 все еще указывает на него) и ядро узнает о том, что данный дескриптор не следует удалять.
Счетчик ссылок для каталогов устроен во многом так же. Заметьте, что счетчик ссылок дескриптора inode 12 равен 2, поскольку присутствуют две ссылки на этот дескриптор: одна для каталога dir_1 в записях каталога для дескриптора inode 2, а вторая ссылка в собственных записях каталога (.) ведет на саму себя. Если создать новый каталог dir_1/dir_3, счетчик ссылок для дескриптора inode 12 станет равным 3, поскольку новый катлог будет включать запись о родительском каталоге (..), который связан с дескриптором inode 12, подобно тому, как родительская ссылка дескриптора inode 12 указывает на дескриптор inode 2.
Есть одно небольшое исключение. У корневого дескриптора inode 2 счетчик ссылок равен 4. Однако на рис. 4.5 показаны только три ссылки на записи каталогов. «Четвертая» ссылка находится в суперблоке файловой системы, поскольку именно он указывает, где отыскать корневой дескриптор inode.
Не бойтесь экспериментировать со своей системой. Создание структуры каталогов с последующим применением команды ls -i или stat для исследования различных частей является безопасным. Вам не придется выполнять перезагрузку системы (если только вы не смонтировали новую файловую систему).
Тем не менее один фрагмент еще отсутствует: каким образом файловая система при назначении блоков из пула данных для нового файла узнает о том, какие блоки использованы, а какие свободны? Один из самых простых способов состоит в применении дополнительной структуры управления данными, которая называется битовой картой блоков. В этой схеме файловая система резервирует последовательность байтов, в которой каждый бит соответствует одному блоку в пуле данных. Если бит равен 0, это означает, что данный блок свободен, а если 1, то блок используется. Таким образом, в основу распределения блоков положено переключение состояния битов.
Проблемы в файловой системе возникают тогда, когда данные из таблицы дескрипторов inode не соответствуют данным о размещении блоков или когда счетчики ссылок неверные; это может произойти, если работа системы была завершена некорректно. Тогда при проверке файловой системы (как было рассказано в подразделе 4.2.11) команда fsck будет просматривать таблицу дескрипторов inode и структуру каталогов, чтобы определить новые счетчики ссылок и создать новую карту размещения блоков (такую как битовая карта блоков), после чего она сравнит только что созданные данные с файловой системой на диске. Если обнаружатся несоответствия, команда fsck должна исправить счетчики ссылок и определить, как поступить с теми дескрипторами inode и/или данными, которые не были обнаружены при просмотре структуры каталогов. Большинство команд fsck помещает такие «осиротевшие» новые файлы в каталог lost+found.
4.5.2. Работа с файловыми системами в пространстве пользователя
При работе с файлами и каталогами в пространстве пользователя вы можете не беспокоиться о том, как это реализовано на нижнем уровне. От вас ожидают, что доступ к содержимому файлов и каталогов смонтированной файловой системы будет осуществляться с помощью системных вызовов ядра. Любопытно, что при этом у вас все же есть доступ к определенной системной информации, которая не очень вписывается в пространство пользователя, в частности, системный вызов stat() возвращает номера дескрипторов inode и счетчики ссылок.
Если вы не заняты обслуживанием файловой системы, следует ли волноваться насчет дескрипторов inode и счетчиков ссылок? Как правило, нет. Эти данные доступны для команд из пространства пользователя в основном в целях обратной совместимости. К тому же не все файловые системы, доступные в Linux, располагают необходимой для них «начинкой». Слой интерфейса VFS обеспечивает то, что системные вызовы всегда возвращают значения дескрипторов inode и счетчиков ссылок, однако такие числа не обязаны что-либо значить.
В нетрадиционных файловых системах вы можете быть лишены возможности выполнять обычные для Unix операции с файловой системой. Например, нельзя использовать команду ln, чтобы создать жесткую ссылку в смонтированной файловой системе VFAT, поскольку в ней совершенно другая структура записей о каталогах.
Системные вызовы, которые доступны в пространстве пользователя Unix/Linux, обеспечивают достаточный уровень абстракции для безболезненного доступа к файлам: вам не обязательно знать что-либо о том, как он реализован, чтобы работать с файлами. Более того, гибкий формат имен файлов и поддержка использования разного регистра символов облегчают возможность применения других файловых систем с иерархической структурой.
Помните о том, что ядро не обязано поддерживать специфические файловые системы. В файловых системах с пространством пользователя ядро лишь выступает в роли проводника для системных вызовов.
4.5.3. Эволюция файловых систем
Даже в самой простой файловой системе имеется множество различных компонентов, требующих обслуживания. В то же время предъявляемые к файловым системам требования неуклонно возрастают по мере появления новых задач, технологий и возможностей хранения данных. Нынешний уровень производительности, целостности данных и требований безопасности намного превосходит ранние реализации файловых систем, поскольку технология файловых систем постоянно меняется. Мы уже упоминали в качестве примера о Btrfs – файловой системе нового поколения (см. подраздел 4.2.1).
Одним из примеров того, как изменяются файловые системы, является использование новыми файловыми системами раздельных структур данных для представления каталогов и имен файлов, а не дескрипторов inode, описанных здесь. Они по-другому ссылаются на блоки данных. Кроме того, в процессе развития находятся файловые системы, оптимизированные для дисков SSD. Постоянные изменения в развитии файловых систем являются нормой, однако имейте в виду, что эволюция файловых систем не изменяет их предназначения.




























