Текст книги "Строительные инструменты"
Автор книги: Василий Востриков
Жанр:
Прочее домоводство
сообщить о нарушении
Текущая страница: 3 (всего у книги 9 страниц) [доступный отрывок для чтения: 4 страниц]
Декоративные растворы, или накрывку, наносят, когда подготовительные слои схватились и приобрели прочность. Наносить накрывку надо на предварительно увлажненные подготовительные слои, желательно по деревянным маякам в виде реек. Толщина накрывки бывает от 5 до 20 мм, что зависит от характера последующей обработки поверхности штукатурки. Раствор наносят набрасыванием или намазыванием кельмой. Уплотняют, выравнивают и сглаживают накрывку фильцбреттом и правилом.
Работу на захватке следует вести без перерыва; чтобы стыки накрывки в случае непредвиденных перерывов были незаметны, накрывку следует обрезать по правилу, закрывая на время перерывов мокрыми рогожами, и держать все время во влажном состоянии.
Можно оставить края рваными и при продолжении работы срезать их, чтобы вновь наносимый слой примыкал к сырому срезу нанесенного слоя.
Учитывая, что жесткие растворы терразитовых и каменных штукатурок могут отваливаться с нанесенной поверхности, у стен следует положить строганые доски, с которых можно собирать упавший раствор и использовать его впоследствии для обрызга.
В зависимости от вида фактуры и размерности заполнителя накрывку после уплотнения затирают фильцбреттом (при крупном заполнителе) или правилом (при мелком заполнителе), так как это способствует уплотнению раствора, и на поверхности не остается раковин. Уплотнение раствора и своевременная затирка ликвидируют усадочные трещины, что положительно влияет на долговечность штукатурки. Затирка, выполняемая до начала схватывания, приводит к возникновению наружных трещин при отвердении раствора, а запоздалая затирка вызывает внутренние трещины, которые появляются в более позднее время и образуют на поверхности черные полосы.
Ремонт оштукатуренных поверхностейРемонт штукатурки возникает при необходимости замены отслоившейся на всю толщину или в накрывочном слое штукатурки, заделки трещин и выбоин.
При замене отслоившейся на всю толщину штукатурки определяют простукиванием границы некачественной штукатурки. Ее удаляют, основание очищают от остатков раствора и тщательно подготавливают: кирпичные, каменные, бетонные поверхности для этого насекают, деревянные подбивают дранью, места утолщенных штукатурок, в том числе на дверных и оконных откосах, армируют сеткой или проволочным плетением, смачивают и штукатурят с соблюдением технологии выполнения штукатурных работ.
При отслоившемся накрывочном слое его удаляют до грунтового, который насекают, промывают водой, вновь наносят накрывочный слой из того же раствора, что и соседние участки, затирают поверхность.
Трещины разрезают, а выбоины расчищают до основания, промывают водой, заполняют таким же раствором и затирают поверхность.
При оштукатуривании дефектных мест накрывочный слой заглаживают и затирают вровень с поверхностью, не допуская «натасков» раствора на ранее оштукатуренные поверхности.
Штукатурку с небольшими повреждениями поверхности перетирают известковым, известково-цементным или цементным раствором, приготовленным на мелкозернистом песке. Гипс в растворах для перетирки не применяют, так как в процессе длительного перетирания он теряет прочность, вызывая отмеливание поверхности. Техника перетирки состоит из следующих операций: поверхность смачивают водой, затем на терку берут небольшое количество раствора, намазывают на поверхность, обрызгивая водой с кисти, растирают раствор вкруговую или вразгон, распределяя его тонким слоем, не оставляя неперетертых мест.
3. Инструменты для кровельных работ
Домкрат
Применяют для подъема тяжестей на небольшую высоту.
Колющее лезвие
Применяют для раскалывания плахи на гонтины.
Колотушка
Cлужит для колки плахи на гонтины.
Гладилка
Применяется для заглаживания мастики при заделывании щелей и пазов небольших размеров.
Кернер
Стальной стержень, имеющий круглое сечение. Один из концов стержня заточен под углом 60°. Инструмент применяют для нанесения отметок. Его ставят в вертикальное положение и по верхнему концу ударяют молотком.
Ножницы
Используют для разрезания листовой стали. Стальной лист толщиной не более 0,7 мм режут ручными ножницами. Ножницы могут быть правыми и левыми. У левых ножниц режущий нож расположен справа, у правых – слева. Правые ножницы гораздо удобнее левых, потому что в процессе резки можно видеть отрезаемую полоску листа. Если эта полоска узкая, то она снизу сворачивается в спираль, в то время как вторая половина листа не деформируется. Левые ножницы чаще всего используются для выполнения отверстий, находящихся далеко от края листа, а также для отрезания левых краев. Отверстия, расположенные внутри листа, вырезают так: сначала при помощи зубила в листе прорубают отверстие и вставляют в него режущий нож инструмента, затем по намеченной риске в форме круга ведут нож ножниц. Листы из тонкой стали, как правило, режут на верстаке. При этом лист кладут так, чтобы при перемещении ножниц нижний нож лежал на краю верстака.
Cито
Используют для процеживания растворов и просеивания сыпучих материалов.
Толкушка
Служит для перемешивания и тщательного разминания замоченной в воде глины.
Клещи
Используют при сборке металлических листов, когда нужно загибать кромки листов.
Клещи могут быть прямые, полукруглые и кривые. Первые имеют плоские широкие губки, благодаря которым не повреждается цинковый слой металла. Они нужны при устройстве дымовых труб, вентиляционных и слуховых отверстий.
Полукруглыми клещами выполняют многие операции, например окантовку гребней, отгибы различных видов, отделку фасонных элементов кровли, разборку желобов и покрытий для их ремонта.
Кривые клещи необходимы для сборки кровли на труднодоступных участках.
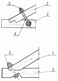
Тиски

Рис. 22. Тиски: а – стуловые; б – параллельные; 1 – лапа для крепления тисков к верстаку; 2 – боковина; 3 – пружина; 4 – рычаг; 5 – планка для крепления тисков к верстаку; 6 – шайба; 7, 18 – стяжной и червячные винты; 8, 10 – козырьки; 9 – подвижная губка; 11 —неподвижная губка; 12 – втулка; 13 – верстак; 14 – нижняя плита; 15 – поворотный круг; 16 – гайка; 17 – крышка.
К зажимным приспособлениям относятся тиски, которые могут быть параллельными и стуловыми.
И параллельные, и стуловые тиски состоят из подвижной и неподвижной губок и рычагов для вращения винтов. Тиски закрепляют на верстаке.
Кровельные работы
КрышаОт того, насколько хорошо сделана крыша, зависит и то, сколько простоит сруб и как долго он сохранит свой первоначальный вид. Прежде всего крыша предназначена для защиты дома и отвода от него атмосферных осадков.
От выбора формы для устройства крыши и материала для кровли зависит не только срок ее службы, но и внешний вид, который она может придать постройке. Для небольших домов лучше всего сделать высокую крышу, которая визуально увеличит здание. А для высоких домов крыша должна быть более плоской, чтобы и без того большое здание не казалось еще более громоздким.

Рис. 23. Элементы крыши: 1 – обрешетка; 2 – настил; 3 – стропила; 4 – мауэрлат; 5 – кровля.
В зависимости от геометрической формы и материала кровли различают несколько типов крыш. Прежде всего разделение происходит по типу плоская или скатная. Скатная крыша может быть нескольких видов, среди которых наиболее часто встречаются односкатные, двускатные, вальмовые, мансардные, пирамидальные, шатровые, купольные, башенные.
Плоские крыши чаще всего используются при возведении хозяйственных построек: сараев, курятников, гаражей.
С крыши такого типа приходится убирать снег, и, из-за того что на ней нет скатов, она имеет небольшой срок службы.
Обязательным элементом скатной крыши является скат: чем он круче сделан, тем меньше атмосферных осадков на поверхности крыши будет скапливаться.
Односкатные крыши устраиваются на постройках, стены которых имеют разную высоту. Чаще всего такими крышами оснащаются душевые комнаты и туалеты на приусадебных участках или сарайчиках для хранения сельхозинвентаря. Особенностью такой крыши является небольшой выступающий козырек, установленный со стороны входа для того, чтобы была возможность укрыться от дождя.
Двускатные крыши чаще всего используются при возведении больших построек. Такой тип крыши имеет двухсторонний водосток. В зависимости от проектировки здания скаты могут быть расположены под разными наклонами, но чаще всего наклон остается одинаковым для обеих сторон.
Вальмовые крыши получаются в результате соединения двух треугольных торцевых скатов и двух трапециевидных боковых скатов. Достаточно часто встречается такая разновидность вальмовых крыш, которая полностью состоит из треугольных скатов, соединяющихся в одной точке.
Мансардные крыши еще называют ломаными двускатными. Они представляют собой две двускатные крыши, которые как бы насажены одна на другую. На верхней части крыши делается небольшой уклон, а нижняя часть всегда расположена практически под прямым углом к стенам.

Рис. 24. Виды скатных крыш: а – пологая двускатная; б – крутая двускатная; в – вальмовая четырехскатная; г – односкатная (в форме парты); д – ломаная (мансардная) двускатная; е – шатровая четырехскатная; ж, з, и – полувальмовые (мансардные) четырехскатные.
Шатровые, купольные и башенные крыши редко полностью покрывают жилое здание и используются только на отдельных элементах построек. Такие типы крыш предназначены для украшения.
Только скатная крыша может быть с чердаком или без него. В зависимости от этого различают чердачные крыши и бесчердачные. Чаще всего последний тип еще называется глухой крышей. Наиболее удобна крыша, которая содержит еще и чердачное помещение. Именно благодаря ему облегчается наблюдение за состоянием кровли, появляется возможность легко разместить дымовые трубы или обустроить еще одну жилую комнату.
Чердачное помещение должно быть устроено таким образом, чтобы человек среднего роста мог свободно перемещаться внутри него (высота помещения – примерно 1,7–1,8 м).
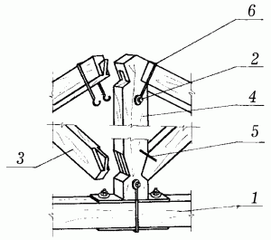
СтропилаВ качестве составного элемента крыши стропила выполняют очень важную роль, поддерживая обрешетку и тем самым принимая на себя вес кровли, давление снега и ветра. По конструкции они делятся на наслонные и висячие.
Если пролет крыши (расстояние между опорами) не превышает 6,5 м, а при дополнительной опоре – 10–12 м, то используются наслонные стропила.
Висячие стропила применяют в том случае, когда пролет крыши составляет 7–12 м и нет дополнительных опор. В отличие от наслонных они передают на мауэрлат только вертикальное давление.

Рис. 25. Наслонные стропила: 1 – стропильная нога; 2 – ригель; 3 – чердачное перекрытие.

Рис. 26. Висячие стропила: 1 – мауэрлат; 2 – стропильная нога; 3 – затяжка; 4 – бабка; 5 – подкос.

Рис. 27. Опирание наслонных стропил в деревянных рубленых или брусчатых зданиях: 1 – шип; 2 – стропильная нога.

Рис. 28. Опирание наслонных стропил в деревянных каркасных зданиях: 1 – балка перекрытия; 2 – стропильная нога.

Рис. 29. Опирание наслонных стропил в каменных зданиях: 1 – мауэрлат; 2 – стропильная нога; 3 – затяжка; 4 – чердачное перекрытие.
Основным элементом висячих стропил являются стропильные ноги и затяжки нижнего пояса. В зависимости от материала, из которого выполнено здание, стропильные ноги могут крепиться:
– на верхние венцы в деревянных рубленых или брусчатых зданиях;
– на верхнюю обвязку в деревянных каркасных зданиях;
– на опорные брусья – мауэрлат – в каменных зданиях. Толщина мауэрлата при этом должна быть 150–160 мм, а сам он может быть цельным (по всей длине здания) или частичным (брусья подкладываются только под стропильную ногу).
Если стропильные ноги выполнены с небольшим сечением, то предохранить их от провисания можно с помощью решетки из стойки, подкосов и ригеля. Стойки и подкосы изготавливаются из досок шириной 150 мм и толщиной 25 мм или из деревянных пластин, полученных из бревна с диаметром не менее 130–140 мм.
При установке стропильная нога врубается в затяжку. Чтобы ее конец не скользил по затяжке и не скалывал ее, врубать ногу надо зубом, высота которого составляет 1/3 высоты затяжки, шипом или с использованием обоих способов. Кроме того, затяжка будет оставаться целой и не скалываться, если установить стропила на расстоянии примерно 300–400 мм от края. Стропильная нога врубается в конец затяжки, а зуб при этом отодвигается как можно дальше.
Для усиления крепления стропила используют двойной зуб. Высота зубов может быть одинаковой, но чаще всего их делают так, чтобы высота первого составляла 1/5 толщины затяжки, второго – 1/3. Для первого зуба на затяжке делается упор и шип, а на стропиле – проушина, для второго – только упор. В качестве дополнительного крепления стропил в затяжках можно использовать хомуты или болты. Болты применяются реже, так как ослабляют сечение стропильных ног и затяжек.

Рис. 30. Соединение стропил зубом и шипом: 1 – стропильная нога; 2 – затяжка; 3 – шип.
Подкосы с бабкой соединяются врубкой, при этом в бабке долбится гнездо, а в подкосе вырубается шип. Такое соединение в висячих стропилах укрепляется дополнительно болтами или хомутами.
Ригель со стропильными ногами соединяется врубкой сковороднем вполдерева. Соединение крепится болтом и нагелем, а для придания ему большей прочности – скобой. Составные части затяжки скрепляются между собой зубом, металлической накладкой и болтами. С бабкой затяжка соединяется хомутом.

Рис. 31. Соединение стропил двойным зубом: 1 – стропильная нога; 2 – затяжка.

Рис. 32. Соединение стропил болтом и хомутом: 1 – стропильная нога; 2 – затяжка; 3 – болт; 4 – хомут.
Чтобы предохранить стены здания от атмосферной воды, крыша должна иметь свес длиной не менее 550 мм.
Кроме того, что концы стропильных ног крепятся в затяжке, с помощью так называемых скруток они закрепляются дополнительно за стены здания. Это позволяет уберечь крышу от повреждения при сильных порывах ветра.

Рис. 33. Соединение подкоса с бабкой: 1 – затяжка; 2 – болт; 3 – подкос; 4 – бабка; 5 – скоба; 6 – хомут.

Рис. 34. Соединение ригеля и стропильной ноги: 1 – стропильная нога; 2 – ригель; 3 – скоба.
Скрутка представляет собой кусок крупной проволки, один конец которой прикреплен к стропильной ноге, а другой – к костылю, вбитому в шов каменной кладки на расстоянии 300–350 мм от верхнего края стены, или к балке чердачного перекрытия. В рубленых деревянных домах вместо скрутки используется железная скоба, соединяющая стропила со вторым венцом сруба.
Железобетонные стропильные ноги наслонных стропил одним концом укладываются на наружную стену строения, а другим – на сборный железобетонный прогон, поддерживаемый кирпичными столбиками. Выступающие за стену нижние концы стропильных ног могут нести карнизный свес кровли.
При выборе материала для изготовления стропил надо учитывать многие факторы: длину стропильной ноги, расстояние между стропилами и вес кровли.
Основание под кровлюОснование под кровлю из штучных или рулонных материалов может быть выполнено в виде обрешетки или сплошного настила. В первом случае для его изготовления используются деревянные бруски и доски.
Сплошной настил делается в том случае, когда в качестве покрытия применяются асбестоцементные плитки и рулонный материал. Под плитки доски настила выкладывают с небольшим зазором (не более 10 мм) в один слой, под рулонный материал – в два слоя (рабочий и защитный).
Узкие доски защитного слоя должны находиться под углом 45° к рабочему. Между настилами помещают противоветровую прокладку из рубероида марки РПП-300 или РПП-350.
Обрешетка применяется в том случае, когда кровельное покрытие делается из волнистых асбестоцементных листов (шифера), листовой стали, черепицы или дерева.
При изготовлении основания необходимо соблюдать два основных требования: все элементы должны быть прочно закреплены на несущих конструкциях, а их стыки над стропилами – располагаться вразбежку.
Кроме того, заданное расстояние между досками или брусками должно строго соблюдаться по всей поверхности основания. Самые широкие из них необходимо располагать под стыками кровельного материала, а также у конька и карниза, а самые толстые (на 15–35 мм толще других) – у карниза. Ширина основания под разжелобком должна составлять не менее 750–800 мм, а под карнизным свесом с настенными желобками – равняться ширине свеса. В коньках и на ребрах кровли деревянные бруски устанавливаются на ребро.
Порядок выполнения кровельных работВсе виды кровельных работ выполняются в следующем порядке:
– покрытие карнизных свесов и установка настенных желобов;
– покрытие ендов, разжелобков и слуховых окон;
– устройство воротника вокруг дымовой трубы;
– рядовое покрытие;
– устройство водосточных труб.
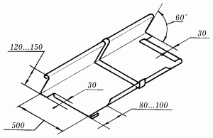
Покрытие карнизных свесов и установка настенных желобовСначала на карнизном свесе производят разметку расположения костылей: через 500–600 мм и на расстоянии 130–160 мм от края карниза. После этого берется первая картина и укладывается на костыли так, чтобы одна ее сторона плотно вошла в зазор отворота, другая же сторона гвоздями прибивается к обрешетке. Слева от первой внахлестку укладывается вторая картина – и так далее до образования первой горизонтальной ленты. По фронтонному свесу первый ряд картин кладут с напуском 25–30 мм за обрешетку, по карнизному свесу делают напуск 100 мм.

Рис. 35. Двойная картина настенного желоба.
При выполнении этих работ отогнутые кромки картин по стоку воды зацепляют, натягивают картины и уплотняют фальцы при помощи молотка и стальной рейки. Настенные желоба устанавливаются поверх свеса. Образовавшиеся фальцевые швы смазывают суриковой замазкой и уплотняют, после чего желоба склепывают с верхом крючьев.
Устройство рядового покрытияЗаготовленные листы и картины поднимаются на крышу и раскладываются по обрешетке вдоль свеса крыши так, чтобы удобно было вести работы.
Листы крепятся к обрешетке при помощи клямеров, которые отгибаются на 20–25 мм, гвоздем прибиваются к обрешетке с правой стороны картины и через 60–75 мм отгибаются по стоячему фальцу. Клямеры вырезаются из оцинкованной стали в виде полос шириной 30–40 мм и длиной 120–150 мм и скручиваются под углом 90°.

Рис. 36. Кровля из стальных оцинкованных листов: 1 – стоячий фальц; 2 – лежачий фальц; 3 – обрешетка; 4 – полотно картины; 5 – клямеры.
Картины кладут вертикальными полосами сверху вниз, от конька к свесу, соединяя их между собой лежачими фальцами. Затем лежачие фальцы промазывают замазкой и сплющивают, подложив под них стальную пластину толщиной 5–6 мм, длиной 800–900 мм, шириной 55–60 мм. При сплющивании нужно следить за тем, чтобы фальцы шли только горизонтально. После того как будет сделан первый ряд картин, приступают ко второму ряду. Картины второго ряда кладут таким же образом, чтобы край большого фальца первого ряда примыкал к маленькому фальцу второго ряда. Лежачие фальцы при этом смещают (по горизонтали) относительно друг друга примерно на 20 мм. Это делают для более удобного скрепления стоячих фальцев.

Рис. 37. Стыкование лежачего фальца: 1 – правильное; 2 – неправильное.
Стоячие фальцы скрепляют, затем, придавливая к обрешетке, большой фальц загибают по маленькому, в результате чего получается ребро высотой от 20 до 25 мм (загибать стоячие фальцы можно как после настила одной полосы, так и после настила всех полос при помощи двух молотков, начиная от конька к свесу). Загибая большой край по маленькому, нужно обращать внимание на то, чтобы ребра получались одной высоты и были тщательно уплотнены. С правой стороны устанавливают клямеры, а после этого укладывают новую полоску картин.
После того как все картины будут уложены, на верхних листах делают стоячий фальц. Для этого обрезают лишнюю часть листа по коньку с одной стороны больше, а с другой меньше, затем большой фальц загибают по маленькому и уплотняют.
Работы с кровельным железомРаботы с кровельным железом не ограничиваются только выполнением стального покрытия, к ним также относятся:
– работы на фронтонах и сплошных стенах;
– прикрепление водоотливов к стенам и дымовым трубам;
– изготовление ограждений, водосточных воронок, вентиляционных труб, свесов, желобов и водосточных труб.
Водоотлив у стены и дымовой трубы делается не менее чем на 150 мм выше уровня кровли. Листы, перекрывающие внутренний закругленный угол кровли, укладываются внахлестку не менее чем на 100 мм.
При установке вентиляционной трубы необходимо с максимальной точностью вырезать для нее отверстие в кровле, так как перекрыть большой зазор будет очень трудно. В зависимости от конструкции кровли различают два вида желобов: висячий и лежачий.
Самым распространенным считается висячий желоб с водосливным листом, изготавливаемый из стальных листов толщиной 4 мм и шириной 25 мм. Он крепится вдоль свеса кровли на скобах из полосовой оцинкованной стали, расположенных друг от друга на расстоянии 700–800 мм. Как правило, висячий желоб имеет полукруглую форму, но бывают и коробчатые желоба с прямыми углами. Они используются в основном в качестве архитектурного дополнения и являются менее экономичными из-за того, что требуют более частого ремонта в связи с острыми углами загиба.

Рис. 38. Водоотлив у дымовой трубы.

Рис. 39. Виды желобов: а – висячий желоб; б – лежачий желоб; в – висячий коробчатый желоб; 1 – скоба; 2 – желоб.
Лежачий желоб используется при отсутствии свеса, поэтому крепится непосредственно по краю кровли. Для того чтобы не нарушать стилистического единства деревянного дома, можно использовать коробчатые желоба из досок или желоба, выдолбленные из половины бревна и пропитанные предварительно антисептиком.
Диаметр водосточных труб зависит от количества поступающей в них воды. Так, диаметр водосточной трубы для кровли площадью 30 м2составляет 80 мм, для кровли площадью 50 м2– 90 мм, для кровли площадью 125 м2– 100 мм. Устанавливаются водосточные трубы на расстоянии не менее 30–35 мм от стены и крепятся к ней при помощи хомутов и замурованных штырей с ухватами. Для того чтобы штыри не ржавели, они должны быть оцинкованными или покрытыми каким-либо антикоррозийным составом.






















