Текст книги "Забор, ограда, калитка на дачном участке. Строим своими руками"
Автор книги: Иван Никитко
Жанры:
Сад и Огород
,сообщить о нарушении
Текущая страница: 2 (всего у книги 7 страниц) [доступный отрывок для чтения: 2 страниц]
Сотовый поликарбонат – новый материал в дачном строительстве, постепенно вытесняющий традиционные варианты. Сотовый поликарбонат называется так по той причине, что внутри материал имеет ячеистое строение, сходное с пчелиными сотами. Внутренние ячейки заполнены воздухом, что придает материалу ударопрочность и делает его теплосберегающим (свойство, обеспечившее сотовому поликарбонату популярность в качестве материала для изготовления теплиц и парников). Толщина сотового поликарбоната составляет 4–25 мм.
До сих пор поликарбонат применяли в основном для устройства теплиц, но теперь, когда появились различные цвета и оттенки материала, по достоинству оценены его прочность (ударопрочность сотового поликарбоната превышает ударопрочность стекла в 250 раз) и декоративность для изготовления ограды. Плюсом поликарбоната является его хорошая сочетаемость с другими материалами, что позволяет создавать оригинальные комбинированные ограды – поликарбонат в сочетании с кирпичом, бетоном, деревом. Особенно изысканно выглядят ограды, сочетающие поликарбонат и кованые элементы.
Для дачных участков небольшой площади ограда из поликарбоната – один из лучших вариантов, так как возможен выбор этого материала по светопропускающей способности (от 90 % света до полностью непрозрачного). Ограда с высокой светопропускающей способностью позволяет высаживать растения вплотную к ограждению, и не теряется ни кусочка земли, что очень существенно для маленьких участков, где каждый квадратный метр на счету. Для тех, кто плохо переносит яркий свет, хороши ограждения из транслюцентного поликарбоната (светорассеивающего) – около такой ограды можно устроить площадку для отдыха, которая будет комфортной для глаз даже в самый солнечный день.
Еще один плюс сотового поликарбоната – хорошая звукопоглощающая способность (за счет ячеистой структуры). Так что если мимо вашего участка часто ездят автомобили, или соседи устраивают дискотеки, или вам мешают детские игры, то ограда из поликарбоната поможет справиться с посторонними шумами.
Дополнительным бонусом ограды из сотового поликарбоната является простота ухода: ограда не нуждается в покраске или какой-либо иной дополнительной обработке против воздействий окружающей среды, а для сохранения декоративного вида достаточно периодически мыть ограждение (простая поливка из шланга), что не представляет сложности на дачных участках.
Наибольшей популярностью пользуется прозрачный поликарбонат молочного и бронзового оттенков (особенно хорош поликарбонат с бронзовым оттенком в сочетании с кованой оградой соответствующей окраски). Для изготовления оград нередко используют поликарбонат с профилированной поверхностью.
ПВХПо сравнению с сотовым поликарбонатом менее популярны пластиковые ограды, хотя забор из ПВХ весьма прост в монтаже, не требует специального ухода, устойчив к перепадам температуры и атмосферным воздействиям, не подвержен коррозии, не гниет и им не интересуются агрессивные био-агенты. Но бытует мнение, что заборы из ПВХ не слишком прочные. Подобное представление о современных профилях ПВХ неверно – ограда достаточно надежна. Правда, если речь идет о защите от проникновения злоумышленников, то пластиковая ограда не защитит ваш участок. Она является простым ограждением вашей территории, зато обеспечивает прекрасную ветрозащиту, надежно укрывает от посторонних взглядов, отлично обозначает границы участка и достаточно декоративна.
МеталлРеже всего на дачах устанавливаются кованые металлические ограды. Они отличаются высокой декоративностью, но очень дороги – это самый дорогой вид ограждений ($30–50 за 1 м 2, цена зависит от сложности рисунка ограды). Кованые ограды прозрачны и не защищают от любопытных взглядов. Для установки кованой ограды необходимо привлечение профессионалов, имеющих специальное оборудование. Кроме того, кованые ограды нуждаются в регулярном уходе (покраска, антикоррозийное покрытие), а также редко вписываются в дизайн дачного поселка – рядом с соседскими оградами из дерева, профнастила или сетки-рабицы кованая ограда выглядит белой вороной. Кованые ограды обычно устанавливаются вокруг коттеджных участков достаточно большой площади и практически никогда не используются для дач.
Подручные материалыКроме всего перечисленного для дач используются ограды, изготовленные из различных подручных материалов: из отходов штамповочного производства, лозы, проволоки, кольев. Широко используются живые изгороди.
Практически любой материал может послужить для изготовления ограды: любые остатки, отходы, захламляющие сарай на вашей даче – остатки от строительства и ремонта, даже остатки от вырубки лишних деревьев и кустарников. Например, отличные ограды получаются из орешника – крепкие и гибкие ветки, слабо подверженные гниению, позволяют соорудить плетень а-ля кантри, придать стиль участку. В то же время орешник на участке – весьма вредное растение, которое подлежит выкорчевке. Если у вас обнаружился пышный куст, который вы собираетесь уничтожить на корню, знайте – в вашем распоряжении появился материал для стильного забора.
Куски проволоки, веревки, разномастные доски, рейки – из всего этого добра, которое больше напоминает кучу мусора, можно соорудить прекрасные решетки для плетущихся растений, которые, в свою очередь, составят замечательную живую изгородь.
Так что, если вас интересует ограда за минимальную цену (в общем-то, даже бесплатная), начните с того, что обследуйте залежи «ненужных» материалов в сарае. Скорее всего, там найдется многое, что удивит вас возможностью оригинального использования при возведении ограды.
Ограда и дизайн участка
Ограда – это не только охрана участка, но и его лицо. Это первое, что видят люди, и именно она создает первое впечатление от вашего участка. Поэтому к внешнему виду ограждения следует подходить с особым вниманием, особенно если вы хотите, чтобы ваш участок был не только функциональным, но и внешне привлекательным. Так что материал для изготовления забора приходится рассматривать еще и с эстетической точки зрения, на его соответствие общему дизайну дома и участка.
Для деревянных домов оптимальной является ограда из дерева. Хорошо с такими домами смотрятся ограды из сетки-рабицы, профнастила, сотового поликарбоната. Тяжелые ограды – из кирпича, природного или искусственного камня – не сочетаются с деревянными домами, как и кованые ограды. При этом опорные столбы могут быть как деревянными или из металлических труб, так и выполненными из кирпича или камня, как и цоколь ограды может быть из кирпича или камня.
Ландшафтный дизайн должен соответствовать дизайну дома и ограды. Деревянные ограды ухудшают общий вид участка даже в случае деревянного дома, если в ландшафтный дизайн включаются другие постройки и украшения участка, выполненные не из дерева (например, беседка, скамейки и т. д.). Если вы собираетесь построить на участке беседку или навес для автомобиля из сотового поликарбоната, то в этом случае лучше устанавливать не деревянную ограду, а ограду из того же сотового поликарбоната или сетки-рабицы. Даже теплицы и парники должны соответствовать материалу ограды: с точки зрения дизайна участка при деревянном заборе лучше, если каркасы для парников и теплиц будут изготовлены из древесины.
Такие экзотические варианты, как ограда из кольев или плетень, подходят для деревянных домов, особенно если кровля дома выполнена из природных материалов (солома, камыш, дранка и т. д.) или дерна, а участок оформлен в «деревенском» стиле: плетеные ограждения для клумб, площадки для пикников, разделение посадок оградами из кольев, украшения в виде горшков для ограды, соответствующие садовые скульптуры (из дерева) и т. д. Если же дом не деревянный, то подобного типа ограды лучше не использовать.
При отделке домов сайдингом отлично смотрятся ограды из профнастила соответствующего цвета (в цвет отделочного сайдинга). Особенно хорошо в этом случае сочетание профнастила с опорными столбами и цоколем из природного или искусственного камня. Добиться гармонии можно без сайдинга: достаточно, чтобы профнастил сочетался по цвету с домом (стены или кровля).
Ограда из сотового поликарбоната удачно сочетается практически с любым оформлением участка и материалом дома. То же относится и к ограде из сетки-рабицы. Однако если дом каменный (кирпичный) или используется отделка сайдингом, то сетку-рабицу следует монтировать в рамах из уголка, чтобы придать ограде строгие, четкие формы. В таких случаях возможен любой желаемый дизайн участка, начиная от «деревенского» стиля и заканчивая изысканными парковыми ландшафтами с искусственными водоемами, альпийскими горками и даже настоящим садом камней.
Дома из кирпича тяготеют к аналогичным оградам, но для дачных участков это не всегда возможно – ограда из кирпича массивна, занимает довольно много места, дает много тени для небольшого участка и дорога. В этом случае возможно использовать ограды из штакетника или досок, сотового поликарбоната, профнастила в сочетании с опорными столбами и цоколем из кирпича (рис. 1.7).

Рис. 1.7.Деревянная ограда с опорными столбами и цоколем из искусственного камня под облицовку дома
С домами из белого силикатного кирпича неплохо сочетается ограда из бетонных панелей.
Кирпич ограды должен сочетаться с кирпичом, из которого построен дом. Так, не слишком эстетично выглядит ограда из силикатного белого кирпича при доме из керамического красного кирпича.
Если цоколь дома отделан природным или искусственным камнем, то желательно, чтобы цоколь ограды имел аналогичную отделку – на небольших участках такие нюансы бросаются в глаза, поэтому так важна гармоничность каждой части построек. Отделка цоколя ограды природным камнем может быть использована и при деревянных домах и оградах, но в этом случае лучше применять булыжник – камни должны иметь как можно более естественный, «природный» вид.
Для того чтобы участок выглядел гармонично, желательно использовать материалы, из которых изготовлена ограда, для возведения других построек. Так, с забором из сотового поликарбоната будут удачно сочетаться навес из того же материала, парники и теплицы из сотового поликарбоната, беседка и т. д. Если ограда изготовлена из бетонных панелей, то при оформлении участка можно использовать такие же панели для возведения беседок, пергол и т. д. С бетонным забором будет неплохо сочетаться кирпич в оформлении участка – из него можно изготовить перголу, опорные столбы для беседки и прочее. Можно приобрести соответствующую садовую скульптуру или другие украшения для участка либо изготовить их самостоятельно. К примеру, с помощью крупного булыжника и тонкой металлической трубы можно сделать лебедя, а если приставить булыжник к крану, то получится лебедь-фонтан при искусственном водоеме.
Живые изгороди сочетаются с любым типом домов и любым вариантом ландшафтного дизайна. Исключение составляет ландшафтный дизайн в альпийском или японском стиле в сочетании с такими растениями, как плетущиеся розы, шиповник, рододендроны и другие пышноцветущие кустарники. При подобном ландшафтном дизайне, который тяготеет к минимализму, для живой изгороди лучше выбирать хвойные деревья или кустарники типа облепихи, туи, барбариса или можжевельника – нецветущие, довольно скромные, но при этом изящные.
Глава 2
Изготавливаем ограду своими руками
Подготовительные работы
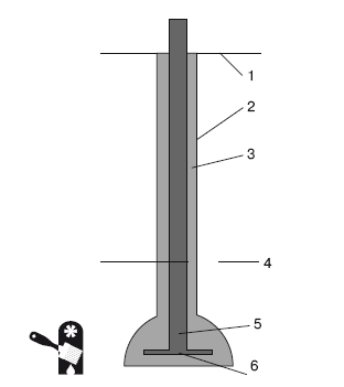
Большинство оград представляет собой конструкцию, имеющую в своей основе опорные столбы, лаги и обрешетку, крепящуюся к лагам (рис. 2.1). Наиболее ремонтопригодный вариант ограждения – наличие блоков обрешетки, отдельно собранных секций, которые и крепятся к лагам. В случае повреждения какой-либо части такого ограждения достаточно снять дефектную секцию и заменить ее новой.

Рис. 2.1.Элементы ограды:
1– навершие; 2– лаги; 3– обрешетка; 4– опорный столб; 5– фундамент
Строительство любого забора, от самого простого плетня до художественно выполненного кирпичного ограждения, начинается с разметки территории. Даже устройство живой изгороди требует точной разметки, правда, несколько иной, чем в случае заборов с опорными столбами.
Расстояние между опорными столбами составляет обычно 2–2,5 м – это позволяет получить надежную ограду с невысокой парусностью и оптимальным количеством опорных
столбов. Если вы хотите сэкономить на опорных столбах за счет увеличения расстояния между ними, то учтите, что парусность вашего ограждения может повыситься таким образом, что первый же более или менее сильный ветер попросту завалит ограду.
Следует учитывать, что расстояние 2–2,5 м – это не расстояние между опорными столбами по осям, а длина пролетов (блоков обрешетки), поэтому, определяя места расположения опорных столбов, к этому расстоянию нужно прибавлять 10 см (по 5 см отступа от каждого опорного столба) и диаметр опорного столба. Если вы принимаете расстояние 2–2,5 м за расстояние между опорными столбами по осям, вам следует соответствующим образом рассчитать длину пролетов, в противном случае после установки столбов вы можете обнаружить, что подготовленные вами блоки обрешетки либо длиннее, чем требуется, либо короче.
Разметка территории под ограждение осуществляется с помощью обычной веревки (или шнура), которая натягивается по периметру будущего забора. Колышки вбиваются на места, где планируется разместить опорные столбы.

ВНИМАНИЕ
При разметке территории под ограждение не забудьте отдельно отметить те места, где планируется установка ворот и калитки.
Размечая территорию под живую изгородь, следует учитывать место для будущего роста растений. Поэтому высаживать рассаду прямо вдоль границы будущей ограды не стоит, расстояние должно составлять 30–40 см до внешнего и внутреннего края ограждения (за исключением таких растений, как виноградная лоза, которая высаживается вплотную к опорной решетке), а расстояние между растениями выбирается в зависимости от их вида. Затем, по мере роста растений, ограда формируется с помощью секатора – ветви подрезаются и ограде придается нужная форма.
Если речь идет об ограждении из плетущихся растений типа виноградной лозы, то сначала изготавливается опорная рама – металлические или деревянные столбы с обрешеткой из дерева или проволоки, а растения высаживаются вплотную к опорной раме и по мере роста направляются на обрешетку (рис. 2.2).

Рис. 2.2.Опорная рама для изгороди из виноградной лозы
Установка столба из трубы
Применяется несколько способов установки опорных столбов из трубы в зависимости от типа грунта, тяжести ограды и даже силы ветра на участке.
Полное бетонирование используется в основном в том случае, если столбу придется выдерживать удары сильного ветра. Если в вашей местности случаются ураганные ветры, то полное бетонирование послужит надежной защитой ограды. В противном случае столб может покоситься от ветра, а в результате завалится вся ограда. Особенно актуально полное бетонирование в том случае, если участок располагается на открытой местности и для ветра нет препятствий в виде соседних домов или деревьев.
Глубина ямы под столб в этом случае может составлять около 90 см, но для надежности лучше опускаться ниже глубины промерзания грунта – это убережет ограду не только от урагана, но и от выдавливания столба из-за морозного пучения грунта. Диаметр ямы составляет около 20 см. В подготовленную яму засыпается щебень (фракция 5–20 мм), при этом высота щебеночной подушки должна составлять 10 см, затем опускается столб и все заливается бетонным раствором (рис. 2.3).

Рис. 2.3.Установка столба с полным бетонированием:
1– столб; 2– уровень грунта; 3– бетон; 4– подушка из щебня
Для надежной фиксации столбов применяется полное бетонирование с армированием. Подобный способ особенно актуален, если вы собираетесь возводить кирпичный столб с сердцевиной из трубы – бетонирование в сочетании с армированием исключит небольшие подвижки металлического столба и не позволит ему разрушить кирпичную кладку. В этом случае применяется арматура диаметром 8–10 мм, для крепления используется вязальная проволока. Скрепленная арматура устанавливается вокруг опущенного в яму столба, а затем осуществляется бетонирование (рис. 2.4).

Рис. 2.4.Установка столба способом полного бетонирования с армированием: 1– столб; 2– арматура, скрепленная вязальной проволокой; 3– уровень грунта; 4– бетон
Возможно и частичное бетонирование подземной части столба. В этом случае после опускания его в яму примерно на половину глубины засыпается грунт, который тщательно трамбуется. Оставшаяся часть заливается бетоном (рис. 2.5).

Рис. 2.5.Установка столба с частичным бетонированием подземной части: 1– столб; 2– уровень грунта; 3– бетон; 4– утрамбованный грунт
При установке столбов на сыпучих или рыхлых грунтах допускается производить бутование щебнем. Для этого опущенный в яму столб необходимо просто засыпать щебнем (фракцией 5–20 мм), после чего тщательно его утрамбовать (рис. 2.6).

Рис. 2.6.Установка столба с бутованием щебнем:
1– столб; 2– уровень грунта; 3– щебень

ВНИМАНИЕ
Столбы, на которых располагаются створки ворот и калитка, а также угловые столбы, должны быть не только засыпаны щебнем, но и забетонированы, вне зависимости от веса ограды.
Рассмотрим вариант установки опорного столба с бутованием щебнем и полным бетонированием. Столб изготавливается из трубы (металлической, асбоцементной, бетонной). Такие опорные столбы применяются с легкими оградами – сеткой-рабицей, деревянными оградами из профнастила, поликарбоната, панелей ПВХ. В этом случае опорные столбы выполняют функцию столбчатого фундамента, на котором затем монтируется ограждение. Такие столбы также применяются в комбинации с кирпичом для большей устойчивости и долговечности кирпичного столба.
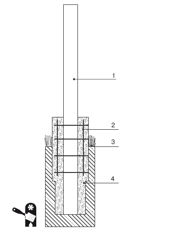
Ямы под опорные столбы можно выкопать и лопатой, но это не только тяжело и занимает много времени – такие ямы не будут ровными, и столбы могут в них перекашиваться. Оптимально делать отверстия под опорные столбы с помощью садового бура. Если же получится достать для этой процедуры бур ТИСЭ, забор приобретет дополнительную прочность, так как этот бур делает отверстие с расширением внизу (рис. 2.7).

Рис. 2.7.Установка опорного столба с помощью бура ТИСЭ: 1– уровень грунта; 2– защитная оболочка из рубероида; 3– бетон; 4– уровень промерзания грунта; 5– опорный столб; 6– «пятка» опорного столба
Глубина ямы должна быть больше, чем уровень промерзания грунта, иначе столбы будут выдавливаться при перепадах температуры, а ограду перекосит (рис. 2.8).

Рис. 2.8.Ограда, рухнувшая из-за выдавленного пучинистым грунтом столба 1,2–1,4 м – обычная глубина промерзания грунта в Москве и Московской области, до 2,4 м – глубина промерзания грунта в более северных широтах (рис. 2.9).

Рис. 2.9.Нормативная глубина промерзания грунта
Если ямы под опорные столбы делаются с помощью бура ТИСЭ, то для большей устойчивости столба можно прикрепить к нему «пятку» (если столб металлический – приварить, если деревянный – можно закрепить оцинкованными гвоздями).

ВНИМАНИЕ
«Пятку» столба следует обеспечить такой же защитой от контакта с грунтом, как и сам столб. Деревянные части обрабатываются смолой, горячим битумом, обжигаются и т. д.
Подготовленные столбы устанавливаются в ямы и закрепляются с помощью пары камней. Это еще не окончательная установка, а лишь подготовительный этап – столбы нужно выровнять по высоте. Причем обрезка столбов должна осуществляться не до готовности ям, а именно после: по не зависящим от вас причинам (к примеру, из-за сложного рельефа местности, из-за наличия крупных неудаляемых камней в местах, где должны располагаться опорные столбы, и т. д.) ямы могут оказаться неодинаковой глубины. Промерив столбы, установленные в подготовленных ямах, их нужно обрезать до требуемой длины.
После того как столбы обрезаны, в верхней части предусматривается крепление для будущих лаг или бетонных плит (в зависимости от того, какой именно забор вы собираетесь монтировать). Это могут быть просверленные отверстия (если лаги планируется крепить просто на болтах непосредственно к опорным столбам) или специальные уголки. Затем можно устанавливать опорные столбы в ямы.
Чтобы надежнее защитить столбы от контакта с грунтом, в каждую яму помещается рубероидная гильза. После этого в яму опускается столб и выравнивается с помощью строительного уровня как в горизонтальной, так и в вертикальной плоскости. Несколько камней закрепят столб в выбранном положении, и тогда можно приступать к бетонированию.

ВНИМАНИЕ
Устанавливая столбы в ямы, не забудьте обратить внимание на подготовленные крепления для лаг или бетонных плит – после бетонирования столбы уже нельзя будет поворачивать, и если крепления окажутся не с той стороны, то вам придется начинать сначала всю работу или устанавливать крепления на уже забетонированный вертикальный столб.
Теперь нужно ждать застывания фундамента. За это время можно подготовить к установке лаги и заборные секции. Пока фундамент не застынет окончательно, опорные столбы не рекомендуется даже красить – малейший толчок может сместить столб в яме, а результатом явится перекос ограды.
После того как раствор застынет, столб необходимо окрасить для защиты от негативных воздействий окружающей среды.

ПРИМЕЧАНИЕ
Если вы используете старые столбы, которые уже были когда-то окрашены, то перед установкой необходимо удалить старую краску.
Для того чтобы защитное покрытие служило как можно дольше, перед тем как приступить к покраске, столб нужно очистить от грязи и обработать обезжиривающим раствором. Сэкономив на обезжиривании, вы уже через год столкнетесь с необходимостью вновь красить столбы, удаляя при этом вспучившуюся краску и появившуюся ржавчину.

ВНИМАНИЕ
Из чего бы ни был изготовлен опорный столб – из металла, дерева, кирпича, бетона и т. д., – необходимо предусмотреть защиту от влаги. Столб следует либо накрыть защитным навершием (самый простой его вид – жестяное, его можно изготовить самостоятельно, имея в своем распоряжении кусок жести), либо сделать козырек хотя бы из пластиковой бутылки.
Не забывайте, что от прочности вашего опорного столба, от того, насколько надежно он установлен, зависит прочность всей ограды.








