Текст книги "Как было получено изображение обратной стороны Луны"
Автор книги: Геральд Богатов
Жанры:
Астрономия и Космос
,сообщить о нарушении
Текущая страница: 2 (всего у книги 5 страниц)
Как фотографировалась невидимая сторона луны
Одной из сложнейших задач, которую необходимо было решить для получения уникальных фотографий Луны, являлось обеспечение соответствующей ориентации межпланетной автоматической станции в космическом пространстве. Автоматическая межпланетная станция после отделения последней ступени ракеты произвольно вращалась вокруг своего центра тяжести. Совершенно ясно, что сфотографировать Луну даже 1 раз, не говоря уже о целой серии фотографий, при таком вращении невозможно.
Как же можно обеспечить необходимую ориентацию межпланетной станции?
Известны различные способы ориентации космического летательного аппарата относительно Земли, Солнца, Луны и других небесных тел.
Угловая ориентация космического летательного аппарата может быть осуществлена, во-первых, с помощью нескольких маленьких реактивных двигателей с различным направлением газовых струй. Включая определенную группу ©тих двигателей, можно изменять ориентацию аппарата. Изменить ориентацию космического летательного аппарата можно также, повернув на небольшой угол камеру сгорания.
Другой способ изменения ориентации космического летательного аппарата состоит в использовании вращающихся маховиков, располагаемых на его осях. Применять маховые массы для управления положением межпланетной станции предложил К. Э. Циолковский. Принцип действия маховых масс основан на законе механики, который гласит, что если на систему не действуют внешние силы, то момент количества движения системы тел остается постоянным. Моментом количества движения космического аппарата называется произведение его момента инерции[1]1
Момент инерции тела относительно какой-либо оси вращения выражается произведением массы тела на квадрат расстояния тела от этой оси.
[Закрыть] на угловую абсолютную скорость, т. е. скорость относительно неподвижного «мирового пространства». Если мы каким-либо способом начнем вращать маховую массу с постоянной скоростью, то межпланетная станция начнет вращаться в другую сторону с определенной скоростью. Для ориентировки межпланетной станции по одной из трех осей в ее корпусе на двух других взаимно-перпендикулярных осях необходимо поместить по маховику, которые будут вращаться двигателями с определенными угловыми скоростями. Используя такую систему маховиков, можно остановить вращение корпуса межпланетной станции в безвоздушном пространстве и осуществить угловую ориентацию ее относительно небесных тел.

Рис. 5. Траектория полета автоматической межпланетной станции (проекция на плоскость земного экватора).
Ориентация автоматической межпланетной станции производилась с помощью системы, включавшей в свой состав оптические и гироскопические датчики, логические электронные устройства и управляющие двигатели. В начале работы система ориентации прежде всего прекратила произвольное вращение межпланетной станции вокруг ее центра тяжести, возникшее в момент отделения станции от последней ступени ракеты-носителя.
Траектория движения станции была выбрана таким образом, чтобы в момент съемки станция находилась приблизительно на прямой, соединяющей Солнце и Луну. При этом Земля должна была находиться в стороне от направления Солнце – Луна (рис. 5), чтобы не произошло ориентации на Землю вместо Луны.
Перед началом процесса фотографирования нижнее сферическое днище, на котором были установлены солнечные датчики, при помощи системы ориентации было направлено на Солнце. В это время иллюминатор на верхнем днище, под крышкой которого находились объективы фотографических аппаратов, был повернут в сторону Луны. После такой предварительной ориентации оптические устройства станции проверили ее по отраженному от Луны свету, так как во время процесса наводки станция могла и не находиться точно на линии Луна – Солнце. Комплекс устройств, производящих ориентацию, управлялся солнечными и лунными датчиками, преобразовывавшими энергию прямых и отраженных от поверхности Луны лучей Солнца в электрические сигналы. Положение станции во время ориентации на Луну показано на рис. 6.
После того как была произведена точная наводка на Луну, оптические устройства выработали сигнал, разрешавший начало автоматического фотографирования. В течение всего времени фотографирования автоматическая система ориентации обеспечивала непрерывное наведение станции на Луну; при этом помехи, вызываемые отраженным от Земли светом, были практически устранены.
Для фотографирования Луны наши конструкторы создали фототелевизионную аппаратуру, способную работать в сложных условиях космического полета, устойчивую к изменениям температурного режима, сохраняющую фотоматериалы, несмотря на вредное воздействие космических излучений. Одним из условий работы этой аппаратуры было четкое взаимодействие всех ее механизмов в условиях невесомости.

Рис. 6. Положение автоматической межпланетной станции в космическом пространстве при фотографировании обратной стороны Луны (стрелки справа показывают направление лучей Солнца).
На межпланетной станции использовался фотоаппарат с двумя объективами. Как известно, от величины фокусного расстояния объектива (расстояния от линзы до плоскости, на которой получается изображение очень удаленного предмета) зависит масштаб даваемого объективом изображения. Один объектив станции имел фокусное расстояние 200 мм и относительное отверстие (отношение входного отверстия к фокусному расстоянию) 1: 5,6. Этот объектив давал изображение лунного диска, которое полностью вписывалось в кадр. Другой имел фокусное расстояние 500 мм и относительное отверстие 1: 9,5 и позволял фотографировать детали.
После того как система ориентации навела объективы на Луну, в течение 40 мин. производилась съемка. Фотографирование велось на специальную 35-милли-метровую пленку. Сигнал о начале съемок был подан с Земли по радио, после чего дальнейший процесс съемки и сложный процесс обработки фотопленки производились автоматически по заданной программе. Последний снимок был сделан при расстоянии автоматической межпланетной станции от Луны 68 400 км.
Съемка производилась с автоматическим изменением экспозиции, с тем чтобы не ошибиться и наверняка получить снимки высокого качества.
Уникальные кадры были проявлены и зафиксированы специальным малогабаритным автоматизированным устройством. Процесс обработки был продуман таким образом, что он почти не зависел от изменения температуры внутри станции и не нарушался вследствие почти полной невесомости аппаратуры и химических реактивов. После обработки пленка просушивалась, а испаренная влага поглощалась, благодаря чему была обеспечена длительная сохранность фотопленки. После всей этой обработки фотопленка также автоматически поступала в специальную кассету, где и сохранялась до момента передачи зафиксированных на ней изображений на Землю.
Еще на Земле, перед посылкой ракеты в сторону Луны, на фотопленку были экспонированы испытательные знаки, причем часть этих знаков тут же на Земле была проявлена. Другая часть знаков проявлялась уже на борту межпланетной автоматической станции в процессе обработки заснятых кадров с изображением обратной стороны Луны. Эти знаки были переданы на Землю и дали возможность осуществить контроль процессов съемки, обработки и передачи изображений. И все это при расстоянии между наземными наблюдательными пунктами и космической лабораторией почти 500 000 км!
После того как было произведено экспонирование всех кадров, система ориентации выключилась. В момент выключения система ориентации сообщила автоматической межпланетной станции упорядоченное вращение с определенной угловой скоростью. Скорость вращения выбрана такой, чтобы, с одной стороны, улучшить тепловой режим, а с другой – исключить влияние вращения станции на работу научной аппаратуры.
Принцип работы бортовой телевизионной установки
Полученное с помощью отлично сработавшего бортового фотографического автомата изображение обратной стороны Луны должно было быть передано на огромное расстояние. Этот грандиозный эксперимент производился впервые за всю историю существования человечества.
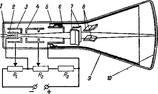
Как известно, изображение Луны было зафиксировано на светочувствительном слое негативной фотопленки, Распределение света и тени на поверхности Луны передавалось на фотографическом изображении различной степенью потемнения (различной оптической плотностью) отдельных участков фотопленки. Чем больший поток света, отраженного поверхностью Луны, попадал на отдельные участки фотопленки, тем более темными (т. е. большими по оптической плотности) оказывались эти участки после проявления и последующей фиксации фотографического изображения. Для того чтобы передать затем различное распределение оптической плотности по кадру, необходимо было предварительно преобразовать изменения плотности отдельных участков изображения в электрические сигналы. Изображение на негативной фотопленке переводилось этим самым на язык электрических сигналов одним из способов, используемых в телевидении для передачи кинофильмов. Блок-схемы передающей и приемной части установок приведены соответственно на рис. 7 и 8.
Полученные электрические сигналы, отображающие прозрачность отдельных точек негативной фотопленки, усиливались и подводились затем к радиопередающему устройству. Здесь сигналы изображения определенным способом управляли колебаниями высокой частоты, излучаемыми антенной передатчика автоматической межпланетной станции. Принятые на Землю электрические сигналы после соответствующего усиления и преобразования были превращены снова в световые сигналы. При этом необходимо было сохранить относительное расположение светящихся точек различной интенсивности в соответствии с распределением на фотопленке элементов различных оптических плотностей. Для получения изображения удовлетворительного качества число воспроизводимых, а соответственно и передаваемых элементов, должно быть очень велико – порядка нескольких сотен тысяч.
Передача телевизионного изображения обычно начинается с левого верхнего угла кадра, и преобразование изображения в электрические сигналы происходит слева направо, одного элемента за другим по всему горизонтальному ряду элементов до правого края изображения объекта (рис. 9,а). При этом световое пятно проходит первую строку так называемой развертки. Затем такому же преобразованию подвергается второй ряд элементов: развертываются вторая строка передаваемого изображения, третья и последующие тесно примыкающие друг к другу строки. Передача изображения Луны с борта автоматической межпланетной станции в зависимости от расстояния последней до Земли про-взводилась с различными числами строк разложения. Максимальное число строк доходило до 1 000. Преобразованием в электрические сигналы световой энергии от всех элементов последнего горизонтального ряда передаваемого изображения заканчивается передача одного полного телевизионного кадра, после чего процесс преобразования может быть повторен в том же порядке.

Рис. 7. Блок-схема телевизионного передатчика с бегущим световым пятном.1— проекционная электронно-лучевая трубка; 2 – фокусирующе-отклоняющая система; 3 – объектив; 4 — кинолента; 5 — кадровое окно, 6 — подающая кассета;7 – принимающая кассета; 8 — конденсор; 9 – фотоэлектронный умножитель; 10 – генератор гасящих и синхронизирующих импульсов; 11 – генератор развертки; 12 — источник электрической энергии; 13– источник высокого напряжения трубки; 14 — источник высокого напряжения фотоэлектронного умножителя; 15— усилитель сигналов изображения; 16 – смеситель; 17 —модулируемый генератор колебаний высокой частоты; 18 — передающая антенна.
Для воспроизведения изображения необходимо, чтобы преобразование электрического сигнала на приемной стороне происходило в той же последовательности в какой осуществлялось разложение, т. е. синхронно и синфазно с ним.

Рис. 8. Блок-схема аппаратуры пункта приема сигналов изображения.1 – приемная антенна; 2 —радиоприемник; 3 – усилитель сигналов изображения; 4 – генератор синхронизирующих импульсов; 5 – генератор развертывающих колебаний; 6 — воспроизводящая электронно-лучевая трубка; 7 – фокусирующе-отклоняющая система; 8 и 9 — устройства записи электрических сигналов, 10 – источник электрической энергии; 11 – источник высокого напряжения электронно-лучевой трубки.
Разложение изображения на элементы отдельных строк может быть осуществлено и другими способами. Здесь описывалась развертка изображения бегущим световым пятном. В качестве средства развертки в ней была применена используемая в телевидении проекционная электронно-лучевая трубка. Трубка эта являлась источником световой энергии. Экран ее прочерчивался в определенной последовательности электронным пучком, создавая соответствующую перемещению пучка последовательность световых вспышек. С помощью объектива перемещающееся световое пятно с экрана трубки проецируется на фотопленку с негативным изображением обратной стороны Луны; при этом в каждый отдельный момент времени просвечивается только один элемент негатива. Пропущенный фотопленкой свет попадает затем на катод фотоэлектронного умножителя, и на выходе последнего возникает электрический сигнал. При скольжении светового пятна по поверхности пленки в соответствии с изменением плотности ее изменяется и величина светового потока, а следовательно, и сигнал изображения. Таким образом, в данном случае используется телевизионная система мгновенного действия, в которой световой поток с каждого элемента объекта используется только в течение короткого интервала времени: пока световое пятно совпадает с данным элементом изображения, на фотокатод фотоэлектронного умножителя в каждый момент воздействует световой поток только от одного элемента изображения.

Рис. 9. Образование растра на экране трубки электронным лучом, перемещающимся под воздействием горизонтального (х) и вертикального (V) отклоняющих электрических полей.
Устройство электронно-лучевой трубки с электростатическим отклонением и принцип электронной развертки поясняет рис. 10. Электронно-лучевая трубка состоит из следующих основных элементов: электронного прожектора, фокусирующей системы, отклоняющей системы и люминесцирующего экрана. Все электроды трубки заключены в стеклянный баллон, из которого выкачан воздух, с тем чтобы атомы газа не мешали движению электронного пучка. В зависимости от способа фокусировки и отклонения электронного пучка различают несколько типов электронно-лучевых трубок.

Рис. 10. Устройство электронно-лучевой трубки с электростатическим управлением.1 – нить накала; 2 – катод; 3— управляющий электрод; 4 – первый анод; 5 – электропроводящее покрытие; 6 – второй анод; 7 – пластины горизонтального отклонения; 8 – пластины вертикального отклонения; 9 – стеклянная колба трубки; 10 – слой люминесцирующего вещества (экран трубки).
Электронный прожектор трубки состоит из нескольких электродов, служащих для создания фокусировки и изменения интенсивности электронного пучка. Прожектор устанавливается соосно с горловиной колбы трубки и содержит подогревный катод, управляющий электрод и два коаксиальных цилиндра, называемых первым и вторым, анодами. Катод представляет собой никелевый цилиндр с плоским или слегка вогнутым дном. Углубление в центральной части катода заполняется стойким оксидом – хорошим источником электронов. Катод подогревается вольфрамовой нитью, покрытой изолирующим жароупорным материалом.
За катодом размещается управляющий электрод, представляющий собой полый цилиндр с отверстием, расположенным против центра катода. Управляющему электроду сообщается отрицательный (до нескольких десятков вольт) потенциал относительно катода. Изменение величины этого напряжения изменяет интенсивность тока луча и соответственно яркость свечения экрана.
Первый анод выполняется в виде полого цилиндра с плоским дном, имеющим отверстие, обращенное к катоду. Назначением этого электрода является создание вблизи катода электрического поля большой напряженности, необходимого для формирования электронного пучка. Внутри анода помещено несколько перегородок с отверстиями – диафрагм, которые задерживают электроны, траектории которых отклонены от оси.
Второй анод соединяется с внутренним проводящим покрытием баллона трубки и имеет потенциал, в 3—10 раз более высокий, чем потенциал первого анода. Потенциал второго анода определяет скорость электронов, бомбардирующих экран. Между первым и вторым анодами образуется главное фокусирующее поле, стягивающее электроны в узкий пучок.
Экран трубки состоит из тонкого слоя люминофора, нанесенного на внутреннюю поверхность передней стенки колбы. Быстро движущиеся электроны бомбардируют люминофор и отдают ему при этом свою энергию. Последняя частично выделяется в виде тепла, а частично возбуждает атомы кристаллического люминофора, что проявляется в виде излучения электромагнитных колебаний различных частот, включая видимую область спектра. Состав люминофора и способ его нанесения определяют цвет, яркость свечения и способность люминофора сохранять свечение после прекращения облучения электронным пучком. Время, в течение которого сохраняется свечение, называется временем послесвечения.
Электронная развертка с электростатическим отклонением осуществляется с помощью двух пар взаимноперпендикулярных металлических пластин. Между пластинами при подаче на каждую пару их напряжения создаются электрические поля, направленные перпендикулярно оси трубки. Силы взаимодействия между этими полями и движущимися по направлению к экрану электронами отклоняют электроны от оси, причем отклонение пропорционально напряженности электрического поля. Напряженность поля между пластинами меняется при изменении отклоняющих напряжений по определенному закону. Для создания прямоугольного растра, т. е. воспроизведения всех горизонтальных строк на экране трубки, к отклоняющим пластинам необходимо подавать напряжения пилообразной формы (см. рис. 9,б и в). Частота колебаний, обеспечивающих смещение электронного пучка по вертикали, должна соответствовать частоте смены кадров, а частота напряжения, подаваемого на горизонтальные пластины, должна быть во столько раз больше частоты смены кадров, на сколько строк разлагается изображение. Движение пучка слева направо под воздействием горизонтального отклоняющего поля называется прямым ходом строчной развертки. Быстрое же возвращение его в начальное положение называется обратным ходом. Аналогично медленное движение электронного пучка сверху вниз под действием поля между вертикально отклоняющей парой пластин называется прямым ходом вертикальной развертки, а быстрое его возвращение вверх – обратным ходом.
Время возвращения пучка в исходное положение должно быть минимальным. Чтобы пучок не прочерчивал на экране линий, мешающих наблюдениям, трубка во время обратного хода обычно запирается специальными гасящими импульсами. Время обратного хода пучка по кадру и строке и используется для посылки так называемых синхронизирующих сигналов. Последние служат для установления жесткой связи между движениями пучков передающей и приемной трубок, т. е. в случае автоматической межпланетной станции – между проекционной трубкой аппаратуры космической станции и трубками на наземных наблюдательных пунктах.
Генераторы развертки космической станции были собраны на полупроводниковых приборах с использованием малогабаритных, совершенных по своим электрическим свойствам конденсаторов, трансформаторов, сопротивлений и других элементов.
Осуществить развертку изображения на пленке световым пятном можно и другим способом. На экране электронно-лучевой трубки нужно в этом случае перемещать электронный пучок лишь в горизонтальном направлении, а развертку в вертикальном направлении осуществлять за счет одновременной непрерывной протяжки пленки в продольном направлении.
Как уже говорилось, фокусировка и отклонение электронного пучка могут быть осуществлены и магнитными полями. Трубки с магнитной фокусировкой и магнитным отклонением пучка обеспечивают большую четкость изображения, чем электростатические трубки, особенно при больших размерах экранов. Трубки с магнитной фокусировкой и магнитным отклонением пучка при равных размерах экранов имеют меньшую длину по сравнению с электростатическими. Однако отклонение пучка достигается в электростатических трубках более простыми средствами. Размеры, вес и потребляемая энергия устройств, осуществляющих электромагнитное управление электронным пучком, оказываются большими, чем у аналогичных электростатических трубок.
В системах с бегущим световым пятном обычно используют электронно-лучевые трубки с повышенной яркостью свечения экрана. Повышение яркости свечения достигается в них за счет применения люминофоров с повышенной светоотдачей, увеличения ускоряющего напряжения (напряжения второго анода в данном случае), которое может достигать нескольких десятков тысяч вольт, и увеличения количества электронов в пучке.
Итак, использование электронно-лучевой трубки позволяет в определенной последовательности просвечивать небольшие участки пленки, на которой зафиксировано изображение Луны. Световой поток, пропущенный этими участками пленки, попадает на фотоэлектронный умножитель, в котором осуществляется многократное усиление фототока.
Принцип действия фотоэлектронного умножителя рассмотрим на примере многокаскадного фотоэлектронного умножителя, схематическое изображение электродов которого приведено на рис. 11. В приборе имеется несколько электродов, на поверхность которых нанесен активирующий слой цезия. Первый из электродов является фотокатодом, а последний – анодом. Фотокатод здесь по форме подобен промежуточным электродам – эмиттерам. Он может быть выполнен также в виде полупрозрачного покрытия на внутренней поверхности той или иной части колбы умножителя. Перед фотокатодом на пути светового пучка помещена редкая проволочная сетка, препятствующая слишком сильному рассеянию электрического поля вблизи фотокатода. Число эмиттеров, располагаемых между фотокатодом и анодом, у разных приборов различно (до 16). Эмиттеры подключены к потенциометру так, что величина потенциала их увеличивается на одинаковую величину при увеличении порядкового номера электрода, начиная с фотокатода. Под действием светового потока с поверхности фотокатода испускаются электроны. Эти электроны ускоряются электрическим полем, бомбардируют первый эмиттер и выбивают с поверхности его электроны, причем количество вторичных (выбитых) электронов должно быть больше числа первичных электронов. Такой эффект достигается благодаря определенному выбору материала и соответствующей обработке поверхности эмиттеров. Применяемые в настоящее время эмиттеры испускают пять и более электронов на один первичный электрон. Иными словами, коэффициент вторичной электронной эмиссии поверхности эмиттера равен 5 и более.

Рис. 11. Электродная система фотоэлектронного умножителя. ФК – фотокатод; Э1—Э7 – эмиттеры; А – анод; С – световой пучок; П — проволочная сетка.
Вторичные электроны, вылетевшие из первого эмиттера, попадают на второй эмиттер, находящийся под большим потенциалом относительно катода, и выбивают из него еще большее число вторичных электронов. Таким образом, электронный поток на пути от фотокатода к аноду непрерывно возрастает и в цепи анода появляется ток, значительно превосходящий фототок катода. Практически удается получить усиления фототока внутри прибора до 1 млн. раз, а в приборах усложненной конструкции усиление достигает 1 млрд. раз. Усиление К фотоэлектронного умножителя будет зависеть от величины коэффициента вторичной электронной эмиссии б и количества эмиттеров п следующим образом:

Для того чтобы действительный коэффициент усиления приближался по своей величине к расчетному, определяемому по этой формуле, необходимо, чтобы все вторичные электроны попадали с каждого предыдущего эмиттера на последующий, а не пролетали мимо. Если часть электронов минует один или несколько эмиттеров, не «умножаясь» на них, то общий коэффициент усиления снижается. Для того, чтобы вторичные электроны не пролетали мимо соседних эмиттеров, им придана специальная ковшеобразная форма. Такая форма эмиттеров была найдена после тщательных исследований.
Последний эмиттер отличается по форме от остальных и выполнен так, чтобы анод можно было поместить достаточно близко от его поверхности. При этом пространственный заряд, который может образоваться скапливающимися электронами, рассасывается, чем обеспечивается линейность усиления. Анод в описываемом здесь фотоумножителе представляет собой рамку с натянутыми на ней проволочными нитями.
По такой схеме построена умножающая часть многих фотоэлектронных умножителей, выпускаемых нашей промышленностью.
Существует несколько типов фотоэлектронных множителей, в которых электронные потоки с одного эмиттера на другой направляются несколько иначе. В одном случае для направления электронных потоков используется специальный, общий для всех эмиттеров электрод – сетка. В другом случае эмиттеры умножителя устроены так, что первичные электроны бомбардируют их с одной стороны, а вторичные электроны выходят с противоположной стороны; такие эмиттеры располагаются один за другим.
В третьем случае фокусировка электронов осуществляется взаимодействием магнитного и электрического полей и движущихся электронов.
Сигналы на нагрузочном сопротивлении фотоэлектронного умножителя ничтожны по своей величине, и потому они подводятся к усилителю, а после усиления и смешения с синхронизирующими и гасящими импульсами, создаваемыми в схеме синхрогенератора, поступают в радиопередатчик. В передатчике высокочастотные сигналы модулируются сигналами изображения. Процесс модуляции, как известно, заключается в том, что в соответствии с изменениями величины и частоты сигнала изображения происходит изменение одного из параметров колебаний высокой частоты (амплитуды, фазы или частоты). Применяются и другие виды модуляции. Так, например, в радиофототелеграфии сигналы изображений часто передают методами амплитудной и частотной модуляций вспомогательной несущей частоты. Полученным частотно-модулированным сигналом модулируют затем амплитуду колебаний высокой несущей частоты радиопередатчика.
Последние виды модуляции хороши тем, что прием сигналов оказывается мало зависящим от постоянства условий распространения электромагнитных колебаний и положения передающих антенн по отношению к приемным антеннам. В приемном устройстве модулированные по частоте колебания после соответствующего усиления подаются на вход ограничителя, где амплитуды сигнала выравниваются и тем самым ослабляется влияние условий распространения и других помех на качество воспроизведения изображения. С выхода ограничителя сигналы подаются на помехозащитные устройства, а затем на частотный детектор, На выходе детектора получают сигналы изображения, которые усиливаются и подаются к устройствам записи сигналов изображения или к воспроизводящим устройствам. Применение этих методов передачи неподвижного изображения оказывается возможным при узкой полосе частот. При широкой полосе передаваемых частот чаще используют амплитудную модуляцию несущей частоты. При этом, однако, передача получается наименее защищенной от различных помех. Амплитудная модуляция используется преимущественно для передачи сигналов движущегося изображения в телевизионном вещании.








