Текст книги "Эго, голод и агрессия"
Автор книги: Фредерик Перлз
Жанр:
Психология
сообщить о нарушении
Текущая страница: 12 (всего у книги 24 страниц)
В обеих историях интроецированные объекты, несмотря на то, что проглочены, не ассимилируются, но остаются целыми и невредимыми. Или все-таки права теория либидо, и волк совершенно не был голоден, а просто влюблен в бабушку?
Глава 6. Комплекс пустышки
Вероятно, наиболее интересным из всех оральных сопротивлений можно считать «пустышечное» отношение. Хотя наши познания этого явления все еще ограничены, достаточное количество наблюдений оправдывает их публикацию. Открытие «комплекса пустышки» пролило свет на целый ряд неясностей, возникающих в ходе анализа, и я надеюсь, что как только оно будет проверено другими аналитиками, оно еще не раз сделает свой вклад в исследования, особенно касающиеся вопроса фиксаций.
Для того чтобы разобраться в «пустышечном» отношении, необходимо снова вернуться к грудничку и к тем трудностям, которые возникают у него при переходе к стадии кусания. Основной род деятельности грудничка сводится к присасыванию, которое не является ни «прокусыванием насквозь», ни откусыванием от груди кусочка, но обеспечивает конфлюэнцию между матерью и ребенком. Таким образом, только начало процесса кормления представляет какие-либо сознательные затруднения; как только младенец превратил свой рот в вакуумный насос и молоко начинает течь, от него не требуется никаких дальнейших усилий. Регуляция движений младенца осуществляется на подкорковом, подсознательном уровне, и по ходу кормления ребенок постепенно засыпает. Только через несколько недель после рождения можно наблюдать другие виды сознательной деятельности, связанные с процессом кормления, вроде сознательного выталкивания соска изо рта или сознательных сосательных движений.
Конфликт может возникнуть, когда у ребенка начнут расти зубы. Если молока течет недостаточно, то Эго подталкивает ребенка к мобилизации всех имеющихся в его распоряжении средств для достижения удовлетворения, что подразумевает использование окрепших десен и попыток кусать. Любая фрустрация на этой стадии, любое отлучение от груди без немедленной замены жидкой пищи более твердой приведет к дентальной задержке. У ребенка появится впечатление, что попытки укусить не восстанавливают равновесие, а скорее наоборот – еще более нарушают его, и, следовательно, к вырабатывающему молоко объекту необходим подход ни в коей мере не отличающийся от того, что был раньше. Различения на грудь, которая должна оставаться нетронутой, и пищу, которую надо кусать, жевать и разрушать, не происходит.
Эта ранняя дентальная задержка ведет к развитию двух определенных черт характера: присасывающемуся отношению (фиксации) с одной стороны, и «пустышечному» отношению – с другой.
Люди, обладающие этими свойствами, цепляются за человека или вещь и думают, что этого окажется достаточно для того, чтобы «молоко потекло» само по себе. Они могут приложить громадные усилия для того, чтобы заполучить кого-то или что-то, но как только они этого добиваются, то сразу же расслабляются. Они пытаются упрочить любые отношения на самых первых порах; поэтому у них могут быть сотни знакомств, но ни одно из них не перерастает в настоящую дружбу. Что касается сексуальных отношений, то в них происходит лишь завоевание партнера, а затем завоеванные отношения быстро становятся неинтересными, наступает равнодушие. Наблюдается поразительное различие в отношение к партнеру до и после свадьбы. Пословица гласит: «Женщины могут плести сети, но не строят клеток».
В подобных случаях отношение к работе и к учебе страдает по тем же причинам. Они знают кое-что обо всем, но не могут добиться ничего, что требовало бы каких-то особых усилий. Им достается в основном рутинная, автоматическая (механическая) работа, не требующая творческой жилки. Короче говоря, их целью остается, как и у младенца, успешное присасывание, которое восстанавливает равновесие и избавляет от необходимости дальнейшего труда (кусания).
Но во взрослой жизни присасывающееся отношение может привести к полному успеху лишь случайно. В большинстве случаев приходится устанавливать настоящий контакт – справляться с насущными задачами, «вгрызаться» в них, продолжать сохранять интерес и работоспособность в течение определенного промежутка времени – с тем, чтобы извлечь какую-то пользу для своей личности.
Как люди справляются с недостатками цепляющегося, присасывающегося отношения? Как им удается обойти необходимость кусания? Как они могут избавиться от излишней агрессивности, которая неизбежно возникает из-за неудовлетворенности отношением (чувство обиды), без опасности (как они это чувствуют) вызвать изменения и разрушения?
Если существует фиксация на инфантильном отношении, мы можем ожидать, что способы, посредством которых оно поддерживается, в равной степени инфантильны. Фрустрированный и неудовлетворенный ребенок ищет (и иногда ему даже дают) соску, что-то неразрушимое, то, что можно кусать без неприятных последствий. Пустышка позволяет разрядить определенную долю агрессивности, но кроме этого она не производит в ребенке никаких изменений; то есть не кормит его. Соска представляет собой серьезную помеху развитию личности, поскольку в действительности она не утоляет агрессию, а отводит ее от биологической цели, состоящей в утолении голода и восстановлении личностной целостности.
Все, что окажется у ребенка под руками, может служить в качестве соски: подушка, плюшевый медвежонок, кошачий хвост или собственный большой палец. В более поздние годы любой объект может быть «думмифицирован»38, уподоблен пустышке, стоит лишь применить к нему «присасывание». В подобных случаях индивидуум живет в смертельном страхе, что «пустышка» трансформируется в «реальную вещь» (исходно это грудь) и что присасывание может обернуться «первым укусом». Он боится, что объект фиксации может быть уничтожен. Данный объект может быть человеком, принципом, научной теорией или фетишем. В то время пока я пишу эту книгу, англичане испытали сильное огорчение, потому что им пришлось от одной из таких идей отказаться. Идея линкора была неоценена. Линкор стал для них фетишем, но на практике он представляет собой лишь очень дорогую и неуклюжую безделушку, пригодную только «для того, чтобы быть потопленной», как выразился известный политик.
Парламентские дискуссии часто думмифицируются (и даже мумифицируются). Вместо того, чтобы претворять в действия, идеи заговаривают до смерти и дела оказываются в тупике в результате того, что комиссия отфутболивает их в подкомиссию, а та – в другую подкомиссию. Вместо прогресса и интеграции наступает застой, состояние дел, в возникновении которого наибольшая заслуга принадлежит склонности к бесконечным разговорам, желанию сохранить все как оно есть, нетронутым. Существующая система ни при каких обстоятельствах не должна быть разрушена; пустышка или фетиш должны быть сбережены.
Пустышка как объект, остающийся в целости и сохранности, служит идеальным экраном для проекции стремления индивидуума к целостности. Чем больше холистичсских функций проецируется, тем больше вероятность того, что они окажутся потерянными для построения личности, тем сильнее будет дезинтеграция и тем заметней опасность развития шизофрении. Однако до тех пор, пока действительность обеспечивает соску, она служит очень важной цели: не дать индивиду соскользнуть в состояние паранойи (экстенсивное проецирование агрессии), занимая его пусть и непроизводительной, но реальной деятельностью.
Но, как в случае обсессивного характера, все попытки сохранить вещи в исходном состоянии обречены на неудачу. Недостаток изменений, то есть отсутствие такого приложения агрессивности, которое пошло бы на пользу целостности личности, приводит к ее распаду, действуя таким образом вопреки своей собственной цели. Только с помощью возвращения деструктивного стремления обратно на пищу, равно как и на все, что служит препятствием к достижению личной целостности, восстановления в правах успешной агрессии, возможна реинтеграция обсессивной и даже параноидальной личности.
Вряд ли найдется хоть что-то, что не могло бы послужить в качестве пустышки, пока Эго помогает избежать перемен в действительности. Возьмите для примера навязчивые мысли, которые могут преследовать пациента часами, занимая его сознание, и не приводить ни к каким решениям или выходам (хроническое сомнение). Возьмите сексуальный фетишизм, фиксацию человека, например, на женских панталонах или туфельках в качестве защиты от реального полового контакта. Возьмите мечтателя, предпочитающего свои фантазии «реальной вещи». Далее, возьмите хотя бы тех пациентов, которые продолжают посещать психоаналитика год за годом и воображают, что одно их присутствие на сеансах является достаточным доказательством намерения изменить свое отношение к жизни. На самом деле, они лишь меняют одну «пустышку» на другую, и как только аналитик затрагивает какой-либо существенный комплекс, пациент обычно ухитряется избежать потрясения благодаря собственной думмификации, «опустышечивания» себя.
Крайний случай такого рода представлял пациент, который всякий раз, когда ему приходилось сталкиваться с жизненными затруднениями, становился совершенно одеревеневшим. Он чувствовал себя так, будто он кукла, и все его жалобы, весь его интерес был сосредоточен на своей «пустышке» – собственной мумифицированной личности. Другой пациент в любой затруднительной ситуации продуцировал навязчивую идею, воображая, что сквозь его тело проходят ножи, не вызывая боли или кровотечения. В своей фантазии он превращался в идеальный манекен, которому была нипочем любая вспышка агрессии. В иных случаях люди просто начинают ощущать сонливость или вялость всякий раз, когда замечают грозящую «опасность».
Классическая психоаналитическая ситуация, когда пациент почти не осознает присутствия аналитика, особенно подходит для думмификации. Здесь пациента действительно поощряют к тому, чтобы рассматривать ситуацию анализа не как «реальную» и аналитика не как «реального» человека; таким образом взаимоотношения между аналитиком и пациентом становятся целиком «нереальными», то есть чем-то таким, что само по себе не имеет смысла и последствий. Любая эмоция или реакция интерпретируются как проявление «переноса», другими словами, как что-то не относящееся непосредственно к данному моменту и данной ситуации. Итак, аналитическая ситуация предстает идеальной «пустышкой», которую ищут все обладатели обсессивных и параноидальных характеров. Это относится и к фиксации на анализе тех пациентов, которые способны продолжать годами ходить к аналитику, не обращая внимания – или, скорее всего, именно поэтому – на безуспешность этого занятия.
Глава 7. Эго как функция организма
(а) ИДЕНТИФИКАЦИЯ / ОТВЕРЖЕНИЕ
Когда мы пытаемся применить на практике полученные ранее выводы, мы встречаем очевидное противоречие: утверждение, что здоровое Эго не имеет субстанции, расходится с моим требованием, что аналитику следует иметь дело с Эго, а не с Бессознательным. Противоречие снимется, если мы подыщем для этого требования подходящее выражение: аналитику следует заставить работать функцию Эго вместо того, чтобы призывать к Бессознательному.
Функция легких состоит главным образом в газо– и парообмене между организмом и окружающей средой. Легкие, газы и пар – вещи конкретные, но сама функция абстрактна и все же реальна. Эго, как я подчеркиваю, также является функцией организма. Это не вещественная его часть, а скорее функция, которая прекращает действовать, например, во время сна или комы и для которой невозможно найти никакого физического эквивалента ни в мозгу, ни в любой другой части организма.
Концепция Эго как субстанции довольно широко распространена в среде психоанализа. Приведу один пример: Штерба рассматривает лечение психоанализом как создание изолированных островков Эго, которые с течением времени должны будут объединиться в одно прочное и надежное целое.
Другой аналитик, Федерн, также утверждает субстанциональность Эго. На его взгляд, Эго состоит из таинственного материала под названием «либидо». Либидо, вдобавок к тому, что может занимать образы и эрогенные зоны, питать энергией различные виды деятельности и быть представителем объектных инстинктов, теперь наделяется способностью расширяться и сжиматься. В то же время дуалистическая концепция либидозных объектных инстинктов, противопоставленных инстинктам Эго, благополучно забыта. Несмотря на теоретическую путаницу, в наблюдениях Федерна присутствует ценное ядро: его либидозное Эго имеет изменчивые границы. Отказавшись от теории либидо, мы увидим, что идея границ Эго может существенно помочь нам в понимании его.
Два утверждения Фрейда увеличивают путаницу: (а) Эго отделяется от Бессознательного; (б) Бессознательное содержит в себе подавленные желания. Если желание подавляется, оно должно было быть достаточно сильным для того, чтобы заявлять от имени Эго («Я» хочу...). Противоречие разрешается, однако, как только мы начнем понимать, что существует два вида Бессознательного: биологическое Бессознательное (в том смысле, в каком это имел в виду философ Гартман) и психоаналитическое Бессознательное, состоящее из прежде сознательных элементов. Мы можем теперь заключить: Эго отличается от биологического Бессознательного, но из этого следует, что определенные аспекты Эго оказались подавленными и сформировали психоаналитическое «Бессознательное». Принадлежность последних к Эго очевидна для наблюдателя, но не для пациента. Когда, к примеру, страдающий неврозом навязчивости человек говорит: «В глубине души у меня имеется смутное чувство, что я могу испытать импульсивный порыв, в результате которого с моим отцом, который мне совершенно не нравится из-за его дурных привычек, приключится какая-нибудь беда!», он первоначально подразумевает под этим: «Я хотел бы убить этого борова».
Фрейд пишет далее об Эго, что оно управляет моторной системой. Это утверждение указывает на то, что Эго не тождественно личности в целом. Если «Я» отдает приказания моторной системе, оно должно отличаться и находиться в стороне от нее: генерал, возглавляющий армию, является ее частью, но отделен от остальной армии.
Итак, если я говорю: «Я еду в город X», мое Эго представляет мою личность в целом. Приводящий в замешательство ряд утверждений без какого-либо центрального понятия! Для того, чтобы продемонетрировать свою собственную концепцию Эго, я должен сперва увеличить это замешательство, но не путем дальнейшего нагромождения теоретических положений, а путем показа еще некоторых практических аспектов Эго.
Ниже представлен ряд аспектов Эго таким образом, чтобы противопоставить каждый из них его противоположности, как мы ранее поступили с термином «актер».
Эго является
функцией
функцией контакта
построением «фигура-фон»
неуловимым
активно вмешивающимся
самосознанием
ответственной инстанцией
само по себе пограничным феноменом
спонтанным
слугой и исполнителем воли организма
возникающим в эктодерме
идентификацией/отвержением
В противоположность
субстанции
конфлюэнции
деперсонализации и сну без сновидений
устойчивому
организмической саморегуляции
осведомленности о другом объекте
Ид
объекту со своими границами
внимательному «по долгу службы»
хозяину в своем доме
мезодерме и эндодерме
чувством безразличия
Психоаналитическое разделение на Ид, Эго и Супер-Эго, или Эго-Идеал, составляющие человеческую личность, может помочь нам сориентироваться на первых порах.
Фрейд использует понятия Супер-Эго и Эго-Идеал почти синонимично; но, тем не менее, мы можем разделить их, обозначив первое как совесть, а второе как идеалы, и описать следующим образом:

Совесть агрессивна и выражает себя главным образом в словах; агрессия направляется от совести на «Эго», напряжение, возникающее между совестью и Эго, переживается как чувство вины.
Идеалы по большей части существуют в виде наглядных образов; основная эмоция – любовь, она направляется от Эго к идеалу; напряжение между Эго и идеалом ощущается как неполноценность.
Ид выражает инстинкты, проявляющиеся в ощущениях; напряжение, возникающее между Эго и Ид – влечение, побуждение, желание и т.д.
Мы можем теперь применить данную концепцию на практике для разбора следующего примера: маленький мальчик чувствует желание стащить сладости. При этом, как и многие другие дети, он одержим идеалом взрослости, а взрослые большие дяди, в его представлении, не таскают сладости; поэтому он решает, что должен перебороть аппетит. Вдобавок его совесть говорит ему, что красть грешно. Переживая три чувства одновременно, его бедное Эго оказывается пойманным меж трех огней. Но он все же не ощущает свое Эго как субстанцию. Здоровый ребенок не думает, что «идеал навязывает себя мне; голод мучит меня, а моя совесть воспрещает мне красть сладости». Он думает иначе: «Я хочу быть взрослым; я голоден, но я не должен красть сладости».
С объективной точки зрения его сознательное переживание определяется совестью, идеалами и Ид, но вряд ли он субъективно отдает себе в этом отчет. Он достигает субъективной интеграции при помощи процесса идентификации – он чувствует, что нечто является частью него или он сам является частью чего-то еще.
Таким образом, я соглашаюсь с Фрейдом в том, что Эго тесно связано с идентификацией. Однако Фрейд не обращает внимания на фундаментальное различие между здоровым и патологическим Эго. У здоровой личности идентификация есть функция Эго, тогда как патологическое «Эго» построено на основе интроекций (субстанциональных идентификаций), которые определяют и ограничивают диапазон чувств и поступков личности. Супер-Эго и Эго-идеал неизменно содержат в себе определенное количество устойчивых идентификаций, но частично бессознательных. Если идентификации Эго оказываются постоянными вместо того, чтобы действовать в соответствие с требованиями меняющейся ситуации и исчезать с восстановлением организмического баланса, Эго становится патологическим39.
Проблема возникает и с самим термином «идентификация», имеющим различные значения, например, копировать кого-либо, быть на чьей-либо стороне, заключать, что две вещи суть одно и то же, испытывать симпатию или проявлять понимание. Различные аспекты одного и того же слова ответственны за появление в психоанализе двух противостоящих теорий: Федерна и Фрейда.
Мнение Фрейда о том, что любое Эго строится из идентификаций или интроекций (в смысле подражания кому-то, поведения «как будто бы» это кто-то другой), можно отнести только к тому типу людей, у которых образовался своего рода Эго-конгломерат – фиксированный взгляд на жизнь, или ригидный, или искусственный характер. В случае ригидного характера мы видим, что действие функций Эго почти полностью приостановлено, поскольку личность ограничила себя привычками и поведение ее стало автоматическим. Фрейд осознавал этот факт и говорил, что анализ только тогда может быть успешен, когда характер еще не окаменел. Полная идентификация (например, с условностями) вызовет внутри такого рода личности сильнейшие конфликты, как только Эго придется действовать в согласии и по указке инстинкта (и идентифицировать себя с ним), которого Эго не одобряет в соответствие со своими принципами. Может случиться, человек будет умирать от голода, но присвоить кусок хлеба будет казаться ему таким ужасным преступлением, что Эго оттолкнет его от осуществления своего желания. Он скорее умрет, нежели подвергнет себя риску попасть на пару дней в тюрьму.
В деле воспитания такая строгая мораль может привести к серьезным недоразумениям. Когда недостаток углеводов побуждает ребенка таскать сладости отовсюду, где бы они ни лежали, родители (проецируя свои добропорядочные взгляды на ребенка) могут быть очень обеспокоены тем, какого бандита они произвели на свет.
(б) ГРАНИЦА
Поскольку термин «идентификация» стал синонимом интроекции, Федерн (возможно понимая, что интроекция не единственная форма идентификации) разработал концепцию Эго и его границ. Его теория сильно продвигает нас вперед в понимании некоторых функций Эго, если мы проигнорируем некоторые ошибочные моменты.
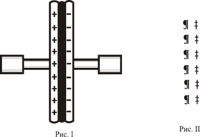
Для демонстрации диалектики границ Эго нам может послужить пример физического явления:

Две металлические пластины, А и Б, разделены изолирующей прослойкой. Если одна пластина конденсатора заряжена положительно, то на другой соберутся отрицательные заряды; но при непосредственном контакте положительные и отрицательные заряды нейтрализуют друг друга (рис. 10). Границы Эго ведут себя точно таким же образом. Необходимо лишь заменить + и – на ¶ и ‡, которые обозначаются в психоаналитической терминологии как либидо и враждебность (рис.11)40.
Федерн предполагает, что Эго является либидинозной субстанцией с постоянно изменяющимися границами. Под этим подразумевается, что мы идентифицируем себя со всем, что кажется нам знакомым или принадлежащим нам. Наше Эго, по Федерну, способно сужать свои границы до размеров личности или расширять их за ее пределы.
При неврозе навязчивых идей функции Эго оказываются особенно ограниченными: желание смерти, как выше упоминалось, отрицается; оно не признается принадлежащим «Я». Человек с обсессивным характером отказывается принимать на себя ответственность или идентифицировать себя с подобными мыслями – ответственность и вина сливаются у него воедино. Всякие запреты и подавления сужают границы Эго.
Мы расширяем границы нашего Эго, когда идентифицируем себя со своей семьей, своей школой (традиции школьного коллективизма), своей футбольной командой, своей страной. Мать способна защищать своего ребенка так, «как будто» она сражается за себя самое; если к футбольной команде отнеслись несправедливо, любой из ее членов способен отомстить, «как будто» оскорбили его лично.
Во всех этих случаях объект идентификации остается вне личности. Он не интроецируется и идентификация оказывается воображаемой («как если бы», «как будто»). Никто не нападал на мать, никто лично не оскорблял игрока команды.
Господин X видит дом и говорит: «Я вижу дом». Он не говорит: «Зрительная система в организме господина X видит дом». Он идентифицирует себя с этой своей системой. В следующее мгновение дом может отступить на задний план сознания, и он обнаружит, что его внимание сосредоточилось на каких-то голосах. Он может сказать: «Я слышу голоса» или иначе: «Я слышу голоса», тем самым делая упор на противопоставлении себя другим людям, которые могли не слышать ни звука.
Теперь давайте предположим, что он слышал голоса, но рядом никого не было. Если он идентифицирует себя с тем, что ему все это почудилось, и говорит: «Мне почудилось, что я слышал голоса», его Эго работает правильно; но если он идентифицирует себя с содержанием своей галлюцинации, не понимая того, что это было воображаемой, «псевдо»-идентификацией, он ведет себя так, «будто бы» на самом деле слышал чьи-то голоса.
Сама по себе «псевдо»-идентификация не патологич-на; под эту категорию подпадает лишь принятие воображаемой идентификации за настоящую. Иногда воображаемые идентификации до такой степени накапливаются, что приходится говорить о «псевдо»-характере (X.Дойч). «Псевдо»-идентификации встречаются в случае интроекции (ребенок, играющий в дочки-матери), равно как и при расширении границ Эго.
Соответствующее «псевдо»-отчуждение присутствует в подавлении, проекции и подобном же сужении границ Эго. Хотя пациент утверждает, что такие-то и такие-то мысли – не его мысли, фактически они принадлежат его личности: отчуждение путем подавления и проецирования, в итоге, никогда не бывает успешным. Психоанализ признает этот факт, называя его «возвращением подавленного».
В функции идентификации/отвержения мы снова можем наблюдать действие холизма. Мы видим образование целостностей: единство матери и ребенка, объединение группы людей в клуб; чем сильнее его члены будут идентифицировать себя с клубом, тем прочнее окажется его структура, порою даже вплоть до окостенения. Сужение границ также происходит с целью сохранить целое. Те части личности, которые очевидно представляют опасность для принятого целого, приносятся в жертву. («Если же правый глаз твой соблазняет тебя, вырви его и брось от себя».) Подобной же идеей руководствуются устроители политических чисток.
Теория Федерна обнаруживает в себе определенную ошибочность и односторонность. Ошибка состоит в том, что он рассматривает Эго в качестве субстанции, обладающей границами, в то время как, по моему мнению, Эго как таковое состоит исключительно из пограничья, из зон контакта. Только там и тогда, когда «Я» сталкивается с чем-то «чуждым», Эго приходит в действие, вступает в игру, определяя границу между «областями» личного и безличного. Односторонность Федерна проявляется в том, что он обращает внимание лишь на интеграционную энергию либидо, упуская из виду одновременное появление ‡.
Игроки футбольной команды стремятся слиться в единое целое (¶). Члены одного клана более привязаны друг к другу (¶), нежели члены другого клана. Идеологии объединяют тех, кто в них верит (¶). В смутное время, когда существует угроза национальной безопасности, сплоченность граждан имеет первостепенное значение для обороны.
Здоровый холизм предполагает взаимную идентификацию. Команда, не отождествляющая себя со своими членами – не защищающая их интересы и вознаграждающая их за преданность – обречена на распад; ‡, которое накапливается в коллективе и находится за его пределами, обращается на индивидуумов.
Федерн не рассматривает границу Эго снаружи, оттуда, где скапливается ‡. Точно так же, как накопление положительных зарядов на одной пластине конденсатора сопровождается аккумуляцией противоположно заряженных частиц на другой пластине, интеграционные энергии в пределах границ Эго снаружи дополняются враждебностью.
Когда бы ни встретились два целостных образования, их держит вместе и отделяет друг от друга более или менее явная враждебность. Две футбольные команды выказывают это в мягкой форме в соперничестве между собою в общем и в матчах, в частности. Между школами существуют соревнования, между народами – войны. Семья Смитов задирает нос перед семьей Браунов, которая, в свою очередь, презирает членов семьи Смитов. Монтекки и Капулетти дают пример враждебно настроенных кланов; но Ромео и Джульетта прорываются сквозь эти границы, их желание быть вместе гораздо сильнее семейных уз.
Чем более враждебен внешний мир, тем сильнее оказывается интегративная функция у индивидуумов и групп. В момент опасности организм мобилизует все имеющиеся в его распоряжении способности; всякий раз, когда страна подвергается нападению извне, внешняя агрессия способна привести к сплочению сограждан. Мать, которая только что злилась на ребенка, в следующее мгновение бросится защищать его от постороннего обидчика.
Любовь представляет собой идентификацию с объектом («мой/моя»); ненависть – его отвержение («прочь от меня!»). Желание быть любимым проявляется в стремлении к тому, чтобы объект идентифицировал себя с желаниями и запросами субъекта. Сильная взаимная любовь описывается в выражениях вроде «едины душой и телом» и т.д. При половом сношении взаимная идентификация – непременное условие; «муж и жена – едина плоть», говорится в Библии.
Границей между двумя фермами служит забор. Забор указывает на контакт между фермами, но в то же время и изолирует их друг от друга. Во времена кочевников границ не существовало – было свободное перетечение, конфлюэнция. С частной собственностью пришло разделение земли, между соседями создавались дружеские и враждебные отношения. Если сегодня объединить фермеров в коллективы, конфлюэнция будет восстановлена, но границы между коллективными хозяйствами (ср. с социалистическим соревнованием в России) останутся. Конфлюэнция также будет иметь место в том случае, если некий фермер «возжелает» ферму соседа и присвоит ее себе.
Изоляция подчеркивает разделение, тогда как контакт делает упор на подход, целью которого будет снятие изоляции либо путем устранения враждебности и замены Я и Ты на Мы, либо путем превращения всей совокупности в «мое» или – вследствие отречения от объекта – «твое».
Является ли ¶ создателем ‡, или же происходит обратное? Оба предположения неверны. Между этими двумя функциями не существует каузальной связи. Когда бы и где бы ни образовывалась граница, ей присущи как функция контакта, так и функция изоляции. Обычно нет ни контакта, ни изоляции, поскольку отсутствует граница, вместо которой наблюдается конфлюэнция. Процессу конфлюэнции препятствуют ¶ и ‡, либидо и агрессия, дружба и враждебность, чувство знакомого и незнакомого и вообще все, что было выбрано в качестве объекта оттягивания энергии на создание границы.
Хорошим примером одновременного действия ¶ и ‡ может служить замешательство. Здесь одновременно проявляются тенденции к установлению контакта (эксгибиция, «показ» себя) и к тому, чтобы спрятаться. Его предварительная стадия – смущение. Застенчивому ребенку открыты обе возможности: и возникновение привязанности, и отделение. Застенчивость, таким образом, есть нормальная фаза детского развития; но панибратство с каждым встречным-поперечным или уклонение от любого контакта, если они выступают в качестве постоянного отношения, а не адекватного ответа, становятся нездоровыми крайностями.
В результате исключительного идентифицирования себя с требованиями среды, интроекции идеологии и черт характера Эго утрачивает свою эластичную силу идентификации. На самом деле оно начинает функционировать практически только в роли исполнителя требований конгломерата принципов и фиксированных схем поведения. Супер-Эго и характер прочно заняли свое место, подобно тому как в наше время изготовленные машинным способом предметы заместили единичные изделия, выполненные вручную.
Глава 8. Раскол личности
Существует хорошо известная пословица, гласящая, что метла крепче того же количества отдельных хворостин. Не подтверждает ли эта пословица простой научный факт? Конечно, нет. Пословицы содержат в себе мораль. В этой имеется в виду, что, соединив несколько прутьев вместе, мы повышаем их способность к сопротивлению и делаем их куда лучше приспособленными для нападения! Или же наоборот: если вам нужна крепкая палка, некоторое количество связанных вместе палок потоньше вполне ее заменит!
Инегративная функция такого рода – еще один аспект Эго. Эго действует в роли, так сказать, администратора, связывая вместе действия всего организма с его первоочередными потребностями; можно сказать, что оно призывает те функции целого организма, которые служат для удовлетворения наиболее животрепещущей потребности. Как только организм идентифицировал себя с этой потребностью, он начинает всеми силами добиваться ее удовлетворения, проявляя враждебность по отношению ко всему, что этому мешает.
























