Текст книги "Большая Советская Энциклопедия (ШТ)"
Автор книги: Большая Советская Энциклопедия
Жанр:
Энциклопедии
сообщить о нарушении
Текущая страница: 10 (всего у книги 10 страниц)
Штуцер (деталь трубопровода)
Шту'цер, деталь трубопровода или его соединительного узла, представляющая собой втулку, один из концов которой имеет внутреннюю или наружную резьбу (см. рис. при ст. Штуцерное соединение ) для крепления к различным ёмкостям или трубопроводам. Форма др. конца Ш. зависит от способа присоединения к последующим деталям. Ш. называют также отрезок трубы небольшого диаметра (10—20 мм ) для выпуска воды или воздуха, отбора жидкости из трубопровода с целью измерения её давления.
Штуцерное соединение
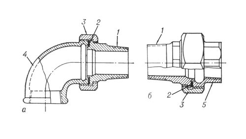
Шту'церное соедине'ние, разъёмное соединение частей трубопровода с различными ёмкостями и машинами при помощи штуцера . Элементами Ш. с., кроме штуцера, являются также уплотнит. прокладка, накидная гайка и переходная деталь (например, угольник, муфта), в которую ввинчивается присоединяемая труба (рис.). При отпущенной накидной гайке переходная деталь с ввинченной в неё трубой может поворачиваться относительно оси штуцера, при затянутой накидной гайке достигаются жёсткость и герметичность соединения.

Штуцерное соединение: а – с угольником; б – с муфтой; 1 – штуцер; 2 – уплотнительная прокладка; 3 – накидная гайка; 4 – угольник; 5 – муфта.
Штучный камень
Шту'чный ка'мень, условное название изделий из природного камня, в основном в виде блоков в форме прямоугольного параллелепипеда, используемых в естественном виде в строительстве и учитываемых при добыче в штуках (отсюда назв.) или в м3 .
В наибольших масштабах производится Ш. к., применяемый для кладки стен зданий, т. н. стеновой камень; изготавливается из пористых горных пород (известняки, вулканические туфы, ракушечники и др.), обладающих повышенными теплозащитными свойствами, относит. лёгкостью, способностью поддаваться обработке (резанию, тёске, околке и др.). Добывают его открытым, реже подземным способами при помощи камнерезных машин ,врубовых машин ,канатных пил . Стеновой Ш. к. производится 3 типов. Стеновой машинный Ш. к. с пилёной фактурой имеет (в СССР) стандартные размеры: из известняков – 19´19´39 см и 19´24 ´49 см , из туфов – 29´19´39 см . Масса их не превышает 40 кг , объёмная масса 1200—2200 кг /м3 . По пределу прочности на сжатие различают марки от 0,4 до 40 МПа /м2 (4—400 кгс/см2 ). Стеновой грубого окола Ш. к. добывается врубовыми машинами из туфов. Отёсывается с лицевой стороны на фрезерных станках или вручную; размеры 30´20´(30—55) см . Крупные стеновые блоки Ш. к. изготавливаются различных размеров, вплоть до блоков высотой, равной этажу здания. Лицевая грань пористых Ш. к. имеет пилёную, тёсаную и (редко) шлифованную фактуру. В СССР ежегодно производят св. 10 млн. м3 известняковых и 2 млн. м3 туфовых Ш. к.
Из плотных горных пород (гранитов, базальтов, мраморов и др.) изготавливают блоки-заготовки для последующей их разделки на облицовочные плиты (из декоративных горных пород) и камни для кладки частей зданий и сооружений (цоколи, подпорные стены и т.д.). Добыча – только открытым способом с применением взрывчатых веществ. Дальнейшая обработка производится с применением пневматического или термоструйного инструмента (гранит), фрезерного инструмента (базальт и др.) или вручную. Размеры гранитных Ш. к. (45 или 60)´17´(50 и более) см , базальтовых 30´20´ (30—60) см . Лицевая грань плотных Ш. к. имеет термоструйную, точечную, бороздчатую, рифлёную, тёсаную, полированную и другую фактуру.
В СССР Ш. к. производят на Украине (известняк, гранит), в Азербайджане (известняк), Молдавии (известняк), Армении (туф, базальт), Кабардино-Балкарской АССР (туф), Грузии (тешенит) и др. За рубежом – во Франции, Италии, Великобритании, США, ЧССР, СФРЮ и др.
Лит.: Производство природных каменных стеновых материалов и легких заполнителей, М., 1962; Ацагорцян З. А., Природные каменные материалы Армении, М,, 1967; Григорович М. Б., Немировская М, Г., Минеральное сырье для промышленности строительных материалов и его оценка при геологоразведочных работах, М., 1974.
Штыб
Штыб (от нем. Staub – пыль), каменный уголь, крупность частиц которого менее 6 мм .
Штык
Штык (от польск, sztych), холодное колющее оружие, примыкаемое к стволу ружья (с 19 в. – винтовки, карабина, автомата) для штыкового боя. Ш. появился в середине 17 в. во Франции (назывался байонет). Первоначально – укороченное копье, древко которого вставлялось в канал ствола ружья; в кон. 17 в. стали изготовлять цельнометаллический Ш. с трубкой, насаживавшейся на ствол. Это позволяло производить заряжание и стрельбу с примкнутым Ш. В России Ш. был принят в начале 18 в. В различных армиях существовали Ш. гранёные (3-и 4-гранные), клинковые (Ш.-тесак), отъёмные и неотъёмные. На вооружение советских войск после 2-й мировой войны 1939—45 поступил Ш.-нож – плоский клинок (с одной стороны с зубьями) с рукояткой для удержания в руке, приспособлением для примыкания к оружию и ножнами; может использоваться и как пила.
Штыков Терентий Фомич
Штыко'в Терентий Фомич [28.2(13.3). 1907, дер. Любки, ныне Городокского района Витебской обл., – 25.10.1964, Москва], советский партийный, военный деятель, генерал-полковник (1944). Член КПСС с 1929. Родился в крестьянской семье. Окончил профтехшколу (1927), с 1938 2-й секретарь Ленинградского обкома ВКП (б), во время советско-финляндской войны 1939—40 одновременно член Военного совета 7-й армии. В Великую Отечественную войну 1941—45 член Военного совета Северо-Западного (1941—42), Ленинградского (1942—43), Волховского (1943—44) и Карельского (1944) фронтов. С апреля 1945 член Военного совета Приморской группы войск, с августа 1945 по октябрь 1945 – 1-го Дальневосточного фронта. После войны член Военного совета (1945—47) и заместитель командующего войсками Приморского военного округа по политчасти (1947—48). В 1948—51 чрезвычайный и полномочный посол СССР в КНДР. В 1951—59 на партийной работе (секретарь обкома, крайкома и др.). С апреля 1959 чрезвычайный и полномочный посол СССР в ВНР. С 1961 председатель Комиссии Государственного контроля Совета Министров РСФСР, с февраля 1963 заместитель председателя Комитета партийно-государственного контроля Бюро ЦК КПСС по РСФСР и Совета Министров РСФСР. В 1939—52 кандидат в члены ЦК ВКП (б), в 1956—61 член ЦК КПСС. Депутат Верховного Совета СССР 1, 2, 4, 5-го созывов. Награжден 3 орденами Ленина, орденами Красного Знамени, Суворова 1-й степени, 3 орденами Кутузова 1-й степени и медалями.
Штык-юнкер
Штык-ю'нкер, первый младший офицерский чин в русской артиллерии, введённый Петром I в 1712 и существовавший до конца 18 в. Согласно Табели о рангах, относился к 13-му классу.
Штырбул Кирилл Антонович
Шты'рбул (Штирбул, Штирбу) Кирилл Антонович [р. 17.2(2.3).1915, с. Бруштены Рыбницкого района], молдавский советский актёр, народный артист СССР (1960). Член КПСС с 1947. В 1937 окончил театральное училище в Одессе, вступил в труппу 1-го молдавского драматического театра в Тирасполе (ныне Молдавский академический музыкально-драматический театр им. Пушкина, Кишинев). Один из первых создателей на молдавской сцене образа В. И. Ленина («Кремлёвские куранты», «Человек с ружьем» Погодина, «Именем Революции» Шатрова). Лучшие роли: Швандя («Любовь Яровая» Тренева), Труффальдино («Слуга двух господ» Гольдони), Городничий («Ревизор» Гоголя), Лир («Король Лир» Шекспира), Швейк («Швейк во второй мировой войне» Брехта); в музыкальных спектаклях – Фома («Вольный ветер» Дунаевского), Сусик («Трембита» Милютина) и др. Член ЦК КП Молдавии в 1963—76. Депутат Верховного Совета Молдавской ССР 2—4-го созывов. Государственная премия Молдавской ССР (1970). Награжден орденом Ленина, орденом Октябрьской Революции, орденом Трудового Красного Знамени и медалями.
Штыревая антенна
Штырева'я анте'нна , антенна в виде несимметричного вибратора , выполненного из жёсткого металлического стержня (сплошного или состоящего из нескольких сочленяющихся звеньев) либо из большого числа металлических катушек, нанизанных на гибкий стальной трос (т. н. антенна Куликова). Реже применяются Ш. а. из профилированной металлической ленты, проволочных жгутов или металлизированных диэлектрических стержней. Диаграмма направленности излучения (приёма) Ш. а. в горизонтальной плоскости имеет форму круга (см. рис. 2 ), поэтому такая антенна особенно удобна при связи между наземными объектами с изменяющимся во времени взаимным расположением, например между передвижными радиостанциями (установленными в автомобилях, танках и т.п.).
Лит.: см. при ст. Антенна .

Рис. 2. Вертикальный несимметричный вибратор: а – схема: 1 – провод (излучатель); 2 – клеммы, присоединяемые к передатчику; 3 – направление в точку наблюдения; 4 – система заземления; 5 – поверхность земли; б – диаграмма направленности в вертикальной плоскости; в – диаграмма направленности в горизонтальной плоскости.
Штырь
Штырь (от нем. stier – неподвижный), гладкий цилиндрический стержень преимущественно с коническим концом, служащий для центрирования и направления соединяемых (обычно по плоскости) разъёмных частей конструкций.
Штюргк Карл
Штюргк (Stürgkh) Карл (30.10.1859, Грац, – 21.10.1916, Вена), граф, австрийский государственный деятель. В 1908—11 министр просвещения, с 1911 глава правительства. Правительство Ш. в марте 1914 распустило рейхсрат, во внешней политике способствовало развязыванию 1-й мировой войны 1914—18. Убит Ф. Адлером.
Штюрмер Борис Владимирович
Штю'рмер Борис Владимирович [1848 – 20.8(2.9).1917, Петроград], русский государственный деятель, крупный помещик. Окончил юридический факультет Петербургского университета, служил в министерствах юстиции и двора, был губернатором Новгородской (1894) и Ярославской (1896) губерний. С 1902 директор Департамента общих дел министерства внутренних дел, один из ближайших сотрудников В. К. Плеве . С 1904 член Государственного совета. 20 января 1916, при поддержке Г. Е. Распутина , назначен председателем Совета министров, с 3(16) марта по 7 (20) июля 1916 одновременно министром внутренних дел, а с 7(20) июля – министр иностранных дел. Боролся против революционного движения и буржуазной оппозиции. 10(23) ноября 1916 уволен в отставку. После Февральской революции 1917 арестован; умер в Петропавловской крепости.








